TOP
|
特許
|
意匠
|
商標
特許ウォッチ
Twitter
他の特許を見る
10個以上の画像は省略されています。
公開番号
2025141220
公報種別
公開特許公報(A)
公開日
2025-09-29
出願番号
2024041069
出願日
2024-03-15
発明の名称
サーマルプリンタ
出願人
セイコーインスツル株式会社
代理人
個人
主分類
B41J
15/04 20060101AFI20250919BHJP(印刷;線画機;タイプライター;スタンプ)
要約
【課題】記録媒体の幅方向の位置ずれを抑制することができるサーマルプリンタを提供する。
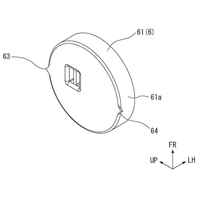
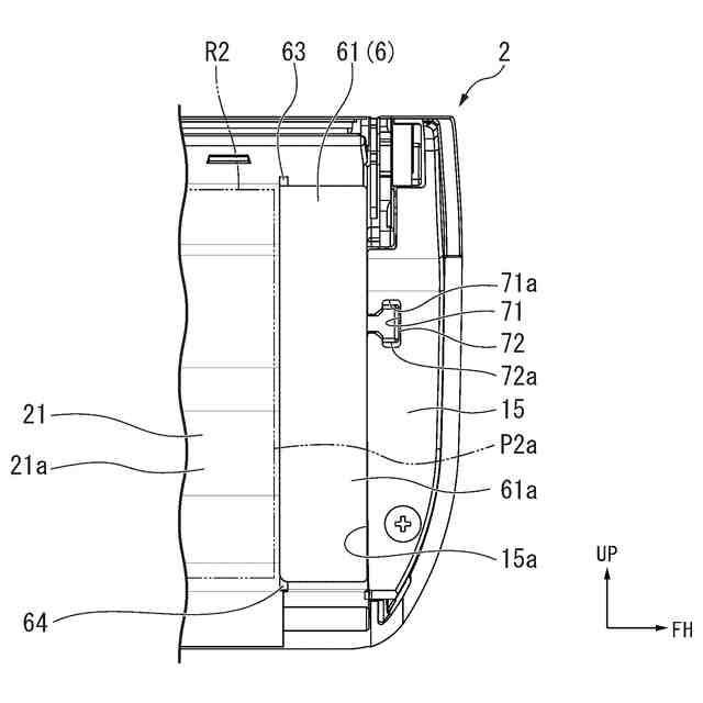
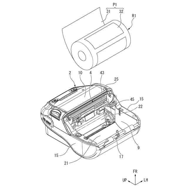
【解決手段】サーマルプリンタは、記録媒体P2が巻回されたロール体R2を収容する収容凹部21を有する筐体2と、ロール体R2から引き出された記録媒体P2に印字するサーマルヘッド43と、サーマルヘッド43に記録媒体P2を押し当てつつ記録媒体P2を搬送するプラテンローラと、収容凹部21に着脱可能に設置されてロール体R2の軸方向の移動を規制する1または複数のスペーサ61,62と、を備える。スペーサ61,62の外周縁61a,62aに、収容凹部21の内周面21aに近づく方向に突出する1または複数の凸部63,64が形成されている。
【選択図】図4
特許請求の範囲
【請求項1】
記録媒体が巻回されたロール体を収容する収容凹部を有する筐体と、
前記ロール体から引き出された前記記録媒体に印字するサーマルヘッドと、
前記サーマルヘッドに前記記録媒体を押し当てつつ前記記録媒体を搬送するプラテンローラと、
前記収容凹部に着脱可能に設置されて前記ロール体の軸方向の移動を規制する1または複数のスペーサと、
を備え、
前記スペーサの外周縁に、前記収容凹部の内周面に近づく方向に突出する1または複数の凸部が形成されている、
サーマルプリンタ。
続きを表示(約 560 文字)
【請求項2】
前記凸部のうち第1凸部は、前記収容凹部の横断面において前記サーマルヘッドに近い開口端の近傍に位置する、
請求項1記載のサーマルプリンタ。
【請求項3】
前記凸部のうち第2凸部は、前記収容凹部の横断面において前記サーマルヘッドから遠い開口端の近傍に位置する、
請求項2記載のサーマルプリンタ。
【請求項4】
前記凸部は、前記収容凹部の前記内周面に当接する、
請求項1記載のサーマルプリンタ。
【請求項5】
前記スペーサは、前記収容凹部の端面と前記ロール体の端面との隙間に応じた厚みを有する板状に形成されている、
請求項1記載のサーマルプリンタ。
【請求項6】
前記収容凹部の端面に、係止凹部が形成され、
前記スペーサの端面に、前記係止凹部に係止する係止突起が形成されている、
請求項1記載のサーマルプリンタ。
【請求項7】
前記スペーサは、前記収容凹部の両方の端部にそれぞれ設けられている、
請求項1記載のサーマルプリンタ。
【請求項8】
前記収容凹部は、幅が異なる複数の前記ロール体を選択的に設置可能である、
請求項1記載のサーマルプリンタ。
発明の詳細な説明
【技術分野】
【0001】
本発明は、サーマルプリンタに関する。
続きを表示(約 1,600 文字)
【背景技術】
【0002】
サーマルプリンタ(モバイルプリンタ)は、記録紙がロール状に巻かれたロール紙を収容する用紙収容部を有する。サーマルプリンタでは、幅が異なる複数の記録紙を使用できるように、用紙収容部に仕切り板を取り付けできる構造が採用されることがある(例えば、特許文献1を参照)。特許文献1に記載のサーマルプリンタでは、用紙収容部に、仕切り板を保持する板保持溝が形成されている。
【先行技術文献】
【特許文献】
【0003】
特開2011-161816号公報
【発明の概要】
【発明が解決しようとする課題】
【0004】
しかしながら、特許文献1に開示されるサーマルプリンタのように、仕切り板を板保持溝で保持する構造の場合、その板保持溝に対応する紙幅のロール紙しか使用できなかった。
一方、板保持溝および仕切り板を用いず、これに代えて、用紙収容部の形状に応じた円板状のスペーサ部材を使用する構造も提案されている。スペーサ部材は、着脱可能とする必要があるため、隙間嵌めによって用紙収容部に設置される。用紙収容部の内周面とスペーサ部材との隙間が大きい場合には、ロール紙から引き出された記録紙が搬送の過程で斜行または蛇行する可能性があった。記録紙の斜行または蛇行が起きると、記録紙の幅方向の位置ずれにより、適切な印字が難しくなることがあった。
【0005】
本発明の一態様は、多様な幅の記録媒体(例えば、ロール紙)に対応可能であり、かつ、記録媒体の幅方向の位置ずれを抑制することができるサーマルプリンタを提供することを目的とする。
【課題を解決するための手段】
【0006】
本発明の一態様に係るサーマルプリンタは、記録媒体が巻回されたロール体を収容する収容凹部を有する筐体と、前記ロール体から引き出された前記記録媒体に印字するサーマルヘッドと、前記サーマルヘッドに前記記録媒体を押し当てつつ前記記録媒体を搬送するプラテンローラと、前記収容凹部に着脱可能に設置されて前記ロール体の軸方向の移動を規制する1または複数のスペーサと、を備え、前記スペーサの外周縁に、前記収容凹部の内周面に近づく方向に突出する1または複数の凸部が形成されている。
【0007】
この構成によれば、スペーサの厚さは任意に定めることができる。そのため、収容凹部に仕切り板が嵌合する溝が形成された場合とは異なり、多様な幅の記録媒体に対応できる。すなわち、使用する記録媒体の幅に対応するスペーサさえあればロール体を位置決めできるため、収容凹部における収容空間の幅を無段階に調整することができる。
【0008】
この構成によれば、収容凹部内のロール体から記録媒体を引き出す際に、凸部によって、記録媒体の幅方向の移動を規制することができる。そのため、記録媒体の幅方向の位置ずれを抑制できる。よって、サーマルヘッドにおいて、記録媒体における適切な位置に印字を行うことができる。
【0009】
前記サーマルプリンタでは、前記凸部のうち第1凸部は、前記収容凹部の横断面において前記サーマルヘッドに近い開口端の近傍に位置していてもよい。
【0010】
この構成によれば、サーマルヘッドに近い位置で記録媒体の幅方向の位置ずれを規制できる。したがって、サーマルヘッドによって印字する際に記録媒体を正しい位置に配置できる。
第1凸部は、サーマルヘッドに近い開口端の近傍に位置するため、収容凹部の深さ方向のスペーサの位置がずれた場合でも、第1凸部と内周面との距離は大きくなりにくい。そのため、第1凸部による記録媒体の位置ずれ抑制効果が低下するのを抑えることができる。
(【0011】以降は省略されています)
この特許をJ-PlatPat(特許庁公式サイト)で参照する
関連特許
個人
箔熱転写装置
1か月前
シヤチハタ株式会社
印判
4か月前
東レ株式会社
凸版印刷版原版
10か月前
シヤチハタ株式会社
反転式印判
9か月前
三菱製紙株式会社
感熱記録材料
10か月前
キヤノン株式会社
記録装置
27日前
三光株式会社
感熱記録材料
6か月前
独立行政法人 国立印刷局
印刷物
7か月前
株式会社リコー
液体吐出装置
2か月前
株式会社リコー
液体吐出装置
7か月前
株式会社リコー
液体吐出装置
7か月前
独立行政法人 国立印刷局
貼付機構
2か月前
株式会社リコー
液体吐出装置
6か月前
独立行政法人 国立印刷局
貼付装置
1か月前
日本製紙株式会社
感熱記録体
7か月前
株式会社リコー
液体吐出装置
8か月前
独立行政法人 国立印刷局
記録媒体
8か月前
株式会社リコー
液体吐出装置
5か月前
株式会社リコー
画像形成装置
11日前
株式会社リコー
印刷システム
15日前
株式会社リコー
画像形成装置
1か月前
株式会社リコー
画像形成装置
15日前
株式会社リコー
液体吐出装置
4か月前
株式会社リコー
液体吐出装置
4か月前
ブラザー工業株式会社
プリンタ
8か月前
ブラザー工業株式会社
プリンタ
2か月前
ブラザー工業株式会社
プリンタ
9か月前
キヤノン株式会社
印刷システム
7か月前
キヤノン株式会社
画像形成装置
10か月前
キヤノン株式会社
画像形成装置
8か月前
キヤノン株式会社
画像記録装置
27日前
キヤノン株式会社
画像形成装置
10か月前
キヤノン株式会社
画像形成装置
3か月前
キヤノン株式会社
画像形成装置
1か月前
キヤノン株式会社
画像処理装置
4か月前
キヤノン株式会社
画像形成装置
8か月前
続きを見る
他の特許を見る