TOP
|
特許
|
意匠
|
商標
特許ウォッチ
Twitter
他の特許を見る
10個以上の画像は省略されています。
公開番号
2025140400
公報種別
公開特許公報(A)
公開日
2025-09-29
出願番号
2024039779
出願日
2024-03-14
発明の名称
クレーン
出願人
株式会社日立産機システム
代理人
青稜弁理士法人
主分類
B66C
13/22 20060101AFI20250919BHJP(巻上装置;揚重装置;牽引装置)
要約
【課題】
荷振れ量の抑制を実現したクレーンを提供する。
【解決手段】
ロープに取り付けた吊荷を上下方向に移動させる巻上装置と、巻上装置を搭載し水平方向に吊荷を移動させる水平移動装置を有するクレーンにおいて、当該クレーンのクレーン制御装置は、前記巻上装置及び前記水平移動装置のモータの運転情報から装置状態を推定する状態推定装置を有するクレーン。
【選択図】 図4
特許請求の範囲
【請求項1】
ロープに取り付けた吊荷を上下方向に移動させる巻上装置と、巻上装置を搭載し水平方向に吊荷を移動させる水平移動装置を有するクレーンにおいて、当該クレーンのクレーン制御装置は、前記水平移動装置のモータの運転情報から装置状態を推定する状態推定装置を有するクレーン。
続きを表示(約 1,100 文字)
【請求項2】
請求項1記載のクレーンにおいて、
前記状態推定装置は、前記モータの運転情報から、予め学習された状態推定式に基づき装置状態を推定するクレーン。
【請求項3】
請求項2記載のクレーンにおいて、前記モータ運転情報は、速度指令値と印加電流の少なくとも一つであるクレーン。
【請求項4】
請求項3記載のクレーンにおいて、
前記装置状態は、荷振れ角周波数、吊荷速度、荷振れ振幅・初期位相、荷振れ量、荷振れ速度の少なくとも一つを推定するクレーン。
【請求項5】
請求項1記載のクレーンにおいて、
前記推定状態装置はニューラルネットワークを用いているクレーン。
【請求項6】
請求項5記載のクレーンにおいて、
前記ニューラルネットワークは、前記装置状態によらない共有層と前記装置状態毎に異なる独立層で構成されるマルチタスクニューラルネットワークであるクレーン。
【請求項7】
請求項5に記載のクレーンにおいて、
水平移動装置及び吊荷に作用する力のつり合いから導出したモデル式に基づき水平移動装置の速度指令値から水平移動装置の推力を演算し、モデル式で演算された水平移動装置の推力と状態推定装置で推定された水平移動装置の推力との誤差が最小となるようにモデル式のパラメータを同定し、同定されたパラメータから荷振れ角周波数、荷振れ振幅・初期位相、荷振れ量、荷振れ速度、吊荷速度の少なくとも一つを導出するクレーン。
【請求項8】
請求項1から請求項7のいずれかに記載のクレーンにおいて、
吊荷速度指令値と、推定された前記装置状態から荷振れを抑制する制御出力を生成する荷振れ抑制制御装置を有するクレーン。
【請求項9】
請求項8に記載のクレーンにおいて、
前記推定された前記装置状態は荷振れ角周波数と吊荷速度を含み、前記荷振れ抑制制御装置は、吊荷速度指令値と推定された吊荷速度から荷振れを抑制する制御出力を生成し、前記荷振れ抑制制御装置のパラメータは、推定された荷振れ角周波数と等価な情報により逐次更新されるクレーン。
【請求項10】
請求項8に記載のクレーンにおいて、
前記推定された前記装置状態は荷振れ角周波数と荷振れの振幅と初期位相を含み、前記荷振れ抑制制御装置は、停止開始時の水平移動装置の速度と、推定された荷振れ角周波数と、荷振れの振幅と初期位相とから、水平移動装置の減速及び減速により生じる荷振れを打ち消す台形波速度指令波形のパラメータを生成し出力するクレーン。
(【請求項11】以降は省略されています)
発明の詳細な説明
【技術分野】
【0001】
本発明はクレーンに関する。
続きを表示(約 1,300 文字)
【背景技術】
【0002】
クレーンは、重量物の運搬用などの目的で広く用いられている。その際、運搬の被対象物は、ロープ等で吊り下げられて運搬される形となるため、運搬自体に伴い、荷振れの発生が不可避のものである。その軽減を目的に、種々の荷振れ抑制の技術が提案されている。
【0003】
そのいくつかの例示として、特許文献1は、速度指令値に着目し荷振れを抑制したクレーンが開示されている。特許文献2には、荷振れ抑制のための加減速パターンが開示されている。特許文献3には、状態推定式に基づき巻き上げ機の状態を推定することが開示されている。
【先行技術文献】
【特許文献】
【0004】
特開2022-15495号公報
特開2021-75372号公報
特開2022-157683号公報
【発明の概要】
【発明が解決しようとする課題】
【0005】
クレーンの運搬に際し、近年、より高速に、より安全に運搬することが求められている。これら要求は、今後一層強まることが想定される。その際、従来の技術のみでは、仮に当該技術を適用しない場合に比べての改善度が同じであっても、高速化に伴い、振れ量の絶対値自体の増大は不可避である。このため、従来の技術より、さらに進んだ荷振れ量抑制技術と、荷振れ量の抑制が望まれるという課題がある。
【0006】
そこで本願発明は、より荷振れ量の抑制を可能とするクレーン、およびクレーンの制御方法を提供することを目的とする。
【課題を解決するための手段】
【0007】
ロープに取り付けた吊荷を上下方向に移動させる巻上装置と、巻上装置を搭載し水平方向に吊荷を移動させる水平移動装置を有するクレーンにおいて、当該クレーンのクレーン制御装置は、前記水平移動装置のモータの運転情報から装置状態を推定する状態推定装置を有するクレーン。
【発明の効果】
【0008】
本発明によるクレーンによれば、荷振れ量の抑制を実現したクレーンを提供することができる。
【0009】
本願発明の更なる手段および更なる効果は、以下明細書全文を通じ明らかとなる。
【図面の簡単な説明】
【0010】
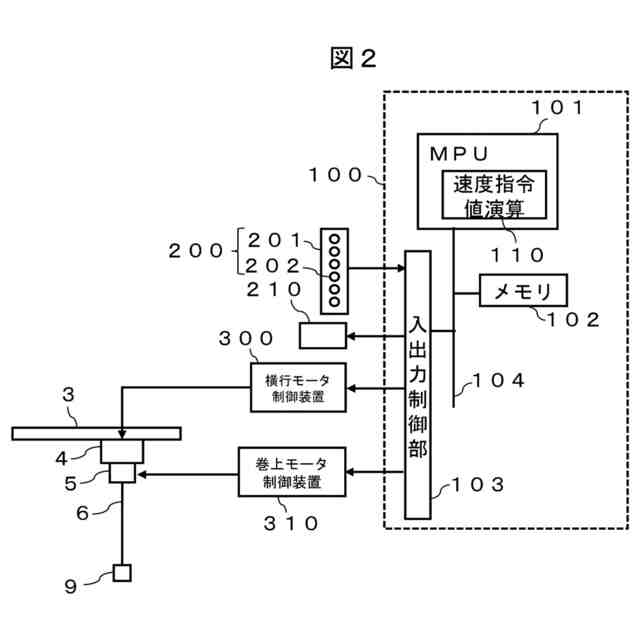
クレーンの一例の説明図である。
クレーンの一例の説明図である。
クレーン、吊荷、ロープの位置関係を示す説明図である。
本発明の一実施例の説明図である。
本発明の一実施例の説明図である。
本発明のマルチタスクニューラルネットワークの説明図である。
本発明他での指令周波数の例である。
本発明他での荷振れ量の例である。
本件と同一筆頭発明者による特許文献2に対応して、同一筆頭発明者が特許文献2の速度指令演算装置の構成を書き起こした説明図である。
本発明の他の実施例の説明図である。
本発明の他の実施例の説明図である。
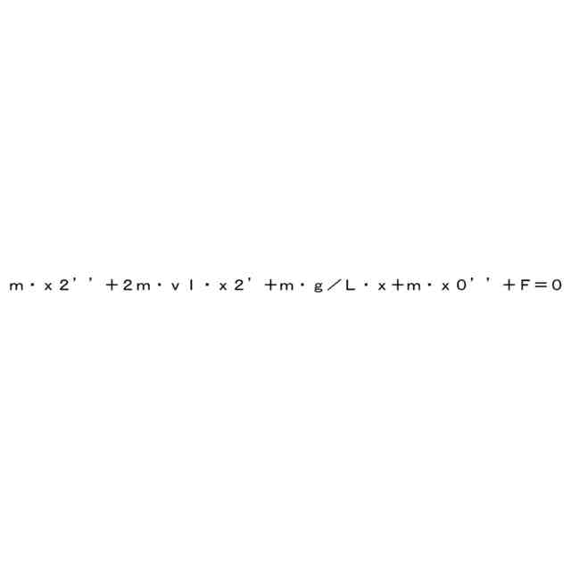
本発明の他の実施例の、モデルの説明図である。
本発明の他の実施例の説明図である。
【発明を実施するための形態】
(【0011】以降は省略されています)
この特許をJ-PlatPat(特許庁公式サイト)で参照する
関連特許
個人
自走手摺
4か月前
個人
転落防止階段
29日前
個人
小型クレーン
23日前
ユニパルス株式会社
吊具
5か月前
個人
海上コンテナ昇降装置
11か月前
ユニパルス株式会社
荷役装置
10か月前
株式会社いうら
車椅子用昇降機
4か月前
ユニパルス株式会社
リフト装置
6か月前
株式会社豊田自動織機
産業車両
2か月前
株式会社豊田自動織機
荷役車両
11か月前
株式会社豊田自動織機
荷役車両
10か月前
水戸工業株式会社
吊り具
7か月前
愛知製鋼株式会社
受け架台
3か月前
ユニパルス株式会社
荷役助力装置
7か月前
個人
エアバック式レスキュー用品
1か月前
ユニパルス株式会社
荷役助力装置
4か月前
白山工業株式会社
バランサ
8か月前
個人
垂直自動搬送機
2か月前
大栄産業株式会社
クランプ
6か月前
株式会社大林組
安全支援システム
3か月前
株式会社伊藤
滑り止め装置
3か月前
ユニパルス株式会社
荷役助力装置
5か月前
岐阜工業株式会社
運搬台車
1か月前
個人
アウトリガー用転倒防止ベース
22日前
株式会社キトー
タイヤ用吊具
7か月前
株式会社ユピテル
システム等
7か月前
株式会社キトー
コンテナ吊り具
2日前
新英運輸株式会社
自動車用台車
7か月前
株式会社豊田自動織機
フォークリフト
2か月前
株式会社五十鈴製作所
搬送装置
5か月前
フジテック株式会社
エレベータ
10か月前
中国計量大学
電子安全クランプ
2か月前
株式会社豊田自動織機
フォークリフト
9か月前
大和ハウス工業株式会社
吊上具
3か月前
山崎産業株式会社
手摺り拭用器具
2か月前
中坪造園有限会社
吊り荷降ろし具
6か月前
続きを見る
他の特許を見る