TOP
|
特許
|
意匠
|
商標
特許ウォッチ
Twitter
他の特許を見る
公開番号
2025137152
公報種別
公開特許公報(A)
公開日
2025-09-19
出願番号
2024036198
出願日
2024-03-08
発明の名称
データ作成システムおよびデータ作成方法
出願人
国立大学法人 奈良先端科学技術大学院大学
,
カナデビア株式会社
代理人
弁理士法人 HARAKENZO WORLD PATENT & TRADEMARK
主分類
G01S
5/02 20100101AFI20250911BHJP(測定;試験)
要約
【課題】電波に関する情報と、他の環境データとを適切に紐づける。
【解決手段】データ作成システムは、複数の位置座標を取得する位置座標取得装置(10)と、複数の位置座標のそれぞれにおける環境データを取得する環境データ取得部と、位置座標と、環境データとを紐づけた紐づけデータを作成するデータ作成部(52)と、を備える。環境データ取得部は、互いに異なる周波数の電波に対してそれぞれ少なくとも1つ設けられ、対応する電波に関する情報である第1データを取得する複数のアンテナ(21)と、第1データとは異なる第2データを取得する磁気センサ(31)と、を備える。データ作成部(52)は、位置座標と、複数のアンテナ(21)のそれぞれが取得した第1データと、第2データと、を紐づけて紐づけデータを作成する。
【選択図】図1
特許請求の範囲
【請求項1】
所定の領域における複数の位置座標を取得する位置座標取得部と、
前記複数の位置座標のそれぞれにおける環境データを取得する環境データ取得部と、
前記位置座標と、前記環境データとを紐づけた紐づけデータを作成するデータ作成部と、を備え、
前記環境データ取得部は、
複数のアクセスポイントからそれぞれ送信される互いに異なる周波数の電波に対してそれぞれ少なくとも1つ設けられ、対応する電波に関する情報である第1データを取得する複数の第1取得部と、
前記第1データとは異なる第2データを取得する第2取得部と、を備え、
前記データ作成部は、前記位置座標取得部が取得した前記位置座標と、前記複数の第1取得部のそれぞれが取得した前記第1データと、前記第2取得部が取得した前記第2データと、を紐づけて前記紐づけデータを作成する、データ作成システム。
続きを表示(約 1,100 文字)
【請求項2】
前記第2取得部は、前記第1取得部のそれぞれが前記第1データを取得する頻度よりも高い頻度で前記第2データを取得する、請求項1に記載のデータ作成システム。
【請求項3】
前記環境データの取得達成度を表示させる表示制御部を備える、請求項1に記載のデータ作成システム。
【請求項4】
前記環境データを取得中に、取得済みの前記環境データから所定の条件を満たすノイズデータを除去する除去部を備え、
前記データ作成部は、前記除去部により前記ノイズデータが除去された前記環境データを用いて前記紐づけデータを作成する、請求項1に記載のデータ作成システム。
【請求項5】
前記環境データ取得部は、前記第1取得部として、前記互いに異なる周波数の電波のそれぞれに対して、
前記環境データの取得を実行する取得者の前方における前記電波に関する情報を取得する前方取得部と、
前記取得者の後方における前記電波に関する情報を取得する後方取得部と、を備える、請求項1に記載のデータ作成システム。
【請求項6】
前記位置座標取得部は、SLAM(Simultaneous Localization And Mapping)法を用いて前記位置座標を取得する、請求項1に記載のデータ作成システム。
【請求項7】
前記第2データは、磁気の大きさを示すデータである、請求項1に記載のデータ作成システム。
【請求項8】
所定の領域における複数の位置座標を取得する位置座標取得ステップと、
前記複数の位置座標のそれぞれにおける環境データを取得する環境データ取得ステップと、
前記位置座標と、前記環境データとを紐づけた紐づけデータを作成するデータ作成ステップと、を含み、
前記環境データ取得ステップは、
複数のアクセスポイントからそれぞれ送信される互いに異なる周波数の電波に対してそれぞれ少なくとも1つ設けられた複数の第1取得部により、対応する電波に関する情報である第1データを取得する第1データ取得ステップと、
前記第1データとは異なる第2データを取得する第2データ取得ステップと、を含み、
前記データ作成ステップにおいて、前記位置座標取得ステップにおいて取得した前記位置座標と、第1データ取得ステップにおいて前記複数の第1取得部のそれぞれが取得した前記第1データと、第2データ取得ステップにおいて取得した前記第2データと、を紐づけて前記紐づけデータを作成する、データ作成方法。
発明の詳細な説明
【技術分野】
【0001】
本発明は、位置座標と環境データとを組み合わせたデータを作成するデータ作成システムなどに関する。
続きを表示(約 2,000 文字)
【背景技術】
【0002】
位置座標と当該位置座標で取得された環境データとを紐づけたデータ(フィンガープリント、FP)を用いてリアルタイムに対象の位置を特定するシステムが知られている。例えば、特許文献1には、位置座標とWi-Fi(登録商標)の電波の信号強度と紐づけたデータを用いて対象に位置を特定する技術が開示されている。
【先行技術文献】
【特許文献】
【0003】
特表2023-522900号公報
【発明の概要】
【発明が解決しようとする課題】
【0004】
上記のようなシステムでは、電波の信号強度などの電波に関する情報に加えて、他の環境データを位置座標と紐づけることにより測位精度を向上させる技術が知られている。このような場合では、電波に関する情報の取得頻度が少ない場合、電波に関する情報と他の環境データとを適切に紐づけられないという問題がある。
【0005】
本発明の一態様は、電波に関する情報と、他の環境データとを適切に紐づけることができるデータ作成システムなどを実現することを目的とする。
【課題を解決するための手段】
【0006】
上記の課題を解決するために、本発明の一態様に係るデータ作成システムは、所定の領域における複数の位置座標を取得する位置座標取得部と、前記複数の位置座標のそれぞれにおける環境データを取得する環境データ取得部と、前記位置座標と、前記環境データとを紐づけた紐づけデータを作成するデータ作成部と、を備え、前記環境データ取得部は、複数のアクセスポイントからそれぞれ送信される互いに異なる周波数の電波に対してそれぞれ少なくとも1つ設けられ、対応する電波に関する情報である第1データを取得する複数の第1取得部と、前記第1データとは異なる第2データを取得する第2取得部と、を備え、前記データ作成部は、前記位置座標取得部が取得した前記位置座標と、前記複数の第1取得部のそれぞれが取得した前記第1データと、前記第2取得部が取得した前記第2データと、を紐づけて前記紐づけデータを作成する。
【0007】
上記の課題を解決するために、本発明の一態様に係るデータ作成方法は、所定の領域における複数の位置座標を取得する位置座標取得ステップと、前記複数の位置座標のそれぞれにおける環境データを取得する環境データ取得ステップと、前記位置座標と、前記環境データとを紐づけた紐づけデータを作成するデータ作成ステップと、を含み、前記環境データ取得ステップは、複数のアクセスポイントからそれぞれ送信される互いに異なる周波数の電波に対してそれぞれ少なくとも1つ設けられた複数の第1取得部により、対応する電波に関する情報である第1データを取得する第1データ取得ステップと、前記第1データとは異なる第2データを取得する第2データ取得ステップと、を含み、前記データ作成ステップにおいて、前記位置座標取得ステップにおいて取得した前記位置座標と、第1データ取得ステップにおいて前記複数の第1取得部のそれぞれが取得した前記第1データと、第2データ取得ステップにおいて取得した前記第2データと、を紐づけて前記紐づけデータを作成する。
【発明の効果】
【0008】
本発明の一態様によれば、電波に関する情報と、他の環境データとを適切に紐づけることができる。
【図面の簡単な説明】
【0009】
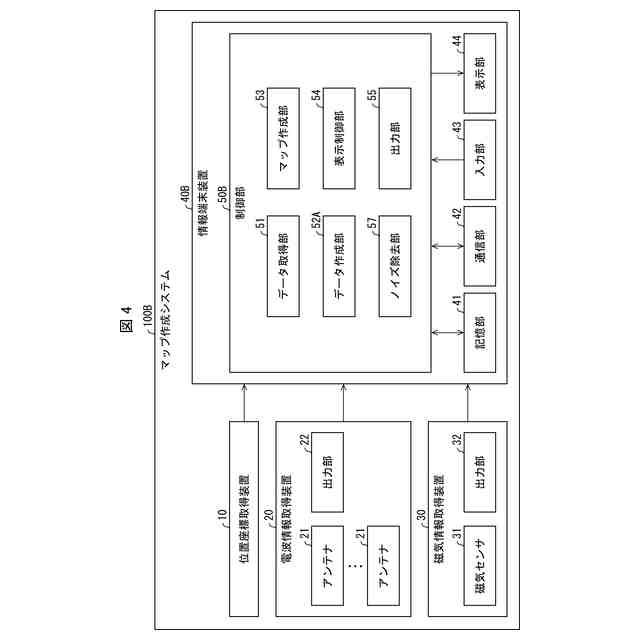
本発明の実施形態1に係るマップ作成システムの要部構成を示すブロック図である。
上記マップ作成システムによる環境データマップの作成方法の処理の一例を示すフローチャートである。
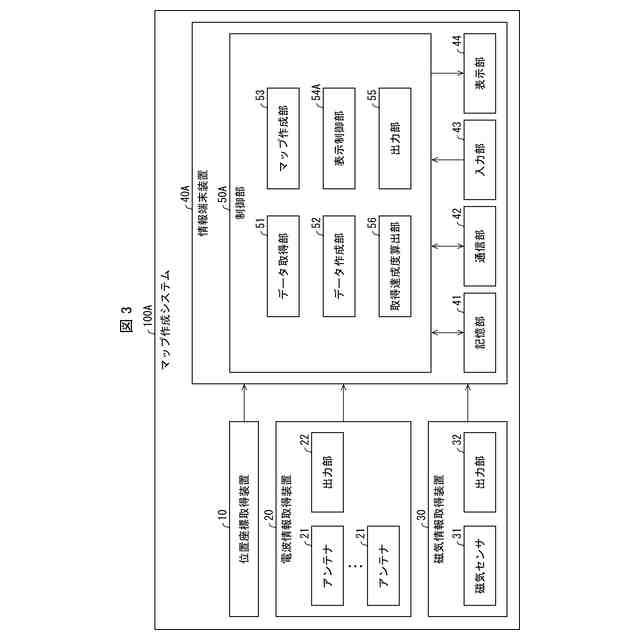
本発明の実施形態2に係るマップ作成システムの要部構成を示すブロック図である。
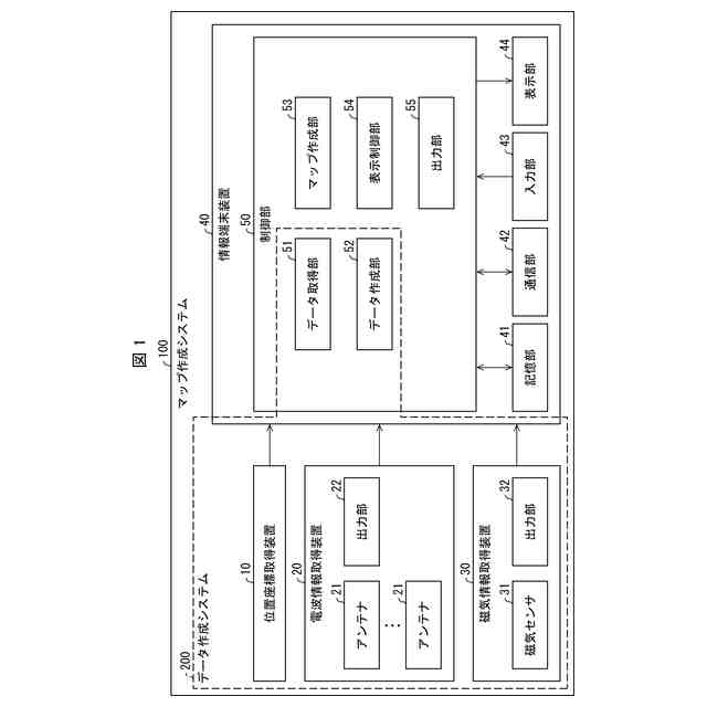
本発明の実施形態3に係るマップ作成システムの要部構成を示すブロック図である。
本発明の実施形態4に係るマップ作成システムの要部構成を示すブロック図である。
【発明を実施するための形態】
【0010】
〔実施形態1〕
以下、本発明の一実施形態について、詳細に説明する。図1は、本実施形態におけるマップ作成システム100の要部構成を示すブロック図である。マップ作成システム100は、位置座標と、当該位置座標における環境データとを紐づけた紐づけデータに基づいて各位置座標における環境データの大きさを示す環境データマップを作成するシステムである。マップ作成システム100によって作成された環境データマップは、被測位対象が取得した環境データとの類似度に基づいて被測位対象の位置を特定するために用いられる。
(【0011】以降は省略されています)
特許ウォッチbot のツイートを見る
この特許をJ-PlatPat(特許庁公式サイト)で参照する
関連特許
個人
採尿及び採便具
1か月前
日本精機株式会社
検出装置
24日前
個人
計量機能付き容器
19日前
個人
高精度同時多点測定装置
1か月前
個人
アクセサリー型テスター
1か月前
株式会社カクマル
境界杭
9日前
甲神電機株式会社
電流検出装置
24日前
株式会社ミツトヨ
測定器
1か月前
日本精機株式会社
発光表示装置
2日前
株式会社トプコン
測量装置
1日前
アズビル株式会社
電磁流量計
1か月前
大成建設株式会社
風洞実験装置
19日前
双庸電子株式会社
誤配線検査装置
25日前
愛知時計電機株式会社
ガスメータ
1か月前
愛知電機株式会社
軸部材の外観検査装置
1か月前
ローム株式会社
半導体装置
1か月前
ローム株式会社
半導体装置
1か月前
大和製衡株式会社
組合せ計量装置
1か月前
大和製衡株式会社
組合せ計量装置
1か月前
長崎県
形状計測方法
1か月前
日本特殊陶業株式会社
ガスセンサ
1日前
個人
非接触による電磁パルスの測定方法
22日前
日本特殊陶業株式会社
ガスセンサ
17日前
個人
システム、装置及び実験方法
1か月前
個人
計量具及び計量機能付き容器
19日前
日本信号株式会社
距離画像センサ
22日前
キーコム株式会社
画像作成システム
9日前
日本特殊陶業株式会社
センサ
1か月前
トヨタ自動車株式会社
測定システム
1か月前
日本特殊陶業株式会社
センサ
3日前
株式会社デンソー
電流センサ
1か月前
株式会社不二越
X線測定装置
22日前
株式会社タイガーカワシマ
揚穀装置
1日前
個人
液位検視及び品質監視システム
17日前
日東精工株式会社
振動波形検査装置
25日前
株式会社マグネア
磁界検出素子
22日前
続きを見る
他の特許を見る