TOP
|
特許
|
意匠
|
商標
特許ウォッチ
Twitter
他の特許を見る
公開番号
2025136303
公報種別
公開特許公報(A)
公開日
2025-09-19
出願番号
2024034768
出願日
2024-03-07
発明の名称
磁気センサシステム、磁気センサユニット、処理装置
出願人
株式会社マグネア
代理人
個人
,
個人
主分類
G01B
7/30 20060101AFI20250911BHJP(測定;試験)
要約
【課題】本開示の目的は、カテーテル等の医療用デバイスを操作するガイドワイヤ等のワイヤをデリバリする場合に、ワイヤの回転角算出の精度を向上できる磁気センサシステムを提供する。
【解決手段】後端部122から先端部121まで延在するルーメン123を形成した筒状体12と、後端部122に配置された磁石13と、先端部121と後端部122との間の第1位置p1に配置された第1磁気センサ14と、第1磁気センサ14から取得したデータを処理する処理装置16と、を備える。磁石13は、磁性体を含むワイヤWがルーメン123に進入するときに、ワイヤWの一部であるターゲット領域を着磁させる。第1磁気センサ14は、ターゲット領域Wtが第1位置p1に配置されたときにターゲット領域Wtの第1着磁状態s1を検出する。処理装置16は、第1着磁状態s1に基づいて、ターゲット領域Wtの回転角θ1を算出する回転角算出部161を含む。
【選択図】図1
特許請求の範囲
【請求項1】
磁気センサユニットと、前記磁気センサユニットから取得したデータを処理する処理装置と、を備え、
前記磁気センサユニットが、後端部から先端部まで延在するルーメンを形成した筒状体と、前記後端部に配置された磁石と、前記先端部と前記後端部との間の所定位置に配置された磁気センサと、を含み、
前記磁石は、磁性体を含むワイヤが前記ルーメンに進入するときに、前記ワイヤの一部であるターゲット領域を着磁し、
前記磁気センサは、前記ターゲット領域が前記所定位置に配置されたときに前記ターゲット領域の着磁状態を検出し、
前記処理装置が、前記着磁状態に基づいて、前記ターゲット領域の回転角を算出する回転角算出手段を含む、磁気センサシステム。
続きを表示(約 1,000 文字)
【請求項2】
前記所定位置は、第1位置であり、
前記磁気センサは、第1磁気センサであり、
前記着磁状態は、第1着磁状態であり、
前記磁気センサユニットが、前記第1位置と前記後端部との間の第2位置に配置された第2磁気センサを含み、
前記第2磁気センサは、前記ターゲット領域が前記第2位置に配置されたときに前記ターゲット領域の第2着磁状態を検出し、
前記回転角算出手段は、前記第1着磁状態及び前記第2着磁状態に基づいて、前記ターゲット領域の回転角を算出する、請求項1に記載の磁気センサシステム。
【請求項3】
前記処理装置が、前記第1着磁状態と前記第2着磁状態とに基づいて前記ターゲット領域の角速度を算出する角速度算出手段を含む、請求項2に記載の磁気センサシステム。
【請求項4】
前記磁石の磁力分布を記憶する記憶装置を備え、
前記処理装置が、前記ターゲット領域が前記磁石を通過した通過位置を算出する通過位置算出手段を含み、
前記通過位置算出手段は、前記磁力分布と前記第2着磁状態とに基づいて前記通過位置を算出する、請求項2又は3に記載の磁気センサシステム。
【請求項5】
後端部から先端部まで延在するルーメンを形成した筒状体と、前記後端部に配置された磁石と、前記先端部と前記後端部との間の所定位置に配置された磁気センサと、を備え、
前記磁石は、磁性体を含むワイヤが前記ルーメンに進入するときに、前記ワイヤの一部であるターゲット領域を着磁し、
前記磁気センサは、前記ターゲット領域が前記所定位置に配置されたときに前記ターゲット領域の着磁状態を検出する、磁気センサユニット。
【請求項6】
磁気センサユニットから取得したデータを処理する処理装置であって、
前記磁気センサユニットが、後端部から先端部まで延在するルーメンを形成した筒状体と、前記後端部に配置された磁石と、前記先端部と前記後端部との間の所定位置に配置された磁気センサと、を含み、
前記磁石は、磁性体を含むワイヤが前記ルーメンに進入するときに、前記ワイヤの一部であるターゲット領域を着磁し、
前記磁気センサは、前記ターゲット領域が前記所定位置に配置されたときに前記ターゲット領域の着磁状態を検出し、
前記着磁状態に基づいて、前記ターゲット領域の回転角を算出する回転角算出手段を含む、処理装置。
発明の詳細な説明
【技術分野】
【0001】
本開示は、磁気センサに関する。
続きを表示(約 1,600 文字)
【背景技術】
【0002】
特許文献1には、環状のエンコーダを着磁してステアリング軸等の回転体に装着し、エンコーダの周囲に複数の磁気センサを配置し、エンコーダの磁力分布の変化を検出することによって、回転体の回転角を算出する技術が紹介されている。
【先行技術文献】
【特許文献】
【0003】
特開2012-242205号公報
【発明の概要】
【発明が解決しようとする課題】
【0004】
ところで、カテーテル等の医療用デバイスを操作するガイドワイヤ等のワイヤをデリバリする際に、ワイヤの回転状態を計測したいという要望がある。しかし、ワイヤは保磁力が弱いため、デリバリ時に外部磁界の影響を受けやすく、磁力分布が変化しやすい。このため、カテーテル等の医療用デバイスを操作するガイドワイヤ等のワイヤをデリバリする場合に、ターゲット領域の磁力分布の検出精度が下がり、ワイヤの回転角算出の精度が下がるという問題があった。
【0005】
そこで、本開示の目的は、ワイヤの回転角算出の精度を向上できる磁気センサシステムを提供することにある。
【課題を解決するための手段】
【0006】
上記課題を解決するために、本開示の磁気センサシステムは、磁気センサユニットと、磁気センサから取得したデータを処理する処理装置と、を備え、磁気センサユニットが、後端部から先端部まで延在するルーメンを形成した筒状体と、後端部に配置された磁石と、先端部と後端部との間の第1位置に配置された第1磁気センサと、を含み、磁石は、磁性体を含むワイヤがルーメンに進入するときに、ワイヤの一部であるターゲット領域を着磁させ、第1磁気センサは、ターゲット領域が第1位置に配置されたときにターゲット領域の第1着磁状態を検出し、処理装置が、第1着磁状態に基づいて、ターゲット領域の回転角を算出する回転角算出手段を含むことを特徴とする。
【0007】
本開示の磁気センサシステムによれば、ターゲット領域が磁石の近傍を通過する毎にターゲット領域が着磁されるため、ワイヤの保磁力の弱さを補完し、ワイヤの回転角算出の精度を向上できるという効果がある。
【図面の簡単な説明】
【0008】
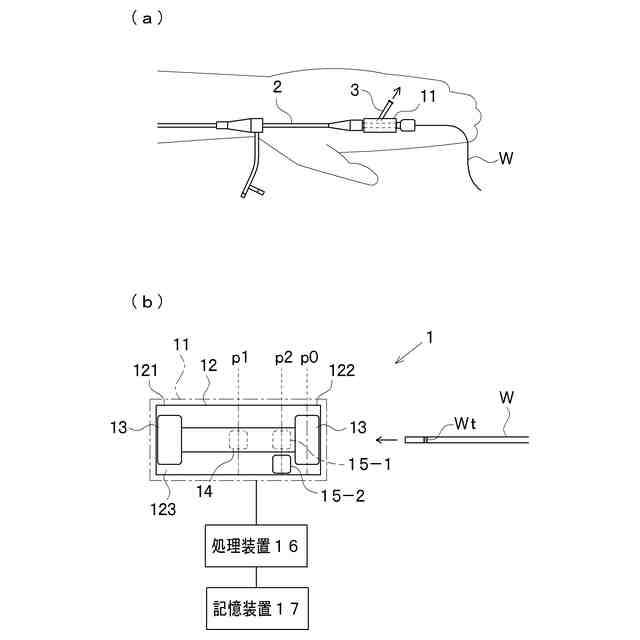
本開示の磁気センサシステムの模式図である。
磁気センサユニットの、(a)磁石の位置p0における端面模式図、(b)第2位置p2における端面模式図、(c)第1位置p1における端面模式図である。
磁気センサユニットとターゲット領域の位置関係を示す模式図である。
磁気センサシステムのブロック図である。
(a)磁気の計測領域を示す模式図、(b)磁束を示す模式図である。
磁気の計測位置を示す模式図である。
通過位置算出用の磁力分布を示すグラフである。
回転角算出用の磁力分布を示すグラフである。
回転角の算出手順を示すフローチャートである。
角速度の算出手順を示すフローチャートである。
【発明を実施するための形態】
【0009】
以下、本開示を磁気センサシステムに具体化した一実施形態を図面に基づいて説明する。
【0010】
図1(a)に示すように、磁気センサシステム1は、カテーテル等の医療用デバイス2に挿通されるガイドワイヤ等のワイヤWの回転状態を計測するために用いられるものである。磁気センサシステム1は、ワイヤWを操作するためのY字コネクタ3に装着して使用される。図1(b)に示すように、磁気センサシステム1は、磁気センサユニット11と、磁気センサユニット11から取得したデータを処理する処理装置16と、通過位置算出用の磁力分布m1及び回転角算出用の磁力分布m2を記憶する記憶装置17とを備える。
(【0011】以降は省略されています)
この特許をJ-PlatPat(特許庁公式サイト)で参照する
関連特許
株式会社マグネア
磁界検出素子
23日前
日本精機株式会社
検出装置
25日前
個人
採尿及び採便具
1か月前
個人
アクセサリー型テスター
1か月前
個人
計量機能付き容器
20日前
個人
高精度同時多点測定装置
1か月前
甲神電機株式会社
電流検出装置
25日前
日本精機株式会社
発光表示装置
3日前
株式会社カクマル
境界杭
10日前
株式会社ミツトヨ
測定器
1か月前
株式会社トプコン
測量装置
2日前
アズビル株式会社
電磁流量計
1か月前
大成建設株式会社
風洞実験装置
20日前
日本特殊陶業株式会社
ガスセンサ
2日前
個人
非接触による電磁パルスの測定方法
23日前
愛知時計電機株式会社
ガスメータ
1か月前
日本信号株式会社
距離画像センサ
23日前
個人
システム、装置及び実験方法
1か月前
ローム株式会社
半導体装置
1か月前
個人
計量具及び計量機能付き容器
20日前
ローム株式会社
半導体装置
1か月前
日本特殊陶業株式会社
ガスセンサ
18日前
双庸電子株式会社
誤配線検査装置
26日前
大和製衡株式会社
組合せ計量装置
1か月前
大和製衡株式会社
組合せ計量装置
1か月前
愛知電機株式会社
軸部材の外観検査装置
1か月前
株式会社タイガーカワシマ
揚穀装置
2日前
個人
液位検視及び品質監視システム
18日前
キーコム株式会社
画像作成システム
10日前
株式会社不二越
X線測定装置
23日前
日東精工株式会社
振動波形検査装置
26日前
トヨタ自動車株式会社
測定システム
1か月前
株式会社デンソー
電流センサ
1か月前
日本特殊陶業株式会社
センサ
1か月前
日本特殊陶業株式会社
センサ
4日前
株式会社エルメックス
希釈液収容容器
20日前
続きを見る
他の特許を見る