TOP
|
特許
|
意匠
|
商標
特許ウォッチ
Twitter
他の特許を見る
公開番号
2025133140
公報種別
公開特許公報(A)
公開日
2025-09-11
出願番号
2024030897
出願日
2024-03-01
発明の名称
半導体装置の製造方法
出願人
三菱電機株式会社
代理人
個人
,
個人
主分類
H01L
21/673 20060101AFI20250904BHJP(基本的電気素子)
要約
【課題】半導体基板を適切に搬送可能な技術を提供することを目的とする。
【解決手段】半導体装置の製造方法は、加工を行う工程と、搬送する工程とを備える。加工を行う工程では、炭化珪素からなり直径Wが200mm以上である半導体基板に、半導体素子を形成するための加工を行う。搬送する工程では、加工の前及び後の少なくともいずれか一方において、最大で25枚の半導体基板を収容可能な搬送キャリアであるFOUPに半導体基板を収容して搬送する。
【選択図】図1
特許請求の範囲
【請求項1】
炭化珪素からなり直径Wが200mm以上である半導体基板を準備する工程と、
前記半導体基板に半導体素子を形成するための加工を行う工程と、
前記加工の前及び後の少なくともいずれか一方において、最大で25枚の前記半導体基板を収容可能な搬送キャリアであるFOUPに前記半導体基板を収容して搬送する工程と
を備える、半導体装置の製造方法。
続きを表示(約 1,500 文字)
【請求項2】
請求項1に記載の半導体装置の製造方法であって、
前記加工は、
前記半導体基板に複数の不純物領域を形成する工程と、
前記半導体基板の第1主面に保護膜を形成する工程と、
前記保護膜を形成した後の前記半導体基板の前記第1主面と逆側の第2主面を研削する工程と
の少なくともいずれか1つを含む、半導体装置の製造方法。
【請求項3】
請求項2に記載の半導体装置の製造方法であって、
前記保護膜はガラス板である、半導体装置の製造方法。
【請求項4】
請求項2に記載の半導体装置の製造方法であって、
前記保護膜はテープである、半導体装置の製造方法。
【請求項5】
請求項1に記載の半導体装置の製造方法であって、
前記FOUPは、
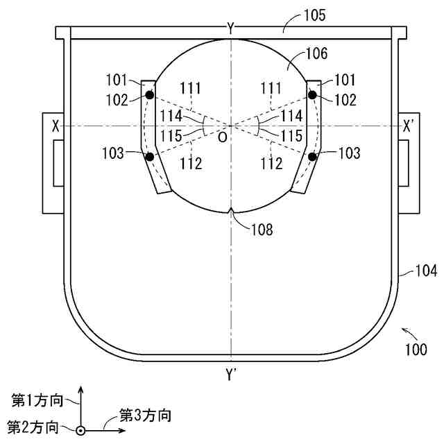
第1方向に向いて開口し、前記半導体基板の出し入れが行われる開口部を有する筐体と、
前記筐体の内側と接続され、前記第1方向と直交する第2方向に10mmの間隔で配列された25枚以下の複数の前記半導体基板の外周部を仕切って収容可能な仕切部と、
前記仕切部から前記第2方向に突出し、前記仕切部に収容された前記複数の半導体基板のそれぞれを前記第2方向に沿って支持可能な複数の支点と
を含み、
前記第2方向から視て、前記仕切部に収容された前記半導体基板の中心から、前記複数の支点のうち前記開口部に最も近い支点に向かう方向と、前記第1方向及び前記第2方向と直交する第3方向とがなす角度は、13°以上46°以下であり、
前記半導体基板の有効領域の直径W’について、W-10mm<W’<Wが成り立ち、
前記複数の支点のうち前記半導体基板を支持可能な支点同士の間の、前記第3方向における距離は、W×cos46°mmより大きくW×cos13°mm未満である、半導体装置の製造方法。
【請求項6】
請求項5に記載の半導体装置の製造方法であって、
前記仕切部は、第1仕切部と、前記第1仕切部に対して前記開口部と逆側に位置する第2仕切部とを含み、
前記複数の支点のうち前記開口部に最も近い支点は、前記第1仕切部から突出し、
前記複数の支点のうち前記開口部から最も遠い支点は、前記第2仕切部から突出する、半導体装置の製造方法。
【請求項7】
請求項5または請求項6に記載の半導体装置の製造方法であって、
前記第2方向から視て、前記仕切部に収容された前記半導体基板の中心から、前記複数の支点のうち前記開口部から最も遠い支点に向かう方向と、前記第3方向とがなす角度は、13°以上46°以下である、半導体装置の製造方法。
【請求項8】
請求項5または請求項6に記載の半導体装置の製造方法であって、
前記複数の支点のうち前記開口部に最も近い支点は、前記複数の支点のうち前記開口部から最も遠い支点よりも前記第2方向において高い、半導体装置の製造方法。
【請求項9】
請求項5または請求項6に記載の半導体装置の製造方法であって、
前記第1方向から視て、前記複数の支点のうち第1組の支点の先端は、前記複数の支点のうち前記第1組の支点よりも内側の第2組の支点の先端よりも高い、半導体装置の製造方法。
【請求項10】
請求項5または請求項6に記載の半導体装置の製造方法であって、
前記複数の支点は、前記仕切部に収容された前記半導体基板と面接触する、半導体装置の製造方法。
(【請求項11】以降は省略されています)
発明の詳細な説明
【技術分野】
【0001】
本開示は、半導体装置の製造方法に関する。
続きを表示(約 2,100 文字)
【背景技術】
【0002】
Si(珪素)からなる半導体装置よりも低損失であり、高信頼性が期待できるSiC(炭化珪素)からなる半導体装置への切り替え進んでいる。Siからなる半導体装置は、Si半導体基板から製造され、SiCからなる半導体装置は、SiC半導体基板から製造される。Si半導体基板、及び、SiC半導体基板は、搬送キャリア(搬送容器ともいう)に収容された状態で処理装置間を搬送され、処理装置毎に異なる処理が行われることによって、半導体基板に半導体素子が形成される(例えば特許文献1参照)。
【先行技術文献】
【特許文献】
【0003】
特開2012-142620号公報
【発明の概要】
【発明が解決しようとする課題】
【0004】
SiC半導体基板は、Si半導体基板と素材が異なるだけでなく、厚みなどの形状が異なる場合があり、SiC半導体基板の自重などによる反りなどの撓みの変形量が、Si半導体基板の変形量よりも大きくなる場合がある。また、直径が200mm以上であるSiC半導体基板において変形量が顕著となる。このため、搬送キャリアに、直径が200mm以上である複数のSiC半導体基板を収容した状態で搬送すると、隣り合うSiC半導体基板同士が、搬送中に互いに接触して不具合が生じる可能性がある。
【0005】
一方、従来技術では、SiC半導体基板を収容及び搬送する搬送キャリアにSMIF(Standard Mechanical Interface)が用いられる。しかしながら、SMIFでは、SiC半導体基板を収容する筐体が小さく、収容されるSiC半導体基板同士の間の距離が短いので、上記不具合によって25枚の半導体基板を1単位として搬送することができず、製造性が悪いという問題があった。
【0006】
そこで、本開示は、上記のような問題点に鑑みてなされたものであり、半導体基板を適切に搬送可能な技術を提供することを目的とする。
【課題を解決するための手段】
【0007】
本開示に係る半導体装置の製造方法は、炭化珪素からなり直径Wが200mm以上である半導体基板を準備する工程と、前記半導体基板に半導体素子を形成するための加工を行う工程と、前記加工の前及び後の少なくともいずれか一方において、最大で25枚の前記半導体基板を収容可能な搬送キャリアであるFOUPに前記半導体基板を収容して搬送する工程とを備える。
【発明の効果】
【0008】
本開示によれば、炭化珪素からなり直径Wが200mm以上である最大で25枚の半導体基板を収容可能なFOUPに、半導体基板を収容して搬送する。このような構成によれば、半導体基板を適切に搬送することができる。
【図面の簡単な説明】
【0009】
実施の形態1に係る半導体装置の製造方法で用いられるFOUPの構成を示す上面図である。
実施の形態1に係る半導体装置の製造方法で用いられるFOUPの一部の構成を示す断面図である。
実施の形態1に係る半導体装置の製造方法で用いられるFOUPの構成を示す上面図である。
実施の形態1に係る半導体装置の製造方法で用いられるFOUPの構成を示す上面図である。
実施の形態1に係る半導体装置の製造方法を示すフローチャートである。
実施の形態1に係る半導体装置の製造方法を示すフローチャートである。
実施の形態1に係る半導体装置の製造方法を示す断面図である。
実施の形態1に係る半導体装置の半導体基板の撓み量を示す二次元マップである。
実施の形態1に係る半導体装置の半導体基板の撓み量を示す二次元マップである。
実施の形態1に係る上部支点及び下部支点の角度と、FOUPに収容された半導体基板の最大撓み量との関係を示す図である。
実施の形態2に係る半導体装置の製造方法で用いられるFOUPの構成の一部を示す断面図である。
実施の形態3に係る半導体装置の製造方法で用いられるFOUPの構成の一部を示す断面図である。
実施の形態4に係る半導体装置の製造方法で用いられるFOUPの構成の一部を示す断面図である。
【発明を実施するための形態】
【0010】
以下、添付される図面を参照しながら実施の形態について説明する。以下の各実施の形態で説明される特徴は例示であり、すべての特徴は必ずしも必須ではない。また、以下に示される説明では、複数の実施の形態において同様の構成要素には同じまたは類似する符号を付し、異なる構成要素について主に説明する。また、以下に記載される説明において、「上」、「下」、「左」、「右」などの特定の位置及び方向は、実際の実施時の位置及び方向とは必ず一致しなくてもよい。
(【0011】以降は省略されています)
この特許をJ-PlatPat(特許庁公式サイト)で参照する
関連特許
三菱電機株式会社
換気扇
1日前
三菱電機株式会社
換気扇
1日前
三菱電機株式会社
換気扇
1日前
三菱電機株式会社
照明装置
27日前
三菱電機株式会社
回転電機
17日前
三菱電機株式会社
電子機器
2日前
三菱電機株式会社
回転電機
27日前
三菱電機株式会社
半導体装置
7日前
三菱電機株式会社
半導体装置
1か月前
三菱電機株式会社
半導体装置
21日前
三菱電機株式会社
加熱調理器
20日前
三菱電機株式会社
半導体装置
27日前
三菱電機株式会社
電力変換装置
27日前
三菱電機株式会社
車両制御装置
29日前
三菱電機株式会社
給湯システム
20日前
三菱電機株式会社
貯湯式給湯機
17日前
三菱電機株式会社
照明システム
7日前
三菱電機株式会社
空気調和装置
28日前
三菱電機株式会社
ネジ取出機構
28日前
三菱電機株式会社
送電線保護装置
27日前
三菱電機株式会社
非常用照明装置
20日前
三菱電機株式会社
電動機制御装置
13日前
三菱電機株式会社
誘導加熱調理器
1日前
三菱電機株式会社
電流切替型DAC
7日前
三菱電機株式会社
換気空調システム
17日前
三菱電機株式会社
照明制御システム
27日前
三菱電機株式会社
ウエハテスト装置
27日前
三菱電機株式会社
風力発電システム
17日前
三菱電機株式会社
照明制御システム
14日前
三菱電機株式会社
変圧器の診断方法
1か月前
三菱電機株式会社
空気清浄システム
20日前
三菱電機株式会社
コントロールセンタ
27日前
三菱電機株式会社
照明器具及び照明装置
27日前
三菱電機株式会社
半導体装置の製造方法
1か月前
三菱電機株式会社
保護継電器及び配電盤
1日前
三菱電機株式会社
車両空調機用診断システム
2日前
続きを見る
他の特許を見る