TOP
|
特許
|
意匠
|
商標
特許ウォッチ
Twitter
他の特許を見る
公開番号
2025132405
公報種別
公開特許公報(A)
公開日
2025-09-10
出願番号
2024029944
出願日
2024-02-29
発明の名称
電解装置、電解装置の制御方法および電解装置の制御プログラム
出願人
三菱重工業株式会社
代理人
個人
,
個人
,
個人
主分類
C25B
15/02 20210101AFI20250903BHJP(電気分解または電気泳動方法;そのための装置)
要約
【課題】接地線を介した循環電流を低減する電解装置、電解装置の制御方法および電解装置の制御プログラムを提供する。
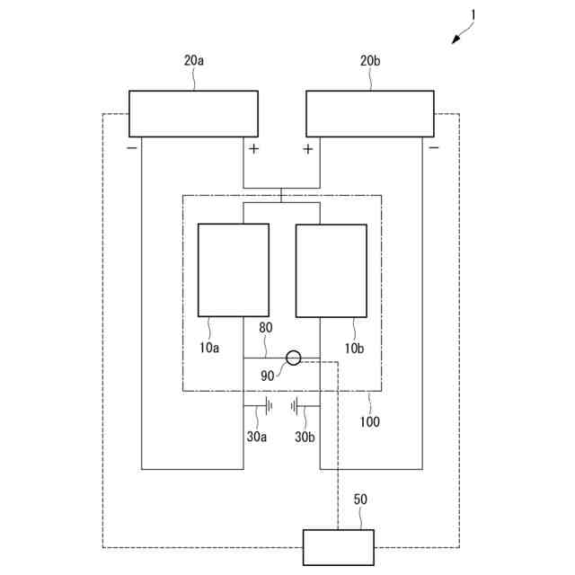
【解決手段】電解装置1は、複数の整流器20と、正極が共通とされた複数のセルスタック10を有した電解槽100を含み、セルスタック10の各々の正極は、複数が並列に設置された整流器20の各々の正極と接続され、セルスタック10の各々の負極は、整流器20の各々の負極とそれぞれ接続され、セルスタック10の少なくとも1つの負極と、他のセルスタック10の少なくとも1つの負極とを接続するバランスケーブル80を備える。
【選択図】図2
特許請求の範囲
【請求項1】
複数の整流器と
正極が共通とされた複数のセルスタックを有した電解槽を含む電解装置であって、
前記セルスタックの各々の正極は、複数が並列に設置された前記整流器の各々の正極と接続され、
前記セルスタックの各々の負極は、該整流器の各々の負極とそれぞれ接続され、
前記セルスタックの少なくとも1つの負極と、他の前記セルスタックの少なくとも1つの負極とを接続するバランスケーブルを備える電解装置。
続きを表示(約 760 文字)
【請求項2】
前記バランスケーブルの電流を計測する電流センサと、
前記電流センサが計測した電流値に基づき前記整流器の各々の出力電流値を制御する制御装置を有する請求項1に記載の電解装置。
【請求項3】
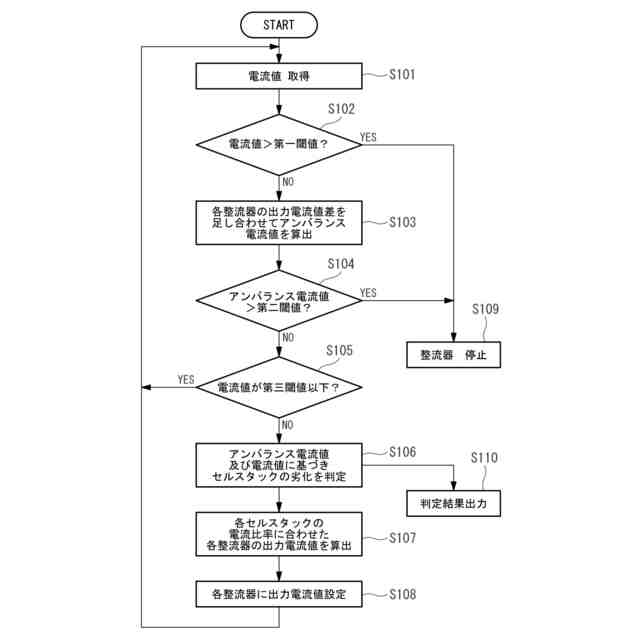
前記制御装置は、前記電流センサが計測した電流値、または、前記整流器の各々の出力電流値差を足し合わせたアンバランス電流値の少なくともいずれか一つに基づき、前記電解槽の各々の前記セルスタックの劣化の状態を判定する請求項2に記載の電解装置。
【請求項4】
前記制御装置は、前記電解槽の前記セルスタックの各々の劣化の状態に基づき、前記整流器の各々の出力電流値を制御する請求項3に記載の電解装置。
【請求項5】
前記制御装置は、前記電流センサが計測した電流値が所定の閾値を超えると、前記整流器を停止させる請求項2に記載の電解装置。
【請求項6】
複数の整流器と、
正極が共通とされた複数のセルスタックを有し、
前記セルスタックの各々の正極は、複数が並列に設置された前記整流器の各々の正極と接続され、前記セルスタックの各々の負極は、該整流器の各々の負極とそれぞれ接続され、
前記セルスタックの少なくとも1つの負極と、他の前記セルスタックの少なくとも1つの負極とを接続するバランスケーブルと、
前記バランスケーブルの電流を計測する電流センサと、を備える電解装置のコンピュータが実行する制御方法であって、
前記電流センサが計測した電流値に基づき前記整流器の各々の出力電流値を制御する電解装置の制御方法。
【請求項7】
請求項6の電解装置の制御方法をコンピュータに実行させるための電解装置の制御プログラム。
発明の詳細な説明
【技術分野】
【0001】
本開示は、電解装置、電解装置の制御方法および電解装置の制御プログラムに関するものである。
続きを表示(約 1,500 文字)
【背景技術】
【0002】
近年、カーボンニュートラルの実現に向け、エネルギー転換への動きが活発化している。エネルギー転換の方策として、水素ガスタービンの活用が挙げられる。水素ガスタービンの使用において、水素の製造技術・貯蔵技術の検討がなされている。
【0003】
特許文献1には、水の電気分解反応を利用して水素の生成を行うSOECにおいて、マイナス側導電性部材が互いに電気的に接続され、最低電位差が増大することを抑制する技術が開示されている。
また特許文献2には、金属帯の電解処理ラインにおいて、電解槽外で金属帯に接するロールをアースし、アースしたロールとアース部との間の電流を小さくするように整流器を制御する技術が開示されている。
【先行技術文献】
【特許文献】
【0004】
特開2019-57407号公報
特開2001-26900号公報
【発明の概要】
【発明が解決しようとする課題】
【0005】
しかし、特許文献1の発明では、複数のセルスタックが直列接続されており、複数のセルスタックが並列接続される構成についての検討がなされていない。さらに、中間点で接地が行われており、接地線を介した循環電流についての検討も行われていない。また特許文献2の発明では、アース電流が小さくなるように電解電流を調整しているものの、接地線を介して循環電流が発生することについての検討がなされていない。
【0006】
本開示は、このような事情に鑑みてなされたものであって、接地線を介した循環電流を低減する電解装置、電解装置の制御方法および電解装置の制御プログラムを提供することを目的とする。
【課題を解決するための手段】
【0007】
上記課題を解決するために、本開示の電解装置、電解装置の制御方法および電解装置の制御プログラムは以下の手段を採用する。
本開示の電解装置は、複数の整流器と、正極が共通とされた複数のセルスタックを有した電解槽を含む電解装置であって、前記セルスタックの各々の正極は、複数が並列に設置された整流器の各々の正極と接続され、前記セルスタックの各々の負極は、該整流器の各々の負極とそれぞれ接続され、前記セルスタックの少なくとも1つの負極と、他の前記セルスタックの少なくとも1つの負極とを接続するバランスケーブルを備える。
【0008】
本開示の電解装置の制御方法は、複数の整流器と、正極が共通とされた複数のセルスタックを有し、前記セルスタックの各々の正極は、複数が並列に設置された前記整流器の各々の正極と接続され、前記セルスタックの各々の負極は、該整流器の各々の負極とそれぞれ接続され、前記セルスタックの少なくとも1つの負極と、他の前記セルスタックの少なくとも1つの負極とを接続するバランスケーブルと、前記バランスケーブルの電流を計測する電流センサと、を備える電解装置のコンピュータが実行する制御方法であって、前記電流センサが計測した電流値に基づき前記整流器の各々の出力電流値を制御する。
【0009】
本開示の電解装置の制御プログラムは、前述の制御方法をコンピュータに実行させる。
【発明の効果】
【0010】
本開示によれば、接地を通して流れる循環電流を減少させる。また循環電流に起因する信号ノイズを低減することができる。さらに高価な材料となるバスダクトを用いずコストを削減することができる。
【図面の簡単な説明】
(【0011】以降は省略されています)
この特許をJ-PlatPat(特許庁公式サイト)で参照する
関連特許
三菱重工業株式会社
清掃装置
9日前
三菱重工業株式会社
フィルタ装置
8日前
三菱重工業株式会社
皮膜形成装置
1日前
三菱重工業株式会社
容器解体装置
12日前
三菱重工業株式会社
風力発電装置
8日前
三菱重工業株式会社
超音波探傷方法
1日前
三菱重工業株式会社
ポンプシステム
1日前
三菱重工業株式会社
洗浄水噴射ノズル
3日前
三菱重工業株式会社
バッテリ交換装置
2日前
三菱重工業株式会社
主蒸気管洗浄方法
8日前
三菱重工業株式会社
軌道系交通システム
8日前
三菱重工業株式会社
メタン酸化触媒装置
1日前
三菱重工業株式会社
炉内構造物の解体方法
12日前
三菱重工業株式会社
炭化炉及びその制御方法
1日前
三菱重工業株式会社
電解セル、及び電解装置
2日前
三菱重工業株式会社
デジタル入力モジュール
3日前
三菱重工業株式会社
シール装置および回転機械
3日前
三菱重工業株式会社
水素供給システムおよび方法
12日前
三菱重工業株式会社
バーナ及びこれを備えたボイラ
1日前
三菱重工業株式会社
バーナ及びこれを備えたボイラ
1日前
三菱重工業株式会社
内燃機関の制御装置および方法
8日前
三菱重工業株式会社
蒸気タービン翼及び蒸気タービン
8日前
三菱重工業株式会社
水素製造システム及び水素製造方法
1日前
三菱重工業株式会社
蒸気生成システム及び蒸気生成方法
9日前
三菱重工業株式会社
洗浄装置、分離システム及び洗浄方法
1日前
三菱重工業株式会社
渦電流探傷装置、及び渦電流探傷方法
1日前
三菱重工業株式会社
シール構造の製造方法およびシール構造
3日前
三菱重工業株式会社
電力変換器、および電力変換器の製造方法
8日前
三菱重工業株式会社
移動体、自己位置推定方法及びプログラム
3日前
三菱重工業株式会社
排気設備、及びこれを備えるガスタービン
10日前
三菱重工業株式会社
蓄圧システム及び蓄圧システムの運転方法
2日前
三菱重工業株式会社
シール構造、建屋及びシール構造の製造方法
2日前
三菱重工業株式会社
情報処理装置、情報処理方法及びプログラム
3日前
三菱重工業株式会社
電解モジュールの冷却方法及び電解システム
1日前
三菱重工業株式会社
除去装置、除去装置の制御装置および除去方法
12日前
三菱重工業株式会社
制御装置、ガスタービン、制御方法及びプログラム
4日前
続きを見る
他の特許を見る