TOP
|
特許
|
意匠
|
商標
特許ウォッチ
Twitter
他の特許を見る
公開番号
2025151502
公報種別
公開特許公報(A)
公開日
2025-10-09
出願番号
2024052968
出願日
2024-03-28
発明の名称
シール構造、建屋及びシール構造の製造方法
出願人
三菱重工業株式会社
代理人
個人
,
個人
,
個人
,
個人
,
個人
主分類
F16L
5/02 20060101AFI20251002BHJP(機械要素または単位;機械または装置の効果的機能を生じ維持するための一般的手段)
要約
【課題】耐震性及び止水性を向上させつつ、施工性を向上させることができるシール構造を提供する。
【解決手段】壁部を屋外と屋内とに貫通する貫通孔と、貫通孔に挿通された配設部材との間をシールするシール構造であって、貫通孔と配設部材との間にわたって設けられたシール部材を備え、シール部材は、可撓性を有する材料から構成され、貫通孔の内周面に当接する外周側部材、配設部材の外周面に当接する内周側部材、外周側部材と内周側部材との間の閉塞部を有するシール本体と、閉塞部よりも屋内側で、外周側部材及び内周側部材の一方に接続されて、内部空間が形成された変形部と、を有し、外周側部材及び内周側部材の一方に、屋外に開口するとともに内部空間に連通する導入路が形成されており、変形部は内部空間に導入される液体によって変形することで、外周側部材及び内周側部材の他方に径方向から当接する。
【選択図】図1
特許請求の範囲
【請求項1】
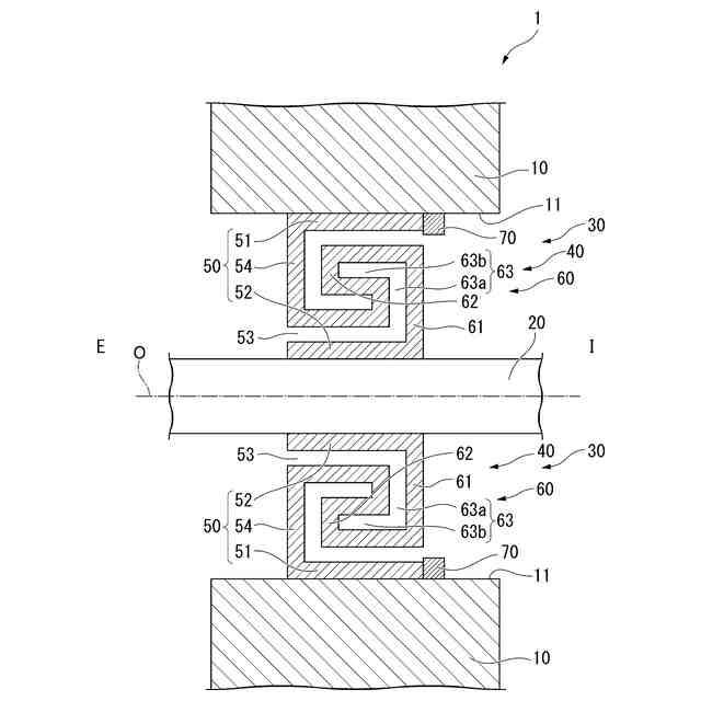
壁部を屋外と屋内とにわたって貫通する貫通孔と、前記貫通孔に挿通された配設部材との間をシールするシール構造であって、
前記貫通孔の内周面と前記配設部材の外周面との間にわたって設けられたシール部材を備え、
前記シール部材は、
可撓性を有する材料から構成されているとともに、前記貫通孔の内周面に当接する円筒状をなす外周側部材、前記配設部材の外周面に当接する円筒状をなす内周側部材、前記外周側部材と前記内周側部材との間の空間を閉塞する閉塞部を有するシール本体と、
前記閉塞部よりも前記屋内側で、前記外周側部材及び前記内周側部材の一方に接続されて、内側に内部空間が形成された変形部と、
を有し、
前記外周側部材及び前記内周側部材の一方に、前記屋外に開口するとともに前記内部空間に連通する導入路が形成されており、
前記変形部は、前記導入路を介して前記内部空間に導入される液体によって変形することで、前記外周側部材及び前記内周側部材の他方に径方向から当接するように構成されているシール構造。
続きを表示(約 770 文字)
【請求項2】
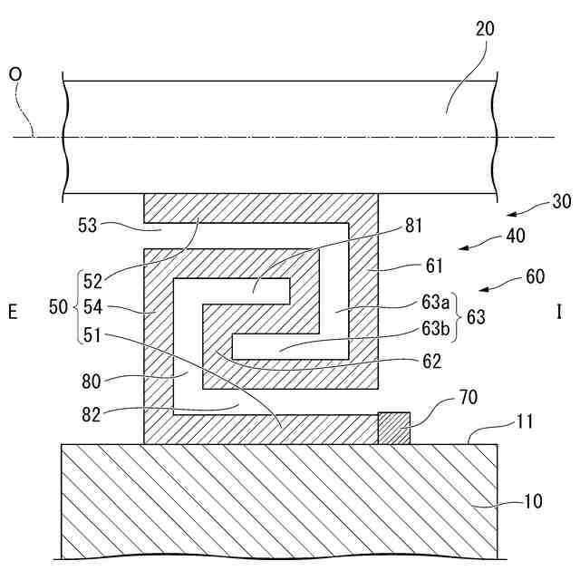
前記変形部は、前記内周側部材に接続されており、
前記導入路は、前記内周側部材に形成されており、
前記変形部は、前記液体によって変形することで、前記外周側部材に径方向内側から当接する請求項1に記載のシール構造。
【請求項3】
前記変形部は、
前記一方における前記屋内側の端部から前記他方に向かって延びる第一部分と、
前記第一部分における前記他方側の端部から前記屋外側に向かって延びる第二部分と、
を有し、
前記内部空間は、
前記第一部分内に形成されて前記導入路に接続された第一空間と、
前記第二部分内に形成されて、前記屋内側の端部が前記第一空間に接続されているとともに、前記屋外側に向かって延びる第二空間と、
を有する請求項2に記載のシール構造。
【請求項4】
前記シール本体と前記変形部とが同一材料で一体形成されている、請求項3に記載のシール構造。
【請求項5】
前記変形部は、
前記一方における前記屋内側の端部から前記他方に向かって延びる弾性部材を有する請求項2に記載のシール構造。
【請求項6】
前記シール部材より前記屋内側であって、前記貫通孔の内周面及び前記配設部材の外周面の少なくとも一方にストッパを有する、請求項1に記載のシール構造。
【請求項7】
請求項1から6のいずれか一項に記載のシール構造と、
前記壁部と、
前記配設部材と、
を備える建屋。
【請求項8】
請求項1から4のいずれか一項に記載のシール構造の製造方法であって、
前記シール部材を積層造形によって製造する工程を含むシール構造の製造方法。
発明の詳細な説明
【技術分野】
【0001】
本開示はシール構造、建屋及びシール構造の製造方法に関する。
続きを表示(約 1,300 文字)
【背景技術】
【0002】
建屋等の外壁を構成する壁部等の構造物には、建屋の内外に貫通する貫通孔が形成されている。この貫通孔に配設部材を挿通することで建屋の屋外から屋内、又は屋内から屋外への流体等の供給や排出を可能としている。
貫通孔と配設部材との間は、屋内外の止水性を確保するために、貫通孔の内周壁と配管の外周壁との間の隙間をシールするシール構造を構成している。
【0003】
例えば特許文献1には、屋内側と屋外側にわたって貫通孔が形成された壁部と、貫通孔を挿通する配設部材と、貫通孔の内周面と配設部材との間の空間をシールするシール材を備えるシール構造が開示されている。
【先行技術文献】
【特許文献】
【0004】
特開2014-25264号公報
【発明の概要】
【発明が解決しようとする課題】
【0005】
ところで上記のようなシール構造では、耐震性及び止水性に加えて、取り付け及び取り外しを容易に行えることが求められている。
【0006】
本開示は、上記課題を解決するためになされたものであって、耐震性及び止水性を向上させつつ、施工性を向上させることができるシール構造、建屋及びシール構造の製造方法を提供することを目的とする。
【課題を解決するための手段】
【0007】
上記課題を解決するために、本開示のシール構造は、壁部を屋外と屋内とにわたって貫通する貫通孔と、前記貫通孔に挿通された配設部材との間をシールするシール構造であって、前記貫通孔の内周面と前記配設部材の外周面との間にわたって設けられたシール部材を備え、前記シール部材は、可撓性を有する材料から構成されているとともに、前記貫通孔の内周面に当接する円筒状をなす外周側部材、前記配設部材の外周面に当接する円筒状をなす内周側部材、前記外周側部材と前記内周側部材との間の空間を閉塞する閉塞部を有するシール本体と、前記閉塞部よりも前記屋内側で、前記外周側部材及び前記内周側部材の一方に接続されて、内側に内部空間が形成された変形部と、を有し、前記外周側部材及び前記内周側部材の一方に、前記屋外に開口するとともに前記内部空間に連通する導入路が形成されており、前記変形部は、前記導入路を介して前記内部空間に導入される液体によって変形することで、前記外周側部材及び前記内周側部材の他方に径方向から当接するように構成されている。
【0008】
本開示の建屋は、上記のシール構造と、前記壁部と、前記配設部材と、を備える。
【0009】
本開示のシール構造の製造方法は、上記のシール構造の製造方法であって、前記シール部材を積層造形によって製造する工程を含む。
【発明の効果】
【0010】
本開示のシール構造、建屋及びシール構造の製造方法によれば、耐震性及び止水性を向上させつつ、施工性を向上させることができる。
【図面の簡単な説明】
(【0011】以降は省略されています)
この特許をJ-PlatPat(特許庁公式サイト)で参照する
関連特許
三菱重工業株式会社
清掃装置
11日前
三菱重工業株式会社
フィルタ装置
10日前
三菱重工業株式会社
皮膜形成装置
3日前
三菱重工業株式会社
容器解体装置
14日前
三菱重工業株式会社
風力発電装置
10日前
三菱重工業株式会社
超音波探傷方法
3日前
三菱重工業株式会社
ポンプシステム
3日前
三菱重工業株式会社
洗浄水噴射ノズル
5日前
三菱重工業株式会社
バッテリ交換装置
4日前
三菱重工業株式会社
主蒸気管洗浄方法
10日前
三菱重工業株式会社
軌道系交通システム
10日前
三菱重工業株式会社
メタン酸化触媒装置
3日前
三菱重工業株式会社
炉内構造物の解体方法
14日前
三菱重工業株式会社
炭化炉及びその制御方法
3日前
三菱重工業株式会社
電解セル、及び電解装置
4日前
三菱重工業株式会社
デジタル入力モジュール
5日前
三菱重工業株式会社
シール装置および回転機械
5日前
三菱重工業株式会社
水素供給システムおよび方法
14日前
三菱重工業株式会社
バーナ及びこれを備えたボイラ
3日前
三菱重工業株式会社
バーナ及びこれを備えたボイラ
3日前
三菱重工業株式会社
内燃機関の制御装置および方法
10日前
三菱重工業株式会社
蒸気タービン翼及び蒸気タービン
10日前
三菱重工業株式会社
水素製造システム及び水素製造方法
3日前
三菱重工業株式会社
蒸気生成システム及び蒸気生成方法
11日前
三菱重工業株式会社
洗浄装置、分離システム及び洗浄方法
3日前
三菱重工業株式会社
渦電流探傷装置、及び渦電流探傷方法
3日前
三菱重工業株式会社
シール構造の製造方法およびシール構造
5日前
三菱重工業株式会社
電力変換器、および電力変換器の製造方法
10日前
三菱重工業株式会社
移動体、自己位置推定方法及びプログラム
5日前
三菱重工業株式会社
排気設備、及びこれを備えるガスタービン
12日前
三菱重工業株式会社
蓄圧システム及び蓄圧システムの運転方法
4日前
三菱重工業株式会社
シール構造、建屋及びシール構造の製造方法
4日前
三菱重工業株式会社
情報処理装置、情報処理方法及びプログラム
5日前
三菱重工業株式会社
電解モジュールの冷却方法及び電解システム
3日前
三菱重工業株式会社
除去装置、除去装置の制御装置および除去方法
14日前
三菱重工業株式会社
制御装置、ガスタービン、制御方法及びプログラム
6日前
続きを見る
他の特許を見る