TOP
|
特許
|
意匠
|
商標
特許ウォッチ
Twitter
他の特許を見る
公開番号
2025147699
公報種別
公開特許公報(A)
公開日
2025-10-07
出願番号
2024048077
出願日
2024-03-25
発明の名称
制御装置、ガスタービン、制御方法及びプログラム
出願人
三菱重工業株式会社
代理人
個人
,
個人
,
個人
,
個人
,
個人
主分類
F02C
9/22 20060101AFI20250930BHJP(燃焼機関;熱ガスまたは燃焼生成物を利用する機関設備)
要約
【課題】燃料切り替え時における冷却用空気の温度が目標温度となるように制御する技術を提供する。
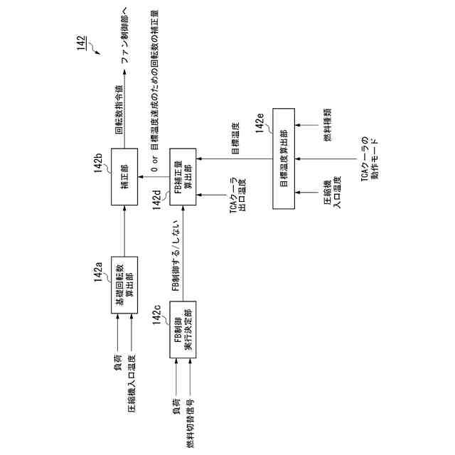
【解決手段】制御装置は、圧縮機から抽気した圧縮空気の一部を冷却する冷却器を備える燃料切り替え式のガスタービンの制御装置であって、燃料切替信号を取得する手段と、入口案内翼の開度を制御する手段と、冷却器の出口側温度を制御する手段であって、ガスタービンの出力値に応じた制御値によって前記出口側温度を制御するか、又は、出口側温度の目標値と計測値の偏差に基づくフィードバック制御によって算出された制御値によって前記出口側温度を制御するかを、ガスタービン出力値に応じて切り替える手段と、を備え、燃料切替信号が取得された場合、入口案内翼の開度を大きくし、前記フィードバック制御によって算出された制御値によって出口側温度を制御する。
【選択図】図1
特許請求の範囲
【請求項1】
圧縮機と、燃焼器と、タービン部と、前記圧縮機が圧縮した圧縮空気の一部と前記燃焼器へ供給する燃料との熱交換を行う冷却器と、を備え、前記燃焼器へ供給する前記燃料を複数種類の燃料のうちの何れかに切り変え可能なガスタービンの制御装置であって、
前記燃焼器に供給する前記燃料が切り替え中であることを示す燃料切替信号を取得する信号取得手段と、
前記圧縮機の入口案内翼の開度を制御する入口案内翼制御手段と、
前記冷却器の出口側における前記圧縮空気の温度である冷却温度を制御する手段であって、前記ガスタービンの出力値に応じた制御値によって前記冷却温度を制御するか、又は、前記冷却温度の目標値と前記冷却温度の計測値との偏差に基づくフィードバック制御を実行して前記冷却温度の目標値を達成するための補正量を算出し、前記制御値に前記補正量を加算した値によって前記冷却温度を制御するか、を前記ガスタービンの出力値に応じて切り替える冷却制御手段と、
を備え、
前記信号取得手段が前記燃料切替信号を取得した場合、
前記入口案内翼制御手段は、前記入口案内翼の開度を大きくし、
前記冷却制御手段は、前記フィードバック制御を実行して、前記制御値に前記補正量を加算した値によって前記冷却温度を制御する、
制御装置。
続きを表示(約 1,800 文字)
【請求項2】
前記冷却制御手段は、前記ガスタービンの出力値が所定の閾値未満である場合は前記フィードバック制御を実行せず、前記ガスタービンの出力値が前記閾値以上の場合、前記フィードバック制御を実行し、前記信号取得手段が前記燃料切替信号を取得した場合、前記ガスタービンの出力値が前記閾値未満であっても前記フィードバック制御を実行する、
請求項1に記載の制御装置。
【請求項3】
前記ガスタービンの出力値を制御する出力制御手段、をさらに備え、
出力制御手段は、前記信号取得手段が燃料切替信号を取得した場合、前記ガスタービンの出力値の変化を所定の範囲内に抑制する、
請求項1又は請求項2に記載の制御装置。
【請求項4】
前記信号取得手段が前記燃料切替信号を取得しなくなると、
冷却制御手段は、前記ガスタービンの出力値が前記閾値未満であれば、前記ガスタービンの出力値に応じた前記制御値によって前記冷却温度を制御し、前記ガスタービンの出力値が前記閾値以上であれば、前記フィードバック制御を実行して、前記制御値に当該補正量を加算した値で前記冷却温度を制御する、
請求項1又は請求項2に記載の制御装置。
【請求項5】
前記冷却制御手段は、前記冷却温度の目標値を、前記圧縮機の入口温度と、前記燃料の種類と、前記冷却温度を高温とするか低温とするかを示す設定情報と、に基づいて算出する、
請求項1又は請求項2に記載の制御装置。
【請求項6】
前記冷却制御手段は、前記ガスタービンの出力値と、前記圧縮機の入口温度と、に基づいて前記制御値を算出する、
請求項1又は請求項2に記載の制御装置。
【請求項7】
前記冷却器は、前記圧縮空気の一部と前記燃料との熱交換を行う熱交換器と、前記熱交換器への送風を行うファンと、を備え、
前記冷却制御手段は、前記ガスタービンの出力値に応じた制御値によって前記冷却温度を制御する場合、前記制御値として、前記ガスタービンの出力値と、前記圧縮機の入口温度と、に基づいて、前記ファンの回転数を算出する、
請求項1又は請求項2に記載の制御装置。
【請求項8】
圧縮機と、複数種類の燃料の何れかを切り変えて供給可能な燃焼器と、タービン部と、前記圧縮機が圧縮した圧縮空気の一部と前記燃焼器へ供給する燃料との熱交換を行う冷却器と、
請求項1又は請求項2に記載の制御装置と、
を備えるガスタービン。
【請求項9】
圧縮機と、燃焼器と、タービン部と、前記圧縮機が圧縮した圧縮空気の一部と前記燃焼器へ供給する燃料との熱交換を行う冷却器と、を備え、前記燃焼器へ供給する前記燃料を複数種類の燃料のうちの何れかに切り変え可能なガスタービンの制御方法であって、
前記燃焼器に供給する前記燃料が切り替え中であることを示す燃料切替信号を取得すると、
前記圧縮機の入口案内翼の開度を大きくし、
前記冷却器の出口側における前記圧縮空気の温度である冷却温度の目標値と前記冷却温度の計測値との偏差に基づくフィードバック制御を実行して、前記冷却温度の目標値を達成するための補正量を算出し、前記ガスタービンの出力値に応じた制御値に前記補正量を加算した値で前記冷却温度を制御する、
制御方法。
【請求項10】
コンピュータに、
圧縮機と、燃焼器と、タービン部と、前記圧縮機が圧縮した圧縮空気の一部と前記燃焼器へ供給する燃料との熱交換を行う冷却器と、を備え、前記燃焼器へ供給する前記燃料を複数種類の燃料のうちの何れかに切り変え可能なガスタービンを制御する処理であって、
前記燃焼器に供給する前記燃料が切り替え中であることを示す燃料切替信号を取得し、
前記圧縮機の入口案内翼の開度を大きくし、
前記冷却器の出口側における前記圧縮空気の温度である冷却温度の目標値と前記冷却温度の計測値との偏差に基づくフィードバック制御を実行して、前記冷却温度の目標値を達成するための補正量を算出し、前記ガスタービンの出力値に応じた制御値に前記補正量を加算した値で前記冷却温度を制御する処理、
を実行させるプログラム。
発明の詳細な説明
【技術分野】
【0001】
本開示は、制御装置、ガスタービン、制御方法及びプログラムに関する。
続きを表示(約 1,900 文字)
【背景技術】
【0002】
ガスタービンの圧縮機で圧縮された圧縮空気と燃焼器に供給する燃料とを熱交換して、圧縮空気の冷却と燃料の過熱を行い、冷却した圧縮空気をタービンまたは燃焼器へ供給するTCA(Turbine Cooling Air)クーラ等の冷却器が提供されている。TCAクーラの熱交換器にはファンが設けられ、ファンの風量を調整する事により、TCAクーラ出口側の圧縮空気の温度が制御される。従来、このファンの回転数は、ガスタービンの負荷に応じて決定されている。
【0003】
また、ガスタービンの燃焼器にガス燃料または油燃料の何れかを切り替えて供給するように構成された、いわゆるデュアル焚き式、デュアル燃料式等と呼ばれる燃焼器が提供されている。デュアル焚き式の燃焼器に供給する燃料の種類を切り替える際、TCAクーラ出口側の圧縮空気(冷却用空気と称する。)の温度制御性が低下し、所定の目標温度から乖離する場合がある。冷却用空気の温度が目標温度から乖離すると、ガスタービンの運転に影響する。
【0004】
特許文献1には、ガスタービンの運転状態に応じた冷却用空気の目標温度を設定し、その目標温度に対するフィードバック制御を行うことにより、タービンを冷却するための冷却用空気の温度制御を行う技術が開示されている。しかし、特許文献1には、燃料の種類を切り替えた場合の冷却用空気の温度制御については開示がない。
【先行技術文献】
【特許文献】
【0005】
特開2017-115666号公報
【発明の概要】
【発明が解決しようとする課題】
【0006】
燃料切り替え時における冷却用空気の温度が目標温度となるように制御する技術を提供する。
【0007】
本開示は、上記課題を解決することができる制御装置、ガスタービン、制御方法及びプログラムを提供する。
【課題を解決するための手段】
【0008】
本開示に係る制御装置は、圧縮機と、燃焼器と、タービン部と、前記圧縮機が圧縮した圧縮空気の一部と前記燃焼器へ供給する燃料との熱交換を行う冷却器と、を備え、前記燃焼器へ供給する前記燃料を複数種類の燃料のうちの何れかに切り変可能なガスタービンの制御装置であって、前記燃焼器に供給する前記燃料が切り替え中であることを示す燃料切替信号を取得する信号取得手段と、前記圧縮機の入口案内翼の開度を制御する入口案内翼制御手段と、前記冷却器の出口側における前記圧縮空気の温度である冷却温度を制御する手段であって、前記ガスタービンの出力値に応じた制御値によって前記冷却温度を制御するか、又は、前記冷却温度の目標値と前記冷却温度の計測値との偏差に基づくフィードバック制御を実行して、前記冷却温度の目標値を達成するための補正量を算出し、前記制御値に前記補正量を加算した値によって前記冷却温度を制御するかを、前記ガスタービンの出力値に応じて切り替える冷却制御手段と、を備え、前記信号取得手段が前記燃料切替信号を取得した場合、前記入口案内翼制御手段は、前記入口案内翼の開度を大きくし、前記冷却制御手段は、前記フィードバック制御を実行して、前記制御値に前記補正量を加算した値によって前記冷却温度を制御する。
【0009】
本開示に係るガスタービンは、圧縮機と、複数種類の燃料の何れかを切り変えて供給可能な燃焼器と、タービン部と、前記圧縮機が圧縮した圧縮空気の一部と前記燃焼器へ供給する燃料との熱交換を行う冷却器と、上記の制御装置と、を備える。
【0010】
本開示に係る制御方法は、圧縮機と、燃焼器と、タービン部と、前記圧縮機が圧縮した圧縮空気の一部と前記燃焼器へ供給する燃料との熱交換を行う冷却器と、を備え、前記燃焼器へ供給する前記燃料を複数種類の燃料のうちの何れかに切り変え可能なガスタービンの制御方法であって、前記燃焼器に供給する前記燃料が切り替え中であることを示す燃料切替信号を取得し、前記圧縮機の入口案内翼の開度を大きくし、前記冷却器の出口側における前記圧縮空気の温度である冷却温度の目標値と前記冷却温度の計測値との偏差に基づくフィードバック制御を実行して、前記冷却温度の目標値を達成するための補正量を算出し、前記ガスタービンの出力値に応じた制御値に前記補正量を加算した値で前記冷却温度を制御する。
(【0011】以降は省略されています)
この特許をJ-PlatPat(特許庁公式サイト)で参照する
関連特許
三菱重工業株式会社
演算方法、プログラム及び演算装置
1日前
三菱重工業株式会社
流路形成板、分割環、静翼、ガスタービン、及び流路形成板の製造方法
今日
三菱重工業株式会社
シミュレータ、シミュレーション方法、及びコンピュータ読み取り可能な記録媒体
今日
個人
バンケル型内燃機関の改良
9日前
スズキ株式会社
車両の制御装置
6日前
本田技研工業株式会社
車両
13日前
本田技研工業株式会社
車両
13日前
トヨタ自動車株式会社
電磁弁
9日前
本田技研工業株式会社
内燃機関
13日前
株式会社クボタ
作業車両
14日前
本田技研工業株式会社
内燃機関
14日前
個人
流体式推力方向制御装置
24日前
本田技研工業株式会社
始動制御装置
13日前
本田技研工業株式会社
始動制御装置
13日前
トヨタ自動車株式会社
エンジン制御装置
20日前
トヨタ自動車株式会社
電磁弁の制御装置
9日前
本田技研工業株式会社
可変ファンネル装置
13日前
大阪瓦斯株式会社
エンジンシステム
13日前
トヨタ自動車株式会社
V型8気筒エンジン
9日前
本田技研工業株式会社
内燃機関の吸気構造
14日前
株式会社デンソートリム
エンジン制御装置
20日前
日産自動車株式会社
内燃機関
20日前
日産自動車株式会社
内燃機関
20日前
マツダ株式会社
エンジン
14日前
トヨタ自動車株式会社
内燃機関の燃料供給装置
24日前
株式会社SUBARU
車両
9日前
トヨタ自動車株式会社
インジェクタの制御装置
22日前
トヨタ自動車株式会社
内燃機関の燃料供給装置
20日前
ヤンマーホールディングス株式会社
エンジン装置
22日前
本田技研工業株式会社
内燃機関の制御装置
14日前
ヤンマーホールディングス株式会社
エンジン装置
22日前
三菱重工業株式会社
動力装置
2日前
ヤンマーホールディングス株式会社
エンジン装置
22日前
ヤンマーホールディングス株式会社
エンジン装置
22日前
大阪瓦斯株式会社
発電設備、及び発電方法
22日前
ヤンマーホールディングス株式会社
エンジン装置
22日前
続きを見る
他の特許を見る