TOP
|
特許
|
意匠
|
商標
特許ウォッチ
Twitter
他の特許を見る
10個以上の画像は省略されています。
公開番号
2025142836
公報種別
公開特許公報(A)
公開日
2025-10-01
出願番号
2024042420
出願日
2024-03-18
発明の名称
排気設備、及びこれを備えるガスタービン
出願人
三菱重工業株式会社
代理人
個人
,
個人
,
個人
,
個人
,
個人
主分類
F02C
7/00 20060101AFI20250924BHJP(燃焼機関;熱ガスまたは燃焼生成物を利用する機関設備)
要約
【課題】排気車室の内周側と第一外側ディフューザの外周側との間への排気ガスの流入を抑制する。
【解決手段】排気設備は、第一外側ディフューザと、第二外側ディフューザと、前記第一外側ディフューザの外周側を覆う排気車室と、前記第二外側ディフューザの外側を覆う排気室と、第一環状シール装置と、第二環状シール装置と、第三環状シール装置と、を備える。前記第一環状シール装置は、前記第一外側ディフューザと前記排気車室と間への排気ガスの流入を抑制できるよう配置され、前記第二環状シール装置は、前記第二外側ディフューザと前記排気室と間への前記排気ガスの流入を抑制できるよう配置されている。前記第三環状シール装置は、前記第一環状シール装置と前記第二環状シール装置との間に配置され、前記排気ガスの前記第一環状シール装置の側への流れを抑制できるよう配置されている。
【選択図】図3
特許請求の範囲
【請求項1】
軸線を中心として筒状を成し、タービンロータを回転させた排気ガスが通る排気流路の上流側部分における径方向外側の縁を画定する第一外側ディフューザと、
前記第一外側ディフューザに対して、前記軸線が延びる軸線方向における軸線上流側と軸線下流側とのうちの前記軸線下流側に間隔をあけて配置され、前記軸線を中心として筒状を成し、前記第一外側ディフューザ内を通過した排気ガスが通る前記排気流路の下流側部分における径方向外側の縁を画定する第二外側ディフューザと、
前記軸線を中心として筒状を成し、前記第一外側ディフューザの外周側を覆う排気車室と、
前記軸線を中心として筒状を成し、前記第二外側ディフューザの外側を覆う排気室と、
前記軸線を中心として環状の第一環状シール装置と、
前記軸線を中心として環状の第二環状シール装置と、
前記軸線を中心として環状の第三環状シール装置と、
を備え、
前記排気車室は、前記軸線を中心として筒状の排気車室本体と、前記排気車室本体の前記軸線下流側の端から前記軸線に対する径方向外側に広がっている排気車室フランジと、を有し、
前記排気室は、前記軸線を中心として筒状の排気室本体と、前記排気室本体の前記軸線上流側の端から前記径方向外側に広がって、前記排気車室フランジと接続されている排気室フランジと、を有し、
前記第一環状シール装置は、前記第一外側ディフューザと前記排気車室本体と間の第一外側空間への前記排気ガスの流入を抑制できるよう、前記第一外側ディフューザに設けられ、
前記第二環状シール装置は、前記第二外側ディフューザと前記排気室本体と間の第二外側空間への前記排気ガスの流入を抑制できるよう、前記第二外側ディフューザに設けられ、
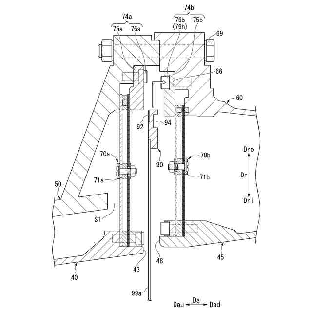
前記第三環状シール装置は、前記軸線方向における前記第一環状シール装置と前記第二環状シール装置との間に配置され、
前記第三環状シール装置は、前記排気ガスの前記第一環状シール装置の側への流れを抑制できるよう、前記第一外側ディフューザの前記軸線下流側の端に設けられている、又は、前記排気ガスの前記第二環状シール装置の側への流れを抑制できるよう、前記第二外側ディフューザの前記軸線上流側の端に設けられている、
排気設備。
続きを表示(約 2,100 文字)
【請求項2】
請求項1に記載の排気設備において、
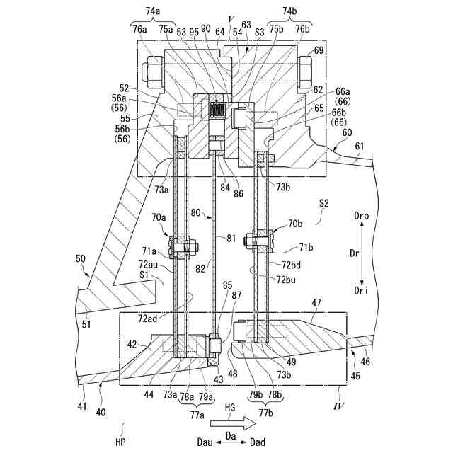
前記第三環状シール装置は、前記軸線に対する周方向に並ぶ複数の第三シール組品を有し、
前記複数の第三シール組品は、いずれも、前記軸線に対する径方向及び前記周方向に広がるシール板と、前記シール板の前記軸線に対する径方向内側の縁を支持する内側枠と、前記シール板の前記径方向外側の縁を支持する外側枠と、を有する、
排気設備。
【請求項3】
請求項2に記載の排気設備において、
前記第三環状シール装置は、前記排気ガスの前記第二環状シール装置の側への流れを抑制できるよう、前記第二外側ディフューザの前記軸線下流側の端に設けられ、
前記排気車室フランジは、前記排気室フランジと接触する排気車室接触面を有する接続部と、前記排気車室接触面よりも前記径方向内側で且つ前記軸線上流側に位置する排気車室逃げ面を有する逃げ部と、を有し、
前記排気室フランジは、前記排気車室接触面と接触する排気室接触面を有する接続部と、前記排気室接触面よりも前記径方向内側で且つ前記軸線下流側に位置して、前記排気車室逃げ面に対して前記軸線方向で間隔をあけて対向する排気室逃げ面を有する逃げ部と、を有し、
前記複数の第三シール組品毎の前記外側枠は、前記径方向に移動可能に、前記排気車室逃げ面と前記排気室逃げ面との間に配置されている、
排気設備。
【請求項4】
請求項3に記載の排気設備において、
前記第三環状シール装置は、前記複数の第三シール組品毎の前記外側枠と前記排気室逃げ面との間である枠-逃げ面間に配置され、前記複数の第三シール組品毎の前記外側枠の前記軸線方向への移動を規制する一方で前記外側枠の前記径方向の移動を許容するスペーサを有する、
排気設備。
【請求項5】
請求項4に記載の排気設備において、
前記第二環状シール装置は、前記枠-逃げ面間に配置され、前記排気室に対して相対移動不能に設けられている第二部材を有し、
前記第三環状シール装置は、前記スペーサと前記第二部材との間の摩擦力を高めて、前記スペーサの前記径方向及び前記軸線方向への移動を抑制するスペーサ移動抑制具を有する、
排気設備。
【請求項6】
請求項5に記載の排気設備において、
前記第一環状シール装置は、前記軸線方向で間隔をあけて前記スペーサと対向し、前記排気車室に対して相対移動不能に設けられている第一部材を有し、
前記スペーサ移動抑制具は、前記軸線方向に弾性力を発生するバネと、前記バネの前記軸線方向における一方側(軸方向上流側)の端を覆い前記第一部材と接触するバネ支持枠と、前記バネの前記軸線方向の他方側の端を覆い前記スペーサと接触するバネカバーと、を有する、
排気設備。
【請求項7】
請求項6に記載の排気設備において、
前記バネ支持枠は、前記バネの前記軸線方向における前記一方側の端を覆う枠本体と、枠フランジと、を有し、
前記枠本体は、前記第一部材に接触する部材接触面を有し、
前記枠フランジは、前記部材接触面よりも前記軸線方向の前記他方側に位置して、前記枠本体から前記周方向に突出しており、
前記バネカバーは、前記バネの前記軸線方向における前記他方側の端を覆うカバー本体と、カバーフランジと、を有し、
前記カバー本体は、前記スペーサに接触するスペーサ接触面を有し、
前記カバーフランジは、前記スペーサ接触面よりも前記軸線方向の前記一方側に位置して、前記カバー本体から前記周方向に突出しており、
前記カバーフランジは、前記枠フランジに対して、前記軸線方向で間隔をあけて対向している、
排気設備。
【請求項8】
請求項6に記載の排気設備において、
前記スペーサには、前記軸線方向に凹み、前記バネカバーの一部が入り込む凹部が形成されている、
排気設備。
【請求項9】
請求項3から8のいずれか一項に記載の排気設備において、
前記複数の第三シール組品毎の前記内側枠は、前記第一外側ディフューザの前記軸線下流側の端に溶接で固定されている、
排気設備。
【請求項10】
請求項2から8のいずれか一項に記載の排気設備において、
前記複数の第三シール組品のうち、少なくとも一の第三シール組品の前記シール板は、前記径方向外側の縁の前記周方向の長さと前記径方向内側の縁の前記周方向の長さとが同じであり、
前記複数の第三シール組品のうち、前記少なくとも一の第三シール組品を除く他の第三シール組品の前記シール板は、前記径方向外側の縁の前記周方向の長さが前記径方向内側の縁の前記周方向の長さよりも長い、
排気設備。
(【請求項11】以降は省略されています)
発明の詳細な説明
【技術分野】
【0001】
本発明は、ガスタービンのタービンロータを回転させた排気ガスが通る排気流路を形成する排気設備、及びこれを備えるガスタービンに関する。
続きを表示(約 2,700 文字)
【背景技術】
【0002】
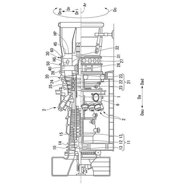
ガスタービンは、外気を圧縮して圧縮空気を生成する圧縮機と、燃料を圧縮空気に混合して燃焼させて燃焼ガスを生成する燃焼器と、燃焼ガスにより駆動するタービンと、排気設備と、を備える。タービンは、軸線を中心として回転可能なタービンロータと、このタービンロータの外周を覆うタービン車室と、を有する。タービンロータは、軸線を中心として軸線方向に延びるロータ軸と、このロータ軸に取り付けられている複数の動翼列と、を有する。複数の動翼列は、軸線方向で互いに間隔をあけて、軸線方向に並んでいる。複数の動翼列は、いずれも、軸線に対する周方向に並ぶ複数の動翼を有する。
【0003】
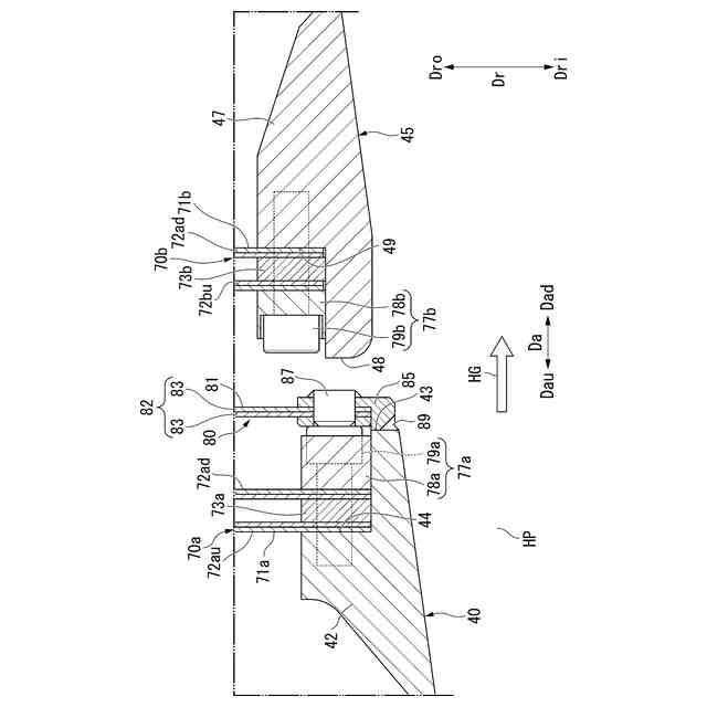
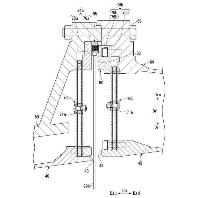
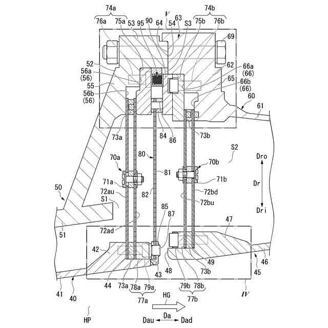
排気設備は、タービンロータの複数の動翼列を通過した燃焼ガスである排気ガスが通る排気流路を画定する設備である。この排気設備は、例えば、以下の特許文献1に記載されているように、第一外側ディフューザと、第二外側ディフューザと、排気車室と、排気室と、第一環状シール装置と、第二環状シール装置と、を有する。
【0004】
第一外側ディフューザは、軸線を中心として筒状を成し、排気流路の上流側部分における径方向外側の縁を画定する。この第一外側ディフューザは、タービンロータ中で、動翼列が存在しない軸線下流側の部分の外周を覆う。排気車室は、軸線を中心として筒状を成し、第一外側ディフューザの外周側を覆う。第一外側ディフューザ及び排気車室は、いずれも、タービン車室の軸線下流側の端に接続されている。第二外側ディフューザは、軸線を中心として筒状を成し、排気流路の下流側部分における径方向外側の縁を画定する。排気室は、軸線を中心として筒状を成し、第二外側ディフューザの外周側を覆う。第二外側ディフューザは、第一外側ディフューザの軸線方向への熱伸びを許容できるよう、第一外側ディフューザに対して軸線下流側に間隔をあけて配置されている。
【0005】
第一環状シール装置は、第一外側ディフューザと排気車室と間への排気ガスの流入を抑制できるよう、第一外側ディフューザの軸線下流側の端部から排気車室の軸線下流側の端部にかけて設けられている。すなわち、第一環状シール装置は、排気車室の内周側と第一外側ディフューザの外周側との間の第一外側空間と、排気流路との間をシールする役目を担っている。第二環状シール装置は、第二外側ディフューザと排気室と間への排気ガスの流入を抑制できるよう、第二外側ディフューザの軸線上流側の端部から排気室の軸線上流側の端部にかけて設けられている。すなわち、第二環状シール装置は、排気室の内周側と第二外側ディフューザの外周側との間の第二外側空間と、排気流路との間をシールする役目を担っている。
【先行技術文献】
【特許文献】
【0006】
国際公開第2013/132692号
【発明の概要】
【発明が解決しようとする課題】
【0007】
近年、ガスタービン効率を高めるために、燃焼ガスの温度が高くなってきている。このため、第一環状シール装置や第二環状シール装置が熱損傷する可能性が高まっている。仮に、第一環状シール装置が損傷すると、第一外側空間内に高温の排気ガスが流入し、第一外側空間に存在していた空気による第一外側ディフューザの冷却効果が著しく低下し、第一外側ディフューザまでもが熱損傷するおそれがある。
【0008】
そこで、本開示は、排気車室の内周側と第一外側ディフューザの外周側との間への排気ガスの流入、又は排気車室の内周側と第一外側ディフューザの外周側との間への排気ガスの流入を抑制することができる、排気設備、及びこれを備えるガスタービンを提供することを目的とする。
【課題を解決するための手段】
【0009】
上記目的を達成するための発明に係る一態様としての排気設備は、
軸線を中心として筒状を成し、タービンロータを回転させた排気ガスが通る排気流路の上流側部分における径方向外側の縁を画定する第一外側ディフューザと、前記第一外側ディフューザに対して、前記軸線が延びる軸線方向における軸線上流側と軸線下流側とのうちの前記軸線下流側に間隔をあけて配置され、前記軸線を中心として筒状を成し、前記第一外側ディフューザ内を通過した排気ガスが通る前記排気流路の下流側部分における径方向外側の縁を画定する第二外側ディフューザと、前記軸線を中心として筒状を成し、前記第一外側ディフューザの外周側を覆う排気車室と、前記軸線を中心として筒状を成し、前記第二外側ディフューザの外側を覆う排気室と、前記軸線を中心として環状の第一環状シール装置と、前記軸線を中心として環状の第二環状シール装置と、前記軸線を中心として環状の第三環状シール装置と、を備える。前記排気車室は、前記軸線を中心として筒状の排気車室本体と、前記排気車室本体の前記軸線下流側の端から前記軸線に対する径方向外側に広がっている排気車室フランジと、を有する。前記排気室は、前記軸線を中心として筒状の排気室本体と、前記排気室本体の前記軸線上流側の端から前記径方向外側に広がって、前記排気車室フランジと接続されている排気室フランジと、を有する。前記第一環状シール装置は、前記第一外側ディフューザと前記排気車室本体と間の第一外側空間への前記排気ガスの流入を抑制できるよう、前記第一外側ディフューザに設けられている。前記第二環状シール装置は、前記第二外側ディフューザと前記排気室本体と間の第二外側空間への前記排気ガスの流入を抑制できるよう、前記第二外側ディフューザに設けられている。前記第三環状シール装置は、前記軸線方向における前記第一環状シール装置と前記第二環状シール装置との間に配置されている。前記第三環状シール装置は、前記排気ガスの前記第一環状シール装置の側への流れを抑制できるよう、前記第一外側ディフューザの前記軸線下流側の端に設けられている、又は、前記排気ガスの前記第二環状シール装置の側への流れを抑制できるよう、前記第二外側ディフューザの前記軸線上流側の端に設けられている、
【0010】
本態様では、第一環状シール装置により、第一外側空間への排気ガスの流入を抑制できると共に、第二環状シール装置により、第二外側空間への排気ガスの流入を抑制できる。
(【0011】以降は省略されています)
この特許をJ-PlatPat(特許庁公式サイト)で参照する
関連特許
トヨタ自動車株式会社
車両
28日前
トヨタ自動車株式会社
車両
1か月前
トヨタ自動車株式会社
車両
25日前
ダイハツ工業株式会社
車両
23日前
ダイハツ工業株式会社
制御装置
22日前
ダイハツ工業株式会社
制御装置
22日前
ダイハツ工業株式会社
制御装置
22日前
スズキ株式会社
車両の制御装置
16日前
スズキ株式会社
内燃機関の制御装置
25日前
トヨタ自動車株式会社
車両の制御装置
14日前
トヨタ自動車株式会社
内燃機関
14日前
個人
疑似可変サイクルジェットエンジン機構
1か月前
株式会社SUBARU
エンジン制御装置
22日前
株式会社SUBARU
エンジン制御装置
16日前
株式会社IHI原動機
脈動減衰装置
14日前
トヨタ自動車株式会社
内燃機関の制御装置
25日前
朝日電装株式会社
スロットルグリップ装置
4日前
個人
流体式推力方向制御装置
4日前
トヨタ自動車株式会社
エンジンの制御装置
1か月前
トヨタ自動車株式会社
閾値の設定装置
4日前
トヨタ自動車株式会社
車両の制御装置
1か月前
トヨタ自動車株式会社
エンジン制御装置
今日
本田技研工業株式会社
内燃機関の制御装置
14日前
トヨタ自動車株式会社
内燃機関の制御装置
25日前
株式会社豊田自動織機
車両
24日前
日産自動車株式会社
内燃機関
今日
トヨタ自動車株式会社
内燃機関の制御装置
1か月前
日産自動車株式会社
内燃機関
今日
株式会社デンソートリム
エンジン制御装置
今日
本田技研工業株式会社
EGRバルブ制御装置
4日前
トヨタ自動車株式会社
エンジンシステムの診断装置
16日前
トヨタ自動車株式会社
インジェクタの制御装置
2日前
トヨタ自動車株式会社
内燃機関の燃料供給装置
今日
Astemo株式会社
内燃機関制御装置
1か月前
トヨタ自動車株式会社
エンジン制御装置
4日前
トヨタ自動車株式会社
内燃機関の燃料供給装置
4日前
続きを見る
他の特許を見る