TOP
|
特許
|
意匠
|
商標
特許ウォッチ
Twitter
他の特許を見る
10個以上の画像は省略されています。
公開番号
2025129548
公報種別
公開特許公報(A)
公開日
2025-09-05
出願番号
2024026251
出願日
2024-02-26
発明の名称
記録装置
出願人
セイコーエプソン株式会社
代理人
個人
,
個人
,
個人
主分類
B41J
11/70 20060101AFI20250829BHJP(印刷;線画機;タイプライター;スタンプ)
要約
【課題】カッター刃に対する安全性を向上させることができる記録装置を提供する。
【解決手段】記録装置は、搬送経路に沿って搬送方向に媒体を搬送する搬送部と、搬送部により搬送された媒体に画像を記録する記録部と、搬送経路において媒体を加工するためのカッター刃を有するカッターユニットと、カッターユニットを着脱可能であり、かつ、搬送方向と交差する幅方向に移動するカッターキャリッジと、カッターユニットをカッターキャリッジから取り外すことを規制する規制部と、を備える。
【選択図】図6
特許請求の範囲
【請求項1】
搬送経路に沿って搬送方向に媒体を搬送する搬送部と、
前記搬送部により搬送された媒体に画像を記録する記録部と、
前記搬送経路において媒体を加工するためのカッター刃を有するカッターユニットと、
前記カッターユニットを着脱可能であり、かつ、前記搬送方向と交差する幅方向に移動するカッターキャリッジと、
前記カッターユニットを前記カッターキャリッジから取り外すことを規制する規制部と、
を備える、
ことを特徴とする記録装置。
続きを表示(約 2,600 文字)
【請求項2】
請求項1に記載の記録装置において、
筐体を備え、
前記筐体は、開口部と、前記開口部を開閉可能である開閉カバーと、を有し、
前記筐体は、少なくとも前記カッターユニット及び前記カッターキャリッジを収容し、かつ、前記開口部を介して前記カッターユニットの前記カッターキャリッジからの取外操作を可能とし、
前記規制部は、前記開口部が閉鎖した状態で前記開閉カバーをロックするカバーロック部を有する、
ことを特徴とする記録装置。
【請求項3】
請求項2に記載の記録装置において、
前記カバーロック部は、ユーザーからの指示に応じて、前記開閉カバーのロックを解除する、
ことを特徴とする記録装置。
【請求項4】
請求項1に記載の記録装置において、
筐体を備え、
前記筐体は、開口部と、前記開口部を開閉可能である開閉カバーと、を有し、
前記筐体は、少なくとも前記カッターユニット及び前記カッターキャリッジを収容し、かつ、前記開口部を介して前記カッターユニットの前記カッターキャリッジからの取外操作を可能とし、
前記カッターキャリッジは、待機位置と着脱位置との間で移動可能であり、
前記規制部は、前記開口部が開放した状態で前記カッターキャリッジが前記待機位置に配置されているときに、前記開口部を介して前記カッターユニットの前記カッターキャリッジからの取外操作を規制する規制壁を有する、
ことを特徴とする記録装置。
【請求項5】
請求項4に記載の記録装置において、
前記カッターキャリッジは、ユーザーからの指示に応じて前記待機位置から前記着脱位置に移動する、
ことを特徴とする記録装置。
【請求項6】
請求項4に記載の記録装置において、
前記カッターキャリッジは、前記カッターユニットを装着しているときに前記カッターユニットを固定するユニット固定部を有し、
前記ユニット固定部は、前記カッターユニットを固定する固定位置と、前記カッターユニットを固定しない解除位置との間で移動可能であり、
前記ユニット固定部が前記解除位置に配置されている状態で、前記カッターキャリッジが前記着脱位置から前記待機位置に向かって移動するときに、前記規制壁は、前記ユニット固定部との当接により、前記カッターキャリッジの前記待機位置への移動を規制する、
ことを特徴とする記録装置。
【請求項7】
請求項1~請求項6のうち何れか一項に記載の記録装置において、
第1当接部を備え、
前記カッターキャリッジは、
前記カッターユニットを装着している状態で前記カッターユニットを固定する固定位置と、前記カッターユニットを固定しない解除位置との間で移動可能であるユニット固定部と、
前記ユニット固定部が前記固定位置に配置されている状態で前記ユニット固定部をロックすることができるユニットロック部と、
を有し、
前記規制部は、前記ユニットロック部を有し、
前記第1当接部は、前記ユニットロック部との当接により、前記ユニットロック部に前記ユニット固定部をロックさせる、
ことを特徴とする記録装置。
【請求項8】
請求項1~請求項6のうち何れか一項に記載の記録装置において、
第2当接部を備え、
前記カッターキャリッジは、
前記カッターユニットを装着している状態で前記カッターユニットを固定する固定位置と、前記カッターユニットを固定しない解除位置との間で移動可能であるユニット固定部と、
前記ユニット固定部が前記固定位置に配置されている状態で前記ユニット固定部をロックすることができるユニットロック部と、
を有し、
前記規制部は、前記ユニットロック部を有し、
前記第2当接部は、前記ユニットロック部との当接により、前記ユニットロック部に前記ユニット固定部のロックを解除させる、
ことを特徴とする記録装置。
【請求項9】
請求項1~請求項6のうち何れか一項に記載の記録装置において、
第1当接部と、
第2当接部と、
を備え、
前記カッターキャリッジは、
前記カッターユニットを装着している状態で前記カッターユニットを固定する固定位置と、前記カッターユニットを固定しない解除位置との間で移動可能であるユニット固定部と、
前記ユニット固定部が前記固定位置に配置されている状態で前記ユニット固定部をロックすることができるユニットロック部と、
を有し、
前記カッターキャリッジは、待機位置と着脱位置との間で移動可能であり、
前記規制部は、前記ユニットロック部を有し、
前記カッターキャリッジが前記着脱位置から前記待機位置に移動したときに、前記第1当接部は、前記ユニットロック部との当接により、前記ユニットロック部に前記ユニット固定部をロックさせ、
前記カッターキャリッジが前記待機位置から前記着脱位置に移動したときに、前記第2当接部は、前記ユニットロック部との当接により、前記ユニットロック部に前記ユニット固定部のロックを解除させる、
ことを特徴とする記録装置。
【請求項10】
請求項1~請求項6のうち何れか一項に記載の記録装置において、
前記カッターキャリッジは、
前記カッターユニットを装着している状態で前記カッターユニットを固定する固定位置と、前記カッターユニットを固定しない解除位置との間で移動可能であるユニット固定部と、
前記ユニット固定部が前記固定位置に配置されている状態で前記ユニット固定部をロックすることができるユニットロック部と、
を有し、
前記ユニット固定部は、前記固定位置から解除方向に移動することにより前記解除位置に移動可能であり、
前記ユニットロック部は、前記解除方向と交差する変位方向に変位する変位部を有し、
前記変位部は、前記ユニット固定部の前記固定位置から前記解除方向への移動を前記変位方向への変位により許容する、
ことを特徴とする記録装置。
発明の詳細な説明
【技術分野】
【0001】
本発明は、記録装置に関する。
続きを表示(約 2,000 文字)
【背景技術】
【0002】
例えば特許文献1のように、搬送経路に沿って搬送される媒体に記録する記録装置において、媒体がカッター刃により加工されることが開示されている。このような記録装置において、媒体の幅方向に移動可能なカッターキャリッジに対して、カッター刃が収容されるカッターユニットが着脱可能に構成されている。
【先行技術文献】
【特許文献】
【0003】
特開2023-132634号公報
【発明の概要】
【発明が解決しようとする課題】
【0004】
しかしながら、このような記録装置では、ユーザーが意図せずにカッターキャリッジからカッターユニットを取り外してしまうと、カッターユニットから露出するカッター刃に接触してしまうおそれがあった。このように、カッター刃に対する安全性を向上させることが望まれている。
【課題を解決するための手段】
【0005】
上記課題を解決する記録装置は、搬送経路に沿って搬送方向に媒体を搬送する搬送部と、前記搬送部により搬送された媒体に画像を記録する記録部と、前記搬送経路において媒体を加工するためのカッター刃を有するカッターユニットと、前記カッターユニットを着脱可能であり、かつ、前記搬送方向と交差する幅方向に移動するカッターキャリッジと、前記カッターユニットを前記カッターキャリッジから取り外すことを規制する規制部と、を備える。
【図面の簡単な説明】
【0006】
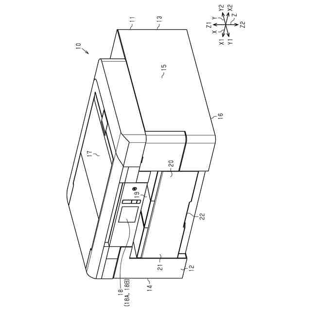
図1は、第1実施形態の記録装置を示す斜視図である。
図2は、第1実施形態の収容カセットを示す斜視図である。
図3は、第1実施形態の記録装置を示す斜視図である。
図4は、第1実施形態の記録装置を示す説明図である。
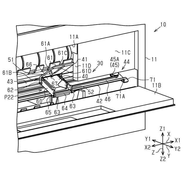
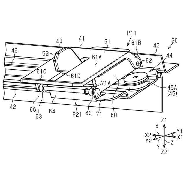
図5は、第1実施形態の切断部を示す斜視図である。
図6は、第1実施形態の切断部を示す斜視図である。
図7は、第1実施形態の切断部を示す側面図である。
図8は、第1実施形態の記録装置を示す斜視図である。
図9は、第1実施形態の切断部を示す斜視図である。
図10は、第1実施形態の切断部を示す斜視図である。
図11は、第1実施形態の交換制御処理を示すフローチャートである。
図12は、第2実施形態の切断部を示す斜視図である。
図13は、第2実施形態の切断部を示す斜視図である。
【発明を実施するための形態】
【0007】
[第1実施形態]
以下、記録装置の一実施形態について説明する。以下の説明では、鉛直方向Zと交差する方向を幅方向Xとし、鉛直方向Z及び幅方向Xと交差する方向を前後方向Yとする。幅方向Xのうち一方を第1幅方向X1とし、幅方向Xのうち他方を第2幅方向X2とする。前後方向Yのうち一方を前方Y1とし、前後方向Yのうち他方を後方Y2とする。鉛直方向Zのうち上方を上方Z1とし、鉛直方向Zのうち下方を下方Z2とする。
【0008】
<記録装置10の構成>
図1に示すように、記録装置10は、図4に示す媒体90に画像を記録する装置である。記録装置10は、液体を吐出することにより媒体90に画像を記録する装置であってもよい。液体は、例えばインクであってもよい。液体は、例えば複数種類の色であっても1種類の色であってもよい。媒体90は、例えば図4に示すロール紙91及び用紙92であってもよい。ロール紙91は、ロール状の媒体90である。用紙92は、シート状の媒体90である。用紙92は、普通紙である。記録装置10は、複数種類の媒体90に記録を行ことができる装置であってもよい。
【0009】
記録装置10は、筐体11を備える。筐体11は、記録装置10の外装である。筐体11は、記録装置10の前面12、背面13、左側面14、右側面15、底面16及び天面17を構成するが、これに限定されない。筐体11は、少なくとも記録装置10の前面12の一部、背面13の一部、左側面14の一部、右側面15の一部、底面16の一部及び天面17の一部を構成してもよい。筐体11は、記録装置10を構成する各種部材を収容する。
【0010】
記録装置10は、操作パネル18を備える。操作パネル18は、前面12に設けられてもよい。操作パネル18は、タッチパネルであってもよい。操作パネル18は、操作部18Aと、表示部18Bとを備えてもよい。操作部18Aは、ユーザーによって操作可能である。操作部18Aは、複数の操作領域から構成されてもよい。表示部18Bは、記録装置10に関する情報を表示する。
(【0011】以降は省略されています)
この特許をJ-PlatPat(特許庁公式サイト)で参照する
関連特許
個人
箔熱転写装置
23日前
シヤチハタ株式会社
印判
4か月前
東レ株式会社
凸版印刷版原版
9か月前
シヤチハタ株式会社
反転式印判
8か月前
三菱製紙株式会社
感熱記録材料
10か月前
三光株式会社
感熱記録材料
5か月前
キヤノン株式会社
記録装置
16日前
独立行政法人 国立印刷局
印刷物
6か月前
株式会社リコー
液体吐出装置
3か月前
独立行政法人 国立印刷局
記録媒体
8か月前
株式会社リコー
液体吐出装置
4か月前
独立行政法人 国立印刷局
貼付装置
1か月前
株式会社リコー
液体吐出装置
8か月前
株式会社リコー
画像形成装置
今日
株式会社リコー
液体吐出装置
1か月前
株式会社リコー
画像形成装置
23日前
株式会社リコー
液体吐出装置
4か月前
株式会社リコー
印刷システム
4日前
株式会社リコー
画像形成装置
4日前
株式会社リコー
液体吐出装置
7か月前
日本製紙株式会社
感熱記録体
7か月前
株式会社リコー
液体吐出装置
5か月前
独立行政法人 国立印刷局
貼付機構
1か月前
株式会社リコー
液体吐出装置
7か月前
キヤノン株式会社
印刷システム
7か月前
ブラザー工業株式会社
プリンタ
1か月前
ブラザー工業株式会社
プリンタ
5か月前
キヤノン株式会社
画像形成装置
10か月前
ブラザー工業株式会社
プリンタ
5か月前
ブラザー工業株式会社
プリンタ
8か月前
フジコピアン株式会社
中間転写シート
9か月前
ブラザー工業株式会社
プリンタ
1か月前
ブラザー工業株式会社
プリンタ
3か月前
キヤノン株式会社
画像形成装置
4か月前
キヤノン株式会社
画像形成装置
8か月前
キヤノン株式会社
画像形成装置
1か月前
続きを見る
他の特許を見る