TOP
|
特許
|
意匠
|
商標
特許ウォッチ
Twitter
他の特許を見る
公開番号
2025124943
公報種別
公開特許公報(A)
公開日
2025-08-26
出願番号
2025106355,2023211228
出願日
2025-06-24,2023-12-14
発明の名称
履物の甲被構造および踵芯
出願人
岸原工業株式会社
代理人
個人
,
個人
主分類
A43B
3/10 20060101AFI20250819BHJP(履物)
要約
【課題】デザイン性とともに履く動作の容易性が得られるようにすべく、かかと部の開口上方の形態保持性を高める。
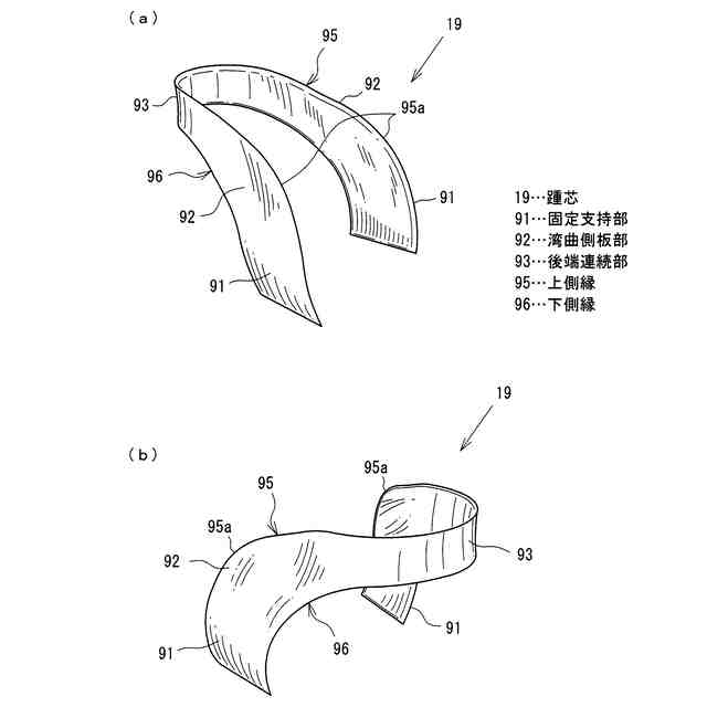
【解決手段】足の踵を露出させる開口14bがかかと部11aに形成された履物の甲被構造において、かかと部11aの外面における開口14bの上方に、後方から見てアーチ形で開口14bを囲む装飾部材16を備える。甲被14のかかと部11aにおける装飾部材16を有する部位に、可撓性を有する曲面板からなる踵芯19を内蔵する。踵芯19は、内面を左右方向内側に向けて履物台12に固定される一対の固定支持部91と、これから上方かつ後方へ湾曲して延びて内面を左右方向内側に向ける一対の湾曲側板部92と、これらを連結する平面視弧状をなす後端連続部93を備えている。
【選択図】図2
特許請求の範囲
【請求項1】
足の踵を露出させる開口がかかと部に形成された履物の甲被構造であって、
かかと部の外面における開口の上方に、後方から見てアーチ形で開口を囲む装飾部材が備えられ、
甲被のかかと部における装飾部材を有する部位に、可撓性を有する曲面板からなる踵芯が内蔵され、
踵芯が、内面を左右方向内側に向けて履物台に固定される一対の固定支持部と、固定支持部から上方かつ後方へ湾曲して延びて内面を左右方向内側に向ける一対の湾曲側板部と、湾曲側板部どうしを連結する平面視弧状をなす後端連続部を備えている
履物の甲被構造。
続きを表示(約 670 文字)
【請求項2】
可撓性を有する曲面板からなる踵芯が内蔵されたかかと部を有する履物の甲被構造であって、
かかと部に、足の踵を露出させる開口が踵芯を貫いて形成され、
かかと部の外面における開口の上方に、後方から見てアーチ形で開口を囲む装飾部材が備えられた
履物の甲被構造。
【請求項3】
踵芯の後部上端に、前方斜め下に傾く傾斜湾曲面を上面に有する舌片が突設された
請求項1または請求項2に記載の履物の甲被構造。
【請求項4】
踵芯が側面視において前方かつ上方で弧状に曲がる上側縁と、後方かつ下方で弧状に曲がる下側縁を有し、
上側縁と下側縁が共に、上方また後方ほど傾斜角度を垂直または垂直に近い角度から水平に近づける形に形成された
請求項1または請求項2に記載の履物の甲被構造。
【請求項5】
可撓性を有する曲面板からなる踵芯であって、
内面を左右方向内側に向ける一対の固定支持部と、
固定支持部から上方かつ後方へ湾曲して延びて内面を左右方向内側に向ける一対の湾曲側板部と、
湾曲側板部どうしを連結する平面視弧状をなす後端連続部を備え、
側面視において前方かつ上方で弧状に曲がる上側縁と、後方かつ下方で弧状に曲がる下側縁を、固定支持部から湾曲側板部、後端連続部にかけて有し、
上側縁と下側縁が共に、上方また後方ほど傾斜角度を垂直または垂直に近い角度から水平に近づける形に形成された
踵芯。
発明の詳細な説明
【技術分野】
【0001】
この発明は、短靴やサンダルのような履物における甲被のかかと部の構造に関するものである。
続きを表示(約 1,700 文字)
【背景技術】
【0002】
甲被のかかと部にバックバンド(バックストラップ、ヒールストラップなどともいう)を有する履物がある。また、足の踵を見せる開口部が甲被のかかと部に形成された履物がある(特許文献1参照)。この開口は比較的広く内外に貫通しており、後方から見て偏平な半円形である。そして、かかと部の外側面における開口を囲む上方には、帯状をなす主として装飾用の装飾部材が備えられている。装飾部材は後方から見てアーチ形であり、左右の両下端が履物台に、長手方向の中間部がかかと部の外側面に、それぞれ固定されている。
【0003】
装飾部材を備えた履物は、開口と装飾部材の存在によって独特のデザイン性が得られるうえに、装飾部材が開口の形成されたかかと部に対してある程度の腰の強さを持たせることができるので、足の踵に対する保持機能は十分に得られる。しかし、かかと部に開口があるため、バックバンドを備えた履物と同じく、履くときに手を使う必要がある。なぜなら、手やヘラでかかと部を保持しないと、踵を入れようとしても入らないからである。このため、上記のような履物は、簡易な動作で迅速に履ける履物ではなかった。
【0004】
特許文献2には、上記の履物と同様に穴(開口)を有するものが開示されているが、これは、かかと部を踏みつぶして履いても形状が復元して靴としての使用ができるというものである。すなわち、月形被の中央に穴があいており、穴を取り巻く形状の月形被や、これに連続する履き口パッドなどが伸縮率の高い、反発性に優れた材料で形成されている。これは、履く動作の円滑さを考慮したものではない。しかも、この構成では、仮にかかと部の形がへたらずに復元したとしても、伸縮率が高い素材で構成されているゆえに、足を入れるときには手やヘラを使う必要がある。
【先行技術文献】
【特許文献】
【0005】
意匠登録第1748026号公報
特開2003-52410号公報
【発明の概要】
【発明が解決しようとする課題】
【0006】
この発明は、デザイン性とともに履く動作の容易性が得られるように、かかと部の開口上方の形態保持性を高めることを主な課題とする。
【課題を解決するための手段】
【0007】
そのために、この発明は下記の甲被構造を提供する。
【0008】
すなわち、足の踵を露出させる開口がかかと部に形成された履物の甲被構造は、かかと部の外面における開口の上方に、後方から見てアーチ形で開口を囲む装飾部材を備える。甲被のかかと部における装飾部材と重なる部位には、可撓性を有する曲面板からなる踵芯を内蔵する。そして、踵芯に、内面を左右方向内側に向けて履物台に固定される一対の固定支持部と、固定支持部から上方かつ後方へ湾曲して延びて内面を左右方向内側に向ける一対の湾曲側板部と、湾曲側板部どうしを連結する平面視弧状をなす後端連続部を備える。
【0009】
この構成では、甲被のかかと部における開口を囲む上方に備えられた装飾部材が、外観上、開口との協働で特有のデザイン性を付与するとともに、開口の上方を囲む部分に見た目の厚みをもたらし、重厚感にも似た印象を付与する。そして、かかと部における装飾部材の裏側位置に内蔵された踵芯は、可撓性をもって剛性と弾性を付与し、足を入れるときに踵を支えるとともに、それを履物内に導く。
【発明の効果】
【0010】
この発明によれば、かかと部の開口上方に内蔵された踵芯が装飾部材を有する裏側で剛性を付与して形態保持性を高めるので、足を入れて履くときの動作の簡単化をはかれる。そのうえ、開口上方がたとえバックバンドのように細い形態であったとしても、かかと芯による保形性があるので、だらりと下がるようなことはなく、この点でも良好な外観が得られる。
【図面の簡単な説明】
(【0011】以降は省略されています)
この特許をJ-PlatPat(特許庁公式サイト)で参照する
関連特許
岸原工業株式会社
履物の甲被構造および踵芯
3か月前
岸原工業株式会社
履物の甲被構造および踵芯
1か月前
個人
健康下駄
1か月前
個人
シューズ
4か月前
個人
履物
10か月前
個人
靴
16日前
個人
シューズ
3か月前
個人
靴用装着物
7か月前
個人
履物躓き防止装置
1か月前
個人
靴ひもカバー
2か月前
株式会社ダイマツ
靴
2か月前
山三商事株式会社
靴
10か月前
アキレス株式会社
履物
26日前
個人
靴底及び該靴底を備えた靴
12か月前
株式会社KTC
インソールおよび履物
9か月前
株式会社ナイガイ
履物用の中敷き
1か月前
株式会社フォーナインシューズ
靴
8か月前
美津濃株式会社
シューズのソール
5か月前
個人
履物
12か月前
個人
防滑シート及びその製造方法
6か月前
徳武産業株式会社
履物
9か月前
個人
履き物、サポーター、靴下
1か月前
株式会社興和インターナショナル
履物
1か月前
糸伍株式会社
靴紐
8か月前
デサントジャパン株式会社
子供用靴
11か月前
株式会社アシックス
シューズ
5か月前
個人
履物用中敷
12か月前
株式会社チャナカンパニー
シューキーパー
5か月前
高笙工業有限公司
紐用リール
10か月前
カーボテック株式会社
歩行矯正姿勢改善具
16日前
株式会社アシックス
靴
2か月前
株式会社アシックス
靴
2か月前
株式会社P.O.イノベーション
インソール
2か月前
株式会社アシックス
靴
2か月前
株式会社アシックス
靴
2か月前
威海港都貿易有限公司
履物及びその製造方法
2か月前
続きを見る
他の特許を見る