TOP
|
特許
|
意匠
|
商標
特許ウォッチ
Twitter
他の特許を見る
10個以上の画像は省略されています。
公開番号
2025122785
公報種別
公開特許公報(A)
公開日
2025-08-22
出願番号
2024018432
出願日
2024-02-09
発明の名称
超音波流量計および超音波流量計の組立方法
出願人
愛知時計電機株式会社
代理人
弁理士法人ネクスト
主分類
G01F
1/667 20220101AFI20250815BHJP(測定;試験)
要約
【課題】超音波センサーと測定管との取付部位を容易に封印構造とすることが可能な超音波流量計を提供する。
【解決手段】超音波流量計1は、流体が流れる流路9を有する測定管2と、超音波センサー5を収容するセンサー部であって、流路の上流側と下流側に位置し、かつ、超音波信号の送受信が可能に測定管の外壁に設けられる少なくとも1対のセンサー部7と、測定管の外側に設けられ、超音波センサー間の伝播時間に基づいて流体の流量を演算する演算処理部6と、測定管の外側に設けられ、超音波センサーと演算処理部とを電気的に接続する接続線47を内部に挿通する配管20と、センサー部と測定管との取付部位30、を覆うカバー部材8と、を備える。カバー部材は、配管がセンサー部に接続することにより、取付部位を覆った状態から取り外し不能に測定管に固定されている。
【選択図】図1
特許請求の範囲
【請求項1】
流体が流れる流路を有する測定管と、
超音波センサーを収容するセンサー部であって、前記流路の上流側と下流側に位置し、かつ、超音波信号の送受信が可能に前記測定管の外壁に設けられる少なくとも1対のセンサー部と、
前記測定管の外側に設けられ、前記超音波センサー間の伝播時間に基づいて前記流体の流量を演算する演算処理部と、
前記測定管の外側に設けられ、前記超音波センサーと前記演算処理部とを電気的に接続する接続線を内部に挿通する配管と、
前記配管が前記センサー部に接続することにより、前記センサー部と前記測定管との取付部位を覆った状態から取り外し不能に前記測定管に固定されているカバー部材と、
を備えることを特徴とする、超音波流量計。
続きを表示(約 1,300 文字)
【請求項2】
前記センサー部は、前記配管が挿入される第1開口部を有する接続部と、前記超音波センサーを収容する収容部と、を有するセンサーケースを有し、
前記カバー部材は、
前記取付部位を覆う第1カバー部と、
前記第1カバー部と一体に設けられ、前記接続部を覆い、前記配管が挿入される第2開口部を有する第2カバー部と、
を有し、
前記第2開口部および前記第1開口部を介して前記第2カバー部および前記接続部に挿入された前記配管が前記接続部に接続することにより、前記カバー部材は前記測定管に固定されていることを特徴とする、請求項1に記載の超音波流量計。
【請求項3】
前記センサー部は、前記測定管に設けられる取付穴に前記センサーケースの前記収容部が取り付けられることにより前記測定管に固定されており、
前記カバー部材は、前記測定管の軸方向と交差する方向から前記センサーケースを覆っており、
前記配管は、前記接続部から前記測定管の外周に沿うように前記演算処理部まで設けられていることを特徴とする、請求項2に記載の超音波流量計。
【請求項4】
前記センサーケースは、ボルトにより前記測定管に固定されており、
前記第1カバー部は、前記ボルトの頭部を含む前記取付部位を覆っていることを特徴とする、請求項2または請求項3に記載の超音波流量計。
【請求項5】
前記接続部に接続される継手部材をさらに有し、
前記配管と前記接続部とは、前記継手部材および前記接続部にそれぞれ形成されたネジ部の螺合により締結されていることを特徴とする、請求項2または請求項3に記載の超音波流量計。
【請求項6】
前記継手部材の全体を覆う継手カバー、をさらに備えることを特徴とする、請求項5に記載の超音波流量計。
【請求項7】
流体が流れる流路を有する測定管と、
超音波センサーを収容するセンサー部であって、前記流路の上流側と下流側に位置し、かつ、超音波信号の送受信が可能に前記測定管の外壁に設けられる少なくとも1対のセンサー部と、
前記測定管の外側に設けられ、前記超音波センサー間の伝播時間に基づいて前記流体の流量を演算する演算処理部と、
前記測定管の外側に設けられ、前記超音波センサーと前記演算処理部とを電気的に接続する接続線を内部に挿通する配管と、
前記配管が前記センサー部に接続することにより、前記センサー部と前記測定管との取付部位を覆った状態から取り外し不能に前記測定管に固定されているカバー部材と、
を備える超音波流量計の組立方法であって、
前記測定管に前記センサー部を取り付けるセンサー部取付工程と、
前記取付部位を覆うように前記カバー部材を前記取付部位に組み付けるカバー部材組付工程と、
前記カバー部材が組み付けられた前記センサー部に前記配管を接続する配管接続工程と、
を備えることを特徴とする、超音波流量計の組立方法。
発明の詳細な説明
【技術分野】
【0001】
本発明は、超音波流量計および超音波流量計の組立方法に関する。
続きを表示(約 1,900 文字)
【背景技術】
【0002】
従来、測定管内を通過する流体の流量を計測する超音波流量計が知られている。例えば、特許文献1に記載の超音波流量計は、流体が流れる測定管の上流側と下流側に取り付けられた1対の超音波センサー間で超音波の送受を行う。そして、上流側から下流側への伝播時間と下流側から上流側への伝播時間の差に基づいて流速を計測し、流路の断面積を用いて測定管内を通過する流体の流量を計測できるようになっている。
【0003】
さらに、上記超音波流量計は、超音波センサーを収容するセンサーケースと、流量演算表示部と、超音波センサーと流量演算表示部とを電気的に接続する配管と、を有している。流量演算表示部は、超音波センサーからの受信信号に基づいて流量を演算し表示する。配管は、その内部に超音波センサーに接続する接続線を有し、センサーケースから測定管の外側に引き出されて表示部まで接続されている。センサーケースは、測定管の外壁に複数のボルトにより固定されている。
【0004】
一般に、上記超音波流量計では、例えばユーザーの悪意により、超音波センサーを測定管から取り外して流量計を一時的に不動にするといった行為の防止対策として、センサーケースを取り外せないように封印構造が用いられている。具体的な封印構造としては、ボルトの頭部に横穴を開け、横穴にワイヤーを通した後鉛玉を用いて固定する構造、ボルトの頭部に樹脂キャップを圧入する構造、センサーケース全体を溶接で封止する構造、などがある。
【先行技術文献】
【特許文献】
【0005】
特開2011-33389号公報
【発明の概要】
【発明が解決しようとする課題】
【0006】
しかし、上記の超音波流量計では、いずれの封印構造においても、ワイヤーを通したり、封印用の鉛玉をかしめたりするための手間がかかり、作業効率が悪いという問題があった。
【0007】
そこで、本発明は、上記問題に鑑み、超音波センサーと測定管との取付部位を容易に封印構造とすることが可能な超音波流量計を提供することにある。
【課題を解決するための手段】
【0008】
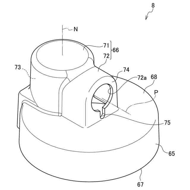
(1)上述した目的を達成するため、本開示の一形態によれば、超音波流量計が提供される。この超音波流量計は、流体が流れる流路を有する測定管と、超音波センサーを収容するセンサー部であって、前記流路の上流側と下流側に位置し、かつ、超音波信号の送受信が可能に前記測定管の外壁に設けられる少なくとも1対のセンサー部と、前記測定管の外側に設けられ、前記超音波センサー間の伝播時間に基づいて前記流体の流量を演算する演算処理部と、前記測定管の外側に設けられ、前記超音波センサーと前記演算処理部とを電気的に接続する接続線を内部に挿通する配管と、前記配管が前記センサー部に接続することにより、前記センサー部と前記測定管との取付部位を覆った状態から取り外し不能に前記測定管に固定されているカバー部材と、を備えていることを特徴とする。
【0009】
この形態の超音波流量計によれば、配管がセンサー部に接続することにより、カバー部材は、センサー部と測定管との取付部位を覆った状態から取り外し不能に測定管に固定される。このため、カバー部材を取付部位に装着した後、配管をセンサー部に接続することにより、センサー部の測定管への取付部位を容易に封印構造とすることができる。よって、例えばユーザーの悪意により、超音波センサーを測定管から取り外して流量計を一時的に不動にするといった行為を効果的に抑制できる。また、仮に、センサー部を取り外そうとした場合には、センサー部に接続された配管もしくはカバー部材を破壊しなくてはならず、その痕跡を残すことができる。
【0010】
(2)上記形態の超音波流量計において、前記センサー部は、前記配管が挿入される第1開口部を有する接続部と、前記超音波センサーを収容する収容部と、を有するセンサーケースを有し、前記カバー部材は、前記取付部位を覆う第1カバー部と、前記第1カバー部と一体に設けられ、前記接続部を覆い、前記配管が挿入される第2開口部を有する第2カバー部と、を有し、前記第2開口部および前記第1開口部を介して前記第2カバー部および前記接続部に挿入された前記配管が前記接続部に接続することにより、前記カバー部材は前記測定管に固定されていてものよい。
(【0011】以降は省略されています)
この特許をJ-PlatPat(特許庁公式サイト)で参照する
関連特許
愛知時計電機株式会社
ガスメータ
11日前
愛知時計電機株式会社
超音波流量計および超音波流量計の組立方法
2か月前
個人
メジャー文具
28日前
個人
採尿及び採便具
5日前
個人
アクセサリー型テスター
21日前
個人
高精度同時多点測定装置
20日前
株式会社ミツトヨ
測定器
11日前
ユニパルス株式会社
ロードセル
27日前
アズビル株式会社
電磁流量計
14日前
ダイキン工業株式会社
監視装置
25日前
株式会社ヨコオ
ソケット
26日前
株式会社チノー
放射光測温装置
27日前
エイブリック株式会社
磁気センサ回路
1か月前
トヨタ自動車株式会社
監視装置
26日前
株式会社ヨコオ
ソケット
27日前
大和製衡株式会社
組合せ計量装置
8日前
大和製衡株式会社
組合せ計量装置
8日前
個人
システム、装置及び実験方法
14日前
愛知時計電機株式会社
ガスメータ
11日前
TDK株式会社
ガスセンサ
27日前
長崎県
形状計測方法
21日前
株式会社東芝
重量測定装置
1か月前
TDK株式会社
ガスセンサ
1か月前
ローム株式会社
半導体装置
19日前
双庸電子株式会社
誤配線検査装置
今日
ローム株式会社
半導体装置
19日前
TDK株式会社
磁気センサ
26日前
愛知電機株式会社
軸部材の外観検査装置
8日前
日本特殊陶業株式会社
センサ
25日前
日本特殊陶業株式会社
センサ
25日前
日本特殊陶業株式会社
センサ
25日前
日本特殊陶業株式会社
センサ
11日前
ダイハツ工業株式会社
移動支援装置
26日前
日本特殊陶業株式会社
センサ
25日前
三恵技研工業株式会社
融雪レドーム
26日前
中国電力株式会社
電柱管理システム
25日前
続きを見る
他の特許を見る