TOP
|
特許
|
意匠
|
商標
特許ウォッチ
Twitter
他の特許を見る
10個以上の画像は省略されています。
公開番号
2025091078
公報種別
公開特許公報(A)
公開日
2025-06-18
出願番号
2023206068
出願日
2023-12-06
発明の名称
ショベル及びショベルの制御装置
出願人
住友建機株式会社
代理人
個人
,
個人
主分類
E02F
9/26 20060101AFI20250611BHJP(水工;基礎;土砂の移送)
要約
【課題】ショベルが目標施工面に正対しているかどうかを操作者が正確に判断する。
【解決手段】下部走行体と、前記下部走行体に旋回可能に搭載される上部旋回体と、目標施工面に関する情報と前記上部旋回体の向きに関する情報とに基づいて前記上部旋回体が前記目標施工面に正対しているか否かを通知する制御装置とを備える。
【選択図】図1
特許請求の範囲
【請求項1】
下部走行体と、
前記下部走行体に旋回可能に搭載される上部旋回体と、
目標施工面に関する情報と前記上部旋回体の向きに関する情報とに基づいて前記上部旋回体が前記目標施工面に正対しているか否かを通知する制御装置と、を備える、ショベル。
続きを表示(約 1,300 文字)
【請求項2】
前記制御装置は、第1のスイッチが操作された場合に前記通知をする、請求項1に記載のショベル。
【請求項3】
前記制御装置は、前記目標施工面に関する情報と前記上部旋回体の向きに関する情報とに基づいて、前記上部旋回体が前記目標施工面に正対するように前記上部旋回体を旋回させる正対制御を実行可能であり、前記正対制御を実行している場合に前記正対制御が実行中であることを通知する、請求項1に記載のショベル。
【請求項4】
前記制御装置は、前記正対制御を実行することで前記上部旋回体が前記目標施工面に正対した場合に前記正対制御の完了を通知する、請求項3に記載のショベル。
【請求項5】
前記制御装置は、前記上部旋回体が前記目標施工面に正対している場合と、前記上部旋回体が前記目標施工面に正対していない場合と、前記正対制御を実行している場合と、前記正対制御が完了した場合とを、互いに区別可能に通知する、請求項4に記載のショベル。
【請求項6】
前記制御装置は、第2のスイッチが操作されながら前記上部旋回体を旋回させる操作が行われた場合に前記正対制御を実行する、請求項3に記載のショベル。
【請求項7】
前記上部旋回体に取り付けられるアタッチメントと、
前記アタッチメントを操作するための操作装置と、を有し、
前記制御装置は、第3のスイッチが操作された状態で前記操作装置に対する操作が行われると、前記操作装置に対する操作と、前記ショベルの位置及び向きについて取得した情報と、予め登録された情報とに基づいて前記アタッチメントを動作させる、請求項1に記載のショベル。
【請求項8】
前記制御装置は、前記通知を音または表示によって行う、請求項1に記載のショベル。
【請求項9】
下部走行体と、前記下部走行体に旋回可能に搭載される上部旋回体と、を備えるショベルの制御装置であって、
目標施工面に関する情報と前記上部旋回体の向きに関する情報とに基づいて前記上部旋回体が前記目標施工面に正対しているか否かを通知する、ショベルの制御装置。
【請求項10】
前記上部旋回体に取り付けられるアタッチメントと、
前記アタッチメントを操作するための操作装置と、を有し、
前記制御装置は、
前記目標施工面に関する情報と前記上部旋回体の向きに関する情報とに基づいて、前記上部旋回体が前記目標施工面に正対するように前記上部旋回体を旋回させる正対制御を実行可能であり、
第1のスイッチが操作された場合に前記通知をし、
第2のスイッチが操作されながら前記上部旋回体を旋回させる操作が行われた場合に前記正対制御を実行し、
第3のスイッチが操作された状態で前記操作装置に対する操作が行われると、前記操作装置に対する操作と、前記ショベルの位置及び向きについて取得した情報と、予め登録された情報とに基づいて前記アタッチメントを動作させ、
前記第1のスイッチと前記第2のスイッチと前記第3のスイッチとが同一のスイッチである、請求項1に記載のショベル。
発明の詳細な説明
【技術分野】
【0001】
本開示は、ショベル及びショベルの制御装置に関する。
続きを表示(約 1,400 文字)
【背景技術】
【0002】
従来から、ショベルにおいては、操作者による操作のみに依存するのではなく、施工領域等に関する情報を用いて作業を行う、いわゆる半自動制御が知られている(例えば、特許文献1参照)。
【先行技術文献】
【特許文献】
【0003】
特開2023-118169
【発明の概要】
【発明が解決しようとする課題】
【0004】
半自動制御を精度良く行うためには、目標施工面にショベルを正対させる必要がある。しかし、半自動制御だけでは、操作者はショベルが目標施工面に正対しているかどうかを正確に判断することが困難であった。
【0005】
そこで、ショベルが目標施工面に正対しているかどうかを操作者が正確に判断することができるショベル及びショベルの制御装置を提供することが望ましい。
【課題を解決するための手段】
【0006】
本開示のショベルは、
下部走行体と、
前記下部走行体に旋回可能に搭載される上部旋回体と、
目標施工面に関する情報と前記上部旋回体の向きに関する情報とに基づいて前記上部旋回体が前記目標施工面に正対しているか否かを通知する制御装置と、を備える。
【0007】
また、本開示のショベルの制御装置は、
下部走行体と、前記下部走行体に旋回可能に搭載される上部旋回体と、を備えるショベルの制御装置であって、
目標施工面に関する情報と前記上部旋回体の向きに関する情報とに基づいて前記上部旋回体が前記目標施工面に正対しているか否かを通知する。
【発明の効果】
【0008】
本開示によれば、ショベルが目標施工面に正対しているかどうかを操作者が正確に判断することができる。
【図面の簡単な説明】
【0009】
本発明の実施形態に係る掘削機としてのショベルの側面図である。
ショベルの駆動系の構成例を示すブロック図である。
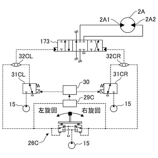
図1のショベルに搭載される油圧システムの構成例を示す概略図である。
油圧システムの一部を抜き出した図である。
油圧システムの一部を抜き出した図である。
油圧システムの一部を抜き出した図である。
ショベル100の駆動系の別の構成例を示すブロック図である。
正対制御が実行される際のショベルの上面図である。
正対制御が実行される際のショベルの上面図である。
正対制御が実行される際のショベルの斜視図である。
正対制御が実行される際のショベルの斜視図である。
正対制御が実行される際のショベルの上面図である。
正対制御が実行される際のショベルの上面図である。
操作者が上部旋回体と目標施工面とが正対しているか否かを確認した際の動作を説明するためのフローチャートである。
コントローラによる正対制御に関する通知を説明するためのフローチャートである。
電気式操作装置を含む操作システムの構成例を示す。
施工システムSYSの一例を示す概略図である。
【発明を実施するための形態】
【0010】
以下に、本発明の実施の形態について図面を参照して説明する。
(【0011】以降は省略されています)
この特許をJ-PlatPat(特許庁公式サイト)で参照する
関連特許
住友建機株式会社
作業機械、作業機械の制御システム、及び、作業機械の管理システム
2か月前
個人
バケット
1か月前
個人
建物の不同沈下の修正方法
1か月前
鹿島建設株式会社
接続方法
20日前
日本車輌製造株式会社
杭打機
今日
株式会社富田製作所
継手部構造
1か月前
株式会社大林組
操縦装置
1か月前
株式会社郷土開発
傾斜地の切土工法
19日前
ウエダ産業株式会社
アタッチメント
11日前
日立建機株式会社
建設機械
1か月前
エポコラム機工株式会社
地盤改良装置
4日前
日立建機株式会社
建設機械
6日前
日立建機株式会社
作業機械
1か月前
日本車輌製造株式会社
建設機械
4日前
株式会社クボタ
作業機
19日前
FKS株式会社
擁壁及び擁壁の築造方法
1か月前
日本車輌製造株式会社
杭打機の表示システム
1か月前
ナブテスコ株式会社
ドーザブレード駆動機構
1か月前
日本車輌製造株式会社
杭打機の制御システム
1か月前
株式会社大林組
評価支援装置及び評価支援方法
1か月前
日本車輌製造株式会社
建設機械の電源システム
1か月前
株式会社大林組
施工支援装置及び施工支援方法
1か月前
株式会社大林組
施工支援装置及び施工支援方法
1か月前
株式会社大林組
施工支援装置及び施工支援方法
1か月前
株式会社大林組
掘削支援装置及び掘削支援方法
13日前
セイコー機器株式会社
親綱支柱
今日
株式会社大林組
免震構造及び免震構造の施工方法
1か月前
個人
保護カバー及び保護カバーの取付方法
1か月前
エポコラム機工株式会社
地盤改良装置及び地盤改良工法
4日前
エポコラム機工株式会社
地盤改良装置及び地盤改良工法
4日前
コベルコ建機株式会社
建設機械
6日前
ヤンマーホールディングス株式会社
作業機械
19日前
コベルコ建機株式会社
建設機械
6日前
ジャパンパイル株式会社
基礎構造の設計方法及び基礎構造
6日前
ヤンマーホールディングス株式会社
作業機械
19日前
個人
真空バケット浚渫工法と真空バケット及び真空バケット浚渫船
1か月前
続きを見る
他の特許を見る