TOP
|
特許
|
意匠
|
商標
特許ウォッチ
Twitter
他の特許を見る
10個以上の画像は省略されています。
公開番号
2025080137
公報種別
公開特許公報(A)
公開日
2025-05-23
出願番号
2023193176
出願日
2023-11-13
発明の名称
電池監視装置および電池監視回路
出願人
株式会社デンソー
代理人
個人
,
個人
,
個人
主分類
H01M
10/48 20060101AFI20250516BHJP(基本的電気素子)
要約
【課題】ノイズの影響を低減できる電池監視装置を提供すること。
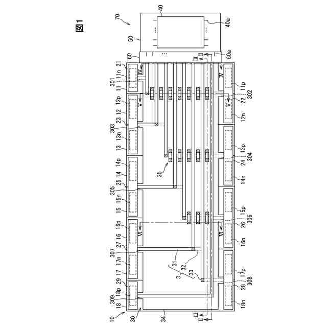
【解決手段】電池監視装置70は、複数の電池セルと接続される。電池監視装置70は、複数の電池セルを監視する電池監視IC40と、電池監視ICと電池セルとを接続する回路基板50とを備えている。電池監視回路は、各電池セルの正極端子と負極端子に接続され各電池セルの複素インピーダンス測定用の電気信号を出力する複数の第1ADC41と、各電池セルの正極端子と負極端子に接続され各電池セルの状態検出用の電気信号を出力する複数の第2ADC42と、を有している。回路基板50は、第1ADCと、第1ADC対応する電池セルである対象セルとに接続された複数の端子対とを有している。端子対は、第1ADCに対して個別に設けられている。
【選択図】図6
特許請求の範囲
【請求項1】
複数の電池セル(11~18)と接続された電池監視装置であって、
複数の電池セルを監視する電池監視回路(40)と、前記電池監視回路と前記電池セルとを接続する回路基板(50)と、を備え、
前記電池監視回路は、
各電池セルの正極端子と負極端子に接続され、アナログ信号をデジタル信号に変換して、各電池セルの複素インピーダンス測定用の電気信号を出力する複数の第1変換回路(41)と、
各電池セルの正極端子と負極端子に接続され、アナログ信号をデジタル信号に変換して、各電池セルの状態検出用の電気信号を出力する複数の第2変換回路(42)と、を有し、
各電池セルに対して、前記第1変換回路と前記第2変換回路が対をなして接続されるものであり、
前記回路基板は、
前記第1変換回路と、前記第1変換回路に対応する前記電池セルである対象セルとに接続された複数の端子対(60a)と、を有し、
前記端子対は、前記第1変換回路に対して個別に設けられていることを特徴とする電池監視装置。
続きを表示(約 1,400 文字)
【請求項2】
各第1変換回路に接続されており、前記第1変換回路から出力された電気信号に基づいて、複素インピーダンス測定用の複素電圧を算出する複素インピーダンス測定用回路(43)と、
前記複素電圧に基づいて、前記対象セルの複素インピーダンスを測定する制御回路(48)と、を備えていることを特徴とする請求項1に記載の電池監視装置。
【請求項3】
複数の前記第1変換回路は、前記複素インピーダンス測定用かつ前記状態検出用の電気信号を出力するものであり、
各第1変換回路に接続されており、前記第1変換回路から出力された電気信号に基づいて、前記状態検出用の電池電圧を算出する第1電圧測定用回路(44)と、
各第2変換回路に接続されており、前記第2変換回路から出力された電気信号に基づいて、前記状態検出用の電池電圧を算出する第2電圧測定用回路(45)と、を備え、
前記制御回路は、対をなす前記第1変換回路と前記第2変換回路に接続された前記第1電圧測定用回路および前記第2電圧測定用回路から出力された電池電圧に基づいて、前記対象セルの状態を検出することを特徴とする請求項2に記載の電池監視装置。
【請求項4】
複数の前記第1変換回路は、変換頻度が異なる第1高頻度回路と第1低頻度回路とを含んでおり、
複数の前記第2変換回路は、変換頻度が異なる第2高頻度回路と第2低頻度回路とを含んでおり、
前記第1高頻度回路と前記第2低頻度回路が対をなして設けられ、前記第1低頻度回路と前記第2高頻度回路が対をなして設けられていることを特徴とする請求項3に記載の電池監視装置。
【請求項5】
前記第1変換回路は、前記第2変換回路よりも変換頻度が高頻度であることを特徴とする請求項3に記載の電池監視装置。
【請求項6】
前記第2変換回路は、対をなす前記第1変換回路とは別の前記第1変換回路の前記端子対に接続されていることを特徴とする請求項1~5のいずれか1項に記載の電池監視装置。
【請求項7】
複数の前記電池セルの容量ばらつきを均等化する均等化スイッチ(47)を備え、
複数の前記第1変換回路は、前記均等化スイッチが接続された接続変換回路と、前記均等化スイッチが接続されていない非接続変換回路とを含んでいることを特徴とする請求項2~5のいずれか1項に記載の電池監視装置。
【請求項8】
回路基板(50)を介して複数の電池セル(11~18)と接続され、前記電池セルを監視する電池監視回路であって、
各電池セルの正極端子と負極端子に接続され、アナログ信号をデジタル信号に変換して、各電池セルの複素インピーダンス測定用の電気信号を出力する複数の第1変換回路(41)と、
各電池セルの正極端子と負極端子に接続され、アナログ信号をデジタル信号に変換して、各電池セルの状態検出用の電気信号を出力する複数の第2変換回路(42)と、
各第1変換回路と、各第1変換回路に対応する前記電池セルである対象セルとに接続された回路端子対(40a)と、を備え、
各電池セルに対して、前記第1変換回路と前記第2変換回路が対をなして接続されるものであり、
前記回路端子対は、各第1変換回路に対して個別に設けられていることを特徴とする電池監視回路。
発明の詳細な説明
【技術分野】
【0001】
本開示は、電池監視装置および電池監視回路に関する。
続きを表示(約 1,900 文字)
【背景技術】
【0002】
特許文献1に開示されているように、複数の電池セルを備えた電池を監視する電池監視装置がある。
【先行技術文献】
【特許文献】
【0003】
特開2023-95746号公報
【発明の概要】
【発明が解決しようとする課題】
【0004】
ところで、電池監視装置は、各電池セルに対して、アナログ信号をデジタル信号に変換する変換回路が二つ接続された構成が考えられる。変換回路は、電池セルの正極端子と負極端子に配線を介して接続される。また、二つの変換回路の一方は、電池セルの複素インピーダンス測定用の電気信号を出力するものである。
【0005】
このような構成では、電池監視装置は、隣り合う電池セルに対応する変換回路において、共通の配線によって電池セルと接続されることがある。この場合、配線は、差動ペア配線とすることが難しい。よって、電池監視装置は、ノイズの影響を受けた複素インピーダンス測定用の電気信号を出力する虞がある。
【0006】
開示される一つの目的は、ノイズの影響を低減できる電池監視装置および電池監視回路を提供することである。
【課題を解決するための手段】
【0007】
ここに開示された電池監視装置は、
複数の電池セル(11~18)と接続された電池監視装置であって、
複数の電池セルを監視する電池監視回路(40)と、電池監視回路と電池セルとを接続する回路基板(50)と、を備え、
電池監視回路は、
各電池セルの正極端子と負極端子に接続され、アナログ信号をデジタル信号に変換して、各電池セルの複素インピーダンス測定用の電気信号を出力する複数の第1変換回路(41)と、
各電池セルの正極端子と負極端子に接続され、アナログ信号をデジタル信号に変換して、各電池セルの状態検出用の電気信号を出力する複数の第2変換回路(42)と、を有し、
各電池セルに対して、第1変換回路と第2変換回路が対をなして接続されるものであり、
回路基板は、
第1変換回路と、第1変換回路に対応する電池セルである対象セルとに接続された複数の端子対(60a)と、を有し、
端子対は、第1変換回路に対して個別に設けられていることを特徴とする。
【0008】
このように、電池監視装置は、各電池セルの複素インピーダンス測定用の電池電圧を出力する複数の第1変換回路を備えている。そして、各第1変換回路と対象セルとに接続された端子対は、各第1変換回路に対して個別に設けられている。よって、電池監視装置は、複数の電池セルとの間を差動ペア配線で結線しやすくできる。そのため、電池監視装置は、第2変換回路から状態検出用の電池電圧を出力するとともに、第1変換回路からノイズの影響が低減された複素インピーダンス測定用の電池電圧を出力できる。
【0009】
また、ここに開示された電池監視回路は、
回路基板(50)を介して複数の電池セル(11~18)と接続され、電池セルを監視する電池監視回路であって、
各電池セルの正極端子と負極端子に接続され、アナログ信号をデジタル信号に変換して、各電池セルの複素インピーダンス測定用の電気信号を出力する複数の第1変換回路(41)と、
各電池セルの正極端子と負極端子に接続され、アナログ信号をデジタル信号に変換して、各電池セルの状態検出用の電気信号を出力する複数の第2変換回路(42)と、
各第1変換回路と、各第1変換回路に対応する電池セルである対象セルとに接続された回路端子対(40a)と、を備え、
各電池セルに対して、第1変換回路と第2変換回路が対をなして接続されるものであり、
回路端子対は、各第1変換回路に対して個別に設けられていることを特徴とする。
【0010】
このように、電池監視回路は、各電池セルの複素インピーダンス測定用の電池電圧を出力する複数の第1変換回路を備えている。そして、各第1変換回路と対象セルとに接続された回路端子対は、各第1変換回路に対して個別に設けられている。よって、電池監視回路は、複数の電池セルとの間を差動ペア配線で結線しやすくできる。そのため、電池監視回路は、第2変換回路から状態検出用の電池電圧を出力するとともに、第1変換回路からノイズの影響が低減された複素インピーダンス測定用の電池電圧を出力できる。
(【0011】以降は省略されています)
この特許をJ-PlatPat(特許庁公式サイト)で参照する
関連特許
株式会社デンソーウェーブ
筐体
23日前
株式会社デンソー
電動弁
2日前
株式会社デンソー
回転機
23日前
株式会社デンソー
電子装置
1か月前
株式会社デンソー
電子装置
1か月前
株式会社デンソー
撮像装置
1日前
株式会社デンソー
制御装置
4日前
株式会社デンソー
電解装置
3日前
株式会社デンソー
電子装置
12日前
株式会社デンソー
反力装置
1か月前
株式会社デンソー
ステータ
1か月前
株式会社デンソー
電子装置
2日前
株式会社デンソー
検出装置
22日前
株式会社デンソー
摺動機構
1日前
株式会社デンソー
撮像装置
1日前
株式会社デンソー
摺動機構
1日前
株式会社デンソー
熱交換器
1日前
株式会社デンソー
ステータ
1か月前
株式会社デンソー
農業用装置
1か月前
株式会社デンソー
センサ装置
9日前
株式会社デンソー
半導体装置
3日前
株式会社デンソー
熱交換部材
3日前
株式会社デンソー
センサ装置
9日前
株式会社デンソートリム
鞍乗り車両
10日前
株式会社デンソー
半導体装置
11日前
株式会社デンソー
レーダ装置
29日前
株式会社デンソー
電流センサ
23日前
株式会社デンソー
半導体装置
18日前
株式会社デンソーテン
インバータ
1か月前
株式会社デンソー
熱交換装置
16日前
株式会社デンソー
ヒータ装置
10日前
株式会社デンソー
半導体装置
1日前
株式会社デンソー
電気化学セル
1日前
株式会社デンソー
電力変換装置
1か月前
株式会社デンソー
電力変換装置
16日前
株式会社デンソー
電圧検出回路
16日前
続きを見る
他の特許を見る