TOP
|
特許
|
意匠
|
商標
特許ウォッチ
Twitter
他の特許を見る
公開番号
2025042930
公報種別
公開特許公報(A)
公開日
2025-03-28
出願番号
2023150138
出願日
2023-09-15
発明の名称
無人機
出願人
ミネベアミツミ株式会社
代理人
個人
,
個人
主分類
B64U
30/29 20230101AFI20250321BHJP(航空機;飛行;宇宙工学)
要約
【課題】交換コストを低減することができる無人機を提供する。
【解決手段】無人機は、アームと、前記アームに締結されたハウジングと、前記ハウジングに締結されたホルダと、前記ホルダに締結されたロータと、を備える。前記ホルダには前記ロータを支持するシャフトが回転可能に支持されており、前記アーム及び前記ホルダは前記ハウジングに対して着脱可能である。
【選択図】図4
特許請求の範囲
【請求項1】
アームと、
前記アームに締結されたハウジングと、
前記ハウジングに締結されたホルダと、
前記ホルダに締結されたロータと、を備え、
前記ホルダには前記ロータを支持するシャフトが回転可能に支持されており、
前記アーム及び前記ホルダは前記ハウジングに対して着脱可能である、無人機。
続きを表示(約 390 文字)
【請求項2】
前記ロータを回転可能に支持する軸受を備え、
前記ホルダは、前記軸受を収容する筒と、当該筒に設けられたフランジと、を備え、
前記フランジが前記ハウジングに締結されている、請求項1に記載の無人機。
【請求項3】
前記ロータは、筒と、当該筒の外周面に固定されたマグネットと、を備え、
前記筒は前記シャフトの外周部に締結されている、請求項1又は2に記載の無人機。
【請求項4】
前記シャフトの外周部は、径方向に延在する環状の形状を備える、請求項3に記載の無人機。
【請求項5】
前記ロータに、直接又は間接的に、締結されたプロペラを備える、請求項1から4のいずれか1項に記載の無人機。
【請求項6】
前記ハウジングに収容されるステータを備える、請求項1から5のいずれか1項に記載の無人機。
発明の詳細な説明
【技術分野】
【0001】
本発明は無人機に関する。
続きを表示(約 1,600 文字)
【背景技術】
【0002】
例えば特許文献1に開示されたドローン等の無人機では、プロペラの回転に伴って振動が発生する。無人機が長期的に使用されると、寿命等によってモータ自体の交換を必要とするケースが発生する。
【先行技術文献】
【特許文献】
【0003】
特開2015-110413号公報
【発明の概要】
【発明が解決しようとする課題】
【0004】
特許文献1に記載の無人機では、モータはアームに一体化されている。したがって、モータの交換にはアームごとの交換が必要である。こうした交換はコスト増の要因となる。
【0005】
そこで、本発明は、交換コストを低減することができる無人機を提供することを課題の1つとする。
【課題を解決するための手段】
【0006】
本発明の一態様に係る無人機は、アームと、前記アームに締結されたハウジングと、前記ハウジングに締結されたホルダと、前記ホルダに締結されたロータと、を備え、前記ホルダには前記ロータを支持するシャフトが回転可能に支持されており、前記アーム及び前記ホルダは前記ハウジングに対して着脱可能である。
【図面の簡単な説明】
【0007】
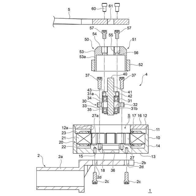
本発明の一実施形態に係る無人機1の構造を概略的に示す斜視図である。
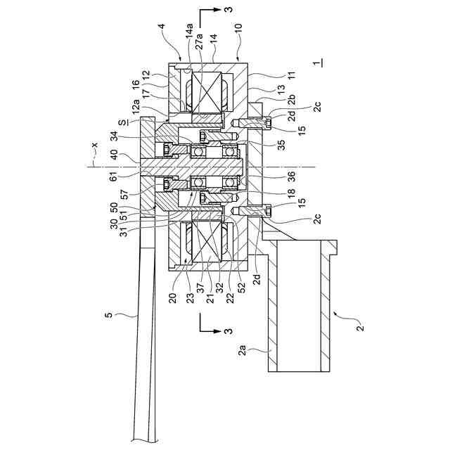
図1の2-2線に沿った断面図である。
図2の3-3線に沿った断面図である。
本発明の一実施形態に係る無人機1の分解斜視図である。
本発明の一実施形態に係る無人機1の分解断面図である。
【発明を実施するための形態】
【0008】
以下、添付図面を参照して、本発明の一実施形態について説明する。図1は、本発明の一実施形態に係る無人機1の構造を概略的に示す斜視図である。無人機1は、複数の推進装置を搭載したいわゆるマルチコプタである。無人機1は、図示しない本体と、本体から延在する複数のアーム2と、各アーム2の先端に配置された推進装置3と、を備えている。図1には、1つのアーム2の先端の一部と、当該アーム2の先端に配置された推進装置3と、を含む無人機1の一部が示されている。なお、本体内には、無人機1の駆動を制御する制御装置やバッテリ、各種のセンサ、カメラ等の部品が組み込まれる。
【0009】
アーム2の先端に配置された推進装置3は、モータ4と、回転軸線x回りに回転自在にモータ4に支持されるプロペラ5と、を備える。アーム2は、アーム2の本体部分を形成するアーム本体2aと、例えばアーム本体2aの先端に一体的に形成された取付部材すなわちアタッチメント2bと、を有している。アタッチメント2bにモータ4が固定されている。モータ4にはプロペラ5が取り付けられる。この例では、プロペラ5は、モータ4の回転軸線xに直交する方向に相互に反対向きに延在する1対の羽根から構成される。なお、プロペラ5にはその他の枚数の羽根を有するプロペラが用いられてもよい。
【0010】
図2は、図1の2-2線に沿った断面図であり、回転軸線xを含む仮想平面に沿った無人機1の縦断面図である。アーム2のアーム本体2aは、例えば中空の円筒状の部材である。アーム本体2aの先端は開放されている。アーム本体2a内には、例えば無人機1の本体とモータ4とを相互に接続する配線(図示せず)が収容される。アタッチメント2bは、例えば回転軸線xに直交する仮想平面に沿って広がる平板状に形成される。アタッチメント2bの表面にモータ4が締結される。締結にあたって、例えばボルト等の締結部材2cが用いられる。この例では、例えば4本の締結部材2cが用いられる。なお、アーム2は、例えば金属材料又は樹脂材料から一体的に形成される。
(【0011】以降は省略されています)
この特許をJ-PlatPat(特許庁公式サイト)で参照する
関連特許
ミネベアミツミ株式会社
モータ
11日前
ミネベアミツミ株式会社
モータ
24日前
ミネベアミツミ株式会社
角度センサ
20日前
ミネベアミツミ株式会社
起歪体、トルクセンサおよび回転機器
3日前
ミネベアミツミ株式会社
ひずみゲージ
3日前
ミネベアミツミ株式会社
ひずみゲージ
5日前
個人
ドローン
8か月前
個人
人工台風
3か月前
個人
着火ドローン
5か月前
個人
救難消防飛行艇
5か月前
個人
AERO JET
20日前
個人
ドローンシステム
9か月前
東レ株式会社
中空回転翼
4か月前
個人
動力原付きグライダー
1か月前
個人
無人空中移動体
1か月前
個人
陸海空用の乗り物
6か月前
個人
連続回転可能な飛行機翼
5か月前
個人
導風板付き垂直離着陸機
3か月前
東レ株式会社
プロペラブレード
4か月前
東レ株式会社
飛翔体用ブレード
27日前
個人
垂直離着陸機用エンジン改
9か月前
個人
空飛ぶクルマ
4か月前
東レ株式会社
プロペラブレード
4か月前
東レ株式会社
プロペラブレード
4か月前
個人
空中移動システム
10か月前
個人
ドローンを自動離着陸する方法
9か月前
トヨタ自動車株式会社
ドローン
7か月前
個人
エアライナー全自動パラシュート
8か月前
株式会社ACSL
システム
8か月前
個人
搬送方法および搬送システム
5か月前
株式会社ACSL
システム
8か月前
合同会社アドエア
パラシュート射出装置
8か月前
合同会社アドエア
飛行体の落下補助装置
10か月前
個人
ヘリコプター駆動装置
5か月前
株式会社小糸製作所
飛行体ポート
5か月前
個人
飛行体
4か月前
続きを見る
他の特許を見る