TOP
|
特許
|
意匠
|
商標
特許ウォッチ
Twitter
他の特許を見る
公開番号
2025027304
公報種別
公開特許公報(A)
公開日
2025-02-27
出願番号
2023131990
出願日
2023-08-14
発明の名称
水疱症の発生を抑制する方法、育苗方法、および育苗システム
出願人
国立大学法人福島大学
代理人
弁理士法人 HARAKENZO WORLD PATENT & TRADEMARK
主分類
A01G
7/00 20060101AFI20250219BHJP(農業;林業;畜産;狩猟;捕獲;漁業)
要約
【課題】ナス科植物における水疱症の発生を抑制する方法を提供する。
【解決手段】ナス科植物に葉水を行う工程を含むことにより、水疱症の発生を抑制する。
【選択図】図1
特許請求の範囲
【請求項1】
ナス科植物における水疱症の発生を抑制する方法であって、
前記ナス科植物に葉水を行う工程を含む、方法。
続きを表示(約 420 文字)
【請求項2】
前記葉水は育苗時に行う、請求項1に記載の方法。
【請求項3】
前記葉水は明暗サイクルの暗期開始前の所定のタイミングに行う、請求項1又は2に記載の方法。
【請求項4】
前記葉水は明暗サイクルの暗期開始の0.5時間前~4時間前の間に行う、請求項3に記載の方法。
【請求項5】
前記ナス科植物は、LED光源下で栽培されている、請求項3に記載の方法。
【請求項6】
前記ナス科植物がトマトである、請求項1又は2に記載の方法。
【請求項7】
トマトの育苗方法であって、明暗サイクルの暗期開始の0.5時間前~4時間前の間に、トマトに葉水を行う工程を含む、方法。
【請求項8】
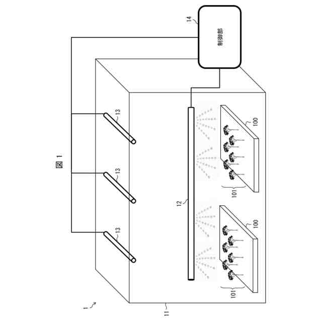
苗を収容するための室と、葉水を行う葉水手段とを備え、
前記葉水手段は、明暗サイクルの暗期開始前の所定のタイミングで葉水を行う、
育苗システム。
発明の詳細な説明
【技術分野】
【0001】
本発明は水疱症の発生を抑制する方法、育苗方法、および育苗システムに関する。
続きを表示(約 1,200 文字)
【背景技術】
【0002】
従前より、花卉・野菜などの生産現場では、苗生産会社から苗を購入する農家が増加している。多くの苗生産会社においては閉鎖型苗生産システムが導入されており、当該システムの活用によって、安定的かつ効率的な苗生産が実現されている。
【0003】
一方で、閉鎖型苗生産システムにおいては近年、苗に水疱症が発生する例が頻繁に報告され問題となっている。水疱症は、葉こぶ病、水泡症、水ほう症、intumescenceとも呼称される生理障害であり、葉面にこぶのような凸状の変形が発生し、症状が進むと褐変したのちに落葉に至る。このため、育苗時に水疱症が発生して進行すると、苗としての商品価値を失う。
【0004】
水疱症は、トマト、ナス、トウガラシ、ジャガイモ、ペチュニア、ゼラニウムなどの植物種でこれまで発生が報告されており、特にトマトにおける発生例が多い。水疱症は、太陽光を用いたいわゆる自然環境下での育苗、および本圃場への苗の定植後の栽培時においても発生するが、現在まで水疱症の発生報告が最も顕著にみられるのは、閉鎖型苗生産システムによる苗栽培においてである。
【0005】
一方で、これまで公知となっている水疱症の抑制技術として、例えば特許文献1および2において特定の光照射条件による抑制技術が記載されている。具体的には、特許文献1には、特定の範囲の光量子束密度を有する青色光、緑色光および赤色光を含む光を照射する工程を含む方法が開示されている。また特許文献2には、特定のUV強度を有し、少なくとも450~660nmの波長領域の光を照射する半導体照明装置を備える栽培装置が開示されている。
【先行技術文献】
【特許文献】
【0006】
特開2020-145975号公報
特開2022-022299号公報
【発明の概要】
【発明が解決しようとする課題】
【0007】
多くの植物種、特にトマトにおいて水疱症の発生報告が近年頻発している一方で、そのメカニズムについては未だ不明な点が多い。このことから、上述した光照射を用いた水疱症の抑制技術以外にも、多様なアプローチによる抑制対策の開発が求められている。
【0008】
本発明の一態様は、上記の課題に鑑みてなされたものであり、植物における水疱症等の生理障害の発生を抑制する方法を実現することを目的とする。
【課題を解決するための手段】
【0009】
本願発明者は鋭意研究の末、水疱症の発生の抑制対策として、植物体の葉に葉水を行うことが有効であることを見出した。
【0010】
すなわち、上記の課題を解決するために、本発明の一態様は、ナス科植物の水疱症の発生を抑制する方法であって、ナス科植物に葉水を行う工程を含む、方法を提供する。
(【0011】以降は省略されています)
特許ウォッチbot のツイートを見る
この特許をJ-PlatPat(特許庁公式サイト)で参照する
関連特許
国立大学法人福島大学
排水処理装置
3か月前
国立大学法人福島大学
ニトリルゴム分解菌
2日前
旭化成株式会社
分析方法及び分析装置
1か月前
旭化成株式会社
分析方法及び分析装置
1か月前
国立大学法人福島大学
土質粒子の粒度分布測定用学習モデルの構築方法
8か月前
国立大学法人福島大学
ニオブ94の分析方法及びニオブ94の分析システム
5か月前
国立大学法人福島大学
化合物、リゾチームの酵素活性の測定方法及び化合物の製造方法
6か月前
国立大学法人福島大学
放射線源探査装置、放射線源探査システム、放射線源探査方法、およびプログラム
1か月前
個人
蠅捕獲器
1か月前
個人
草刈り鋏
1か月前
個人
釣り用錘
12日前
個人
噴霧器ノズル
10日前
個人
蜜蜂保護装置
23日前
個人
種子の製造方法
29日前
個人
草刈機用回転刃
1か月前
個人
昆虫捕集器
29日前
株式会社剛樹
釣り竿
8日前
井関農機株式会社
作業車両
1か月前
個人
可動リップ付きルアー
15日前
井関農機株式会社
作業車両
1か月前
個人
四足動物用装着具
1か月前
個人
餌付き針の餌取り防止具
18日前
個人
ブルーカーボンシステム
15日前
株式会社ナベル
表示システム
18日前
井関農機株式会社
圃場作業機
15日前
有限会社信英精密
括り罠
2日前
大栄工業株式会社
捕獲器
1か月前
みのる産業株式会社
除草機
18日前
株式会社オーツボ
海苔箱船
1か月前
松山株式会社
収穫機
15日前
松山株式会社
収穫機
15日前
井関農機株式会社
作業車両
1か月前
井関農機株式会社
苗移植機
2日前
井関農機株式会社
作業車両
1か月前
みのる産業株式会社
除草機
18日前
株式会社アテックス
芝草の刈取装置
1日前
続きを見る
他の特許を見る