TOP
|
特許
|
意匠
|
商標
特許ウォッチ
Twitter
他の特許を見る
10個以上の画像は省略されています。
公開番号
2025008317
公報種別
公開特許公報(A)
公開日
2025-01-20
出願番号
2023110372
出願日
2023-07-05
発明の名称
断熱コンテナボックス
出願人
群馬県
,
株式会社内外
,
株式会社木村鋳造所
代理人
主分類
B62D
33/04 20060101AFI20250109BHJP(鉄道以外の路面車両)
要約
【課題】構造が簡便で軽量であり、内面が汚れず且つ操作性のよいウイングドアとサイドフラップによる扉の開閉構造を備える断熱コンテナボックスを提供する。
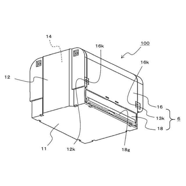
【解決手段】熱可塑性発泡体で作製された直方体形状の底板、前板12、後板13、上板14を連結し基本構造体の本体とし、上板14の両端部で回動自在に支持された2枚のウイングドア15、16および本体の前板12および後板13の略底板側で車両搭載時の進行方向を軸方向として回動自在となるように片端を係合された一対のステーアッセンブリ40の、もう一方の片端に車両搭載時の進行方向を軸方向として回動自在となるように両端面の上方で係合された2枚のサイドフラップ17、18にて二分割された開閉扉で構成する断熱コンテナボックスであり、サイドフラップ17,18はそれぞれ閉じた状態の外面を維持し底板の下方で開いた状態に保持可能な構造とする。
【選択図】図9
特許請求の範囲
【請求項1】
直方体形状の底板と、該底板の一方の端部から上方に配置された直方体形状の前板、該前板とは反対側の前記底板の端部から上方に向けて配置された後板、前記前板および前記後板の上端部で締結された直方体形状の上板で構成された熱可塑性樹脂発泡体の本体と、該本体の両側側面を覆うように設けられた熱可塑性樹脂発泡体の側板からなる断熱コンテナボックスであって、
両側面の少なくとも一方の前記側板は、前記上板の端部と対向する端部で車両搭載時の進行方向を軸方向として回動自在となるようにヒンジ部品で係合されたウイングドアと、
該ウイングドアとは別々に可動するサイドフラップと、
を備え、前記ウイングドアを開いた状態と閉じた状態に保持可能な一対のステーを介して前記本体と前記ウイングドアを連結させ、前記サイドフラップは前記ウイングドアの回動と平行方向若しくは直交方向に回動自在に前記本体と係合するとともに、
前記ウイングドアおよび前記サイドフラップは内面が常に内側に向いた状態で開閉動作されることを特徴とする熱可塑性樹脂発泡体の断熱コンテナボックス。
続きを表示(約 900 文字)
【請求項2】
前記ウイングドアおよび前記サイドフラップは、閉じた状態でトラックのあおりの上端よりも高い位置で、前記ウイングドアの段付き部の下方先端が外側で、前記サイドフラップの上方先端が内側で重なるように前記コンテナボックスの前記側板を構成したことを特徴とする請求項1に記載の熱可塑性樹脂発泡体の断熱コンテナボックス。
【請求項3】
前記前板および前記後板の内面で片端を回動自在に係合された一対のリンクアームと、
該リンクアームの他端と回動自在に両端部の上方を係合され、前記ウイングドアの回動と平行方向に回動自在に係合され前記ウイングドアの下方に並列に配設されたサイドフラップと
を具備し、前記サイドフラップを開けた状態において、前記サイドフラップの上端面が前記底板の内面よりも低い位置で保持されることを特徴とする請求項1、請求項2に記載の断熱コンテナボックス。
【請求項4】
前記ウイングドアに対して下方に並列に配置されたサイドフラップを具備し、該サイドフラップは複数の下部側板に分割されるとともに、隣接する前記各下部側板はそれぞれ前記ウイングドアの回動と直交方向に回動自在に第2のヒンジ部品で回動自在に係合され、前記下部側板の端部側板は少なくともその1つが前記ウイングドアの回動と直交方向に回動自在に第1のヒンジ部品で前記前板または前記後板と係合され、前記本体外側に向かって前記下部側板の内面同志が内側に折り畳むことができるように構成したことを特徴とする請求項1、請求項2に記載の熱可塑性樹脂発泡体の断熱コンテナボックス。
【請求項5】
前記熱可塑性樹脂発泡体の前記底板、前記前板、前記後板、前記上板、前記ウイングドア、前記サイドフラップのうち少なくとも1つ、又は少なくとも1面を樹脂化合物でコーティングしたことを特徴とする請求項1、請求項2に記載の断熱コンテナボックス。
【請求項6】
前記熱可塑性樹脂発泡体が発泡ポリスチレン樹脂であることを特徴とする請求項1、請求項2に記載の断熱コンテナボックス。
発明の詳細な説明
【技術分野】
【0001】
本発明は、扉の開閉機能を有する断熱コンテナボックスに関するものである。
続きを表示(約 2,000 文字)
【背景技術】
【0002】
断熱コンテナボックスは、保冷性、保温性、保湿性および気密性に利点があるため、農地で収穫した野菜等生鮮物の余分な葉を除き、洗浄、梱包する加工工場への輸送用や、加工工場から販売所までの輸送用として車両に搭載され利用されている。野菜等生鮮物は籠に収めた状態で、断熱コンテナボックスに積み降ろしされる。籠の積み降ろしのときは、断熱コンテナボックスの扉を開く必要があるが、地面に対して水平方向に開閉するいわゆる観音扉であれば、実用上支障はなかった。
【0003】
しかしながら、野菜等生鮮物は鮮度を保つことが重要であり、農地で収穫し、籠に収めて積み荷作業をしている間も、乾燥を防ぐために直射日光を遮る必要があるが、観音扉では庇の役割にはならなかった。また、作業者の積み降ろし作業の時に、観音扉が作業者の動線にある場合は作業の妨げであった。そのため、庇の役割をなし、且つ作業者の動線から退避する構造が必要であった。
【0004】
この対応として、コンテナボックスの略上面で略水平に扉を保持する、いわゆるウイングドアを使用する方法がある。特許文献1はウイングドアを使用する方法の実施形態の第1例であって、コンテナボックスの略上面であり、且つ車両搭載時の進行方向に軸配置された、コンテナボックス本体とウイングドアを係合する係合部を支点として、ウイングドアを上方向に回動し、ガススプリングによりウイングドアを開いた状態で保持することで、庇の機能が付与されている。
【0005】
特許文献2はウイングドアを使用する方法の実施形態の第2例であって、コンテナボックスの略上面であり、且つ車両搭載時の進行方向に軸配置された、コンテナボックス本体と折りたたみ可能に分割されたウイングドアを係合する係合部を支点として、コンテナボックスの略上面に配置された付勢手段と、付勢手段とウイングドアに接続されたワイヤによって、ウイングドアを上方向に折りたたみながら回動することで、庇の機能と作業者の動線から退避する機能が付与されている。
【0006】
特許文献3はウイングドアを使用する方法の実施形態の第3例であって、コンテナボックス本体とウイングドアは断熱材とその両面に接着された内張り板と薄い一枚のアルミ板(FRP板、その他折曲がる板)で構成されており、コンテナボックスの略上面であり、且つ車両搭載時の進行方向に軸配置された、コンテナボックス本体とウイングドアを係合する係合部を支点として、ウイングドアを上方向に回動することで、庇の機能と作業者の動線から退避する機能が付与されている。
【先行技術文献】
【特許文献】
【0007】
特許第7162808号公報
特許第3621289号公報
特開平7-76287号公報
【発明の概要】
【発明が解決しようとする課題】
【0008】
しかしながら、作業者は農地で収穫した野菜等生鮮物の加工工場への輸送を一日に複数回繰り返す。それゆえ、野菜等生鮮物を収めた籠の積み降ろしのために、ウイングドアの開閉をその都度行うため、ウイングドアの開閉動作は軽い力で短時間に行える必要がある。また、農地で収穫した野菜等生鮮物を収めた籠の底面は農地の泥土で汚れている。加工工場から販売所へ販売用の箱詰めされた野菜等を輸送する際に、販売用の箱を汚さないためにコンテナボックスの内側面を汚さない構造が必要である。
【0009】
それゆえ、特許文献1ではガススプリングによってウイングドアを開閉する構造となっているが、構造が複雑であり、また、コンテナボックス本体とウイングドアが薄板のため、ガススプリングをねじによって比較的容易に固定可能であるが、一方で断熱性を供しておらず、重量も大きいため操作性に劣るという問題がある。また、軽量化のためのウイングドアの短小化に伴い、コンテナボックスの略下面で略水平に扉を保持するあおり構造を有しているが、野菜等生鮮物を収めた籠の積み降ろし時に籠を引きずることや雨水により前述の水平に開けた状態のあおりの上面が汚れ、結果として閉じたときにコンテナボックスの内側面が汚れた状態となる。さらにあおりは作業者の動線にあるため作業の妨げになるという問題がある。
【0010】
また、特許文献2ではウイングドアを開放させる付勢力を生じる付勢手段によって、ウイングドアを開閉する構造となっているが、構造が複雑であり、また、コンテナボックス本体とウイングドアが薄板のため、付勢手段をねじによって比較的容易に固定可能であるが、一方で断熱性を供してない。また、コンテナボックスの側板全面でウイングドアを構成しているため重量も大きく操作性に劣るという問題がある。
(【0011】以降は省略されています)
この特許をJ-PlatPat(特許庁公式サイト)で参照する
関連特許
群馬県
不溶化剤
11か月前
群馬県
乾燥装置
3か月前
群馬県
断熱コンテナボックス
10か月前
群馬県
三面型振動試験用治具
3か月前
群馬県
塊状割りガラスの剥離装置
6か月前
川上産業株式会社
吸音シート
5か月前
住友重機械工業株式会社
熱分析装置
2か月前
群馬県
有機高分子材料熱分解残渣の炭化方法
10か月前
群馬県
節足動物および腹足動物の判定システム
8か月前
群馬県
繊維加工剤、繊維加工方法及び抗ウイルス性繊維
28日前
有限会社石川鉄工所
プレス金型設計支援システム
3か月前
有限会社バースケア
機能性和紙シートおよびその製造方法
8か月前
桐生瓦斯株式会社
メタン含有ガスの製造方法およびその製造装置
2か月前
群馬県
リサイクル原料の特性評価システム、リサイクル原料の特性評価方法
9日前
池田食研株式会社
腹足類の駆除忌避剤
7か月前
株式会社誠和
接触構造体
11か月前
国立研究開発法人農業・食品産業技術総合研究機構
ネギ黒腐菌核病菌検出用オリゴヌクレオチド及びそれを用いた検出方法
17日前
個人
カート
5か月前
個人
走行装置
5か月前
個人
三輪バイク
1か月前
個人
台車
15日前
個人
乗り物
7か月前
個人
電動走行車両
5か月前
個人
閂式ハンドル錠
5か月前
個人
電動モビリティ
9か月前
個人
駐輪設備
3か月前
個人
自転車用歩数計
1か月前
個人
発音装置
9か月前
個人
ボギー・フレーム
3か月前
個人
“zen-go.”
4か月前
個人
ルーフ付きトライク
4か月前
個人
三輪電動車両
1か月前
個人
ルーフ付きトライク
3か月前
個人
自由方向乗車自転車
9か月前
個人
車の室内高温防止屋根
29日前
個人
パワーアシスト自転車
3か月前
続きを見る
他の特許を見る