TOP
|
特許
|
意匠
|
商標
特許ウォッチ
Twitter
他の特許を見る
公開番号
2025179605
公報種別
公開特許公報(A)
公開日
2025-12-10
出願番号
2024086463
出願日
2024-05-28
発明の名称
回折格子及びそれを用いた分析装置、回折格子の製造方法
出願人
株式会社日立ハイテク
代理人
ポレール弁理士法人
主分類
B29C
59/02 20060101AFI20251203BHJP(プラスチックの加工;可塑状態の物質の加工一般)
要約
【課題】
既存の半導体プロセスや機械加工の加工限界よりも微細な格子溝を有する回折格子を提供する。
【解決手段】
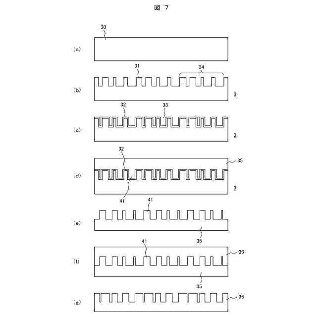
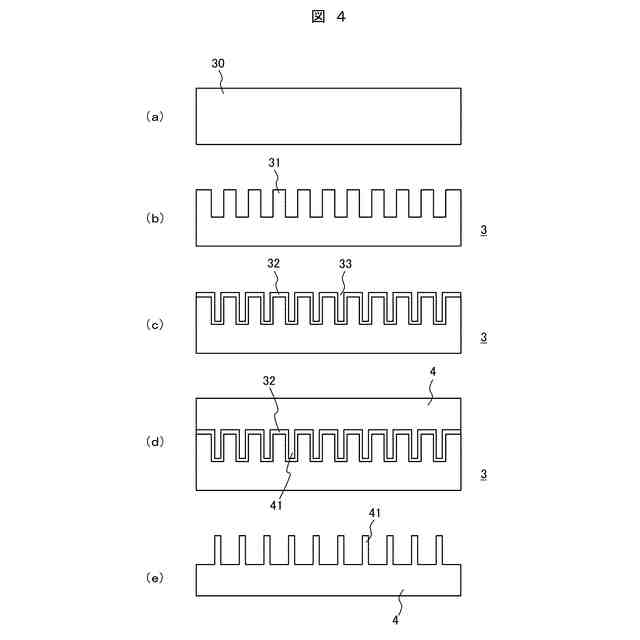
分析装置に搭載される回折格子であって、シリコン基板上に断面形状が略矩形の格子が複数配列された回折格子基板を作製し、前記回折格子基板の表面を熱酸化して前記格子同士の間の隙間を収縮させ、前記熱酸化した回折格子基板を型として、前記隙間のパターンを透明の樹脂もしくはガラスに転写することで作製されたことを特徴とする。
【選択図】 図4
特許請求の範囲
【請求項1】
分析装置に搭載される回折格子であって、
シリコン基板上に断面形状が略矩形の格子が複数配列された回折格子基板を作製し、
前記回折格子基板の表面を熱酸化して前記格子同士の間の隙間を収縮させ、
前記熱酸化した回折格子基板を型として、前記隙間のパターンを透明の樹脂もしくはガラスに転写することで作製されたことを特徴とする回折格子。
続きを表示(約 850 文字)
【請求項2】
請求項1に記載の回折格子であって、
前記複数の格子は、前記シリコン基板表面のドライエッチングにより作製されたことを特徴とする回折格子。
【請求項3】
請求項1に記載の回折格子であって、
熱酸化後の前記隙間は、20nm以上であることを特徴とする回折格子。
【請求項4】
請求項1に記載の回折格子であって、
前記熱酸化した回折格子基板を型として、前記隙間のパターンを透明の樹脂に転写することで作製され、
前記透明の樹脂の材質は、アクリルもしくはシクロオレフィンであることを特徴とする回折格子。
【請求項5】
請求項1に記載の回折格子であって、
前記隙間の深さと幅の比であるアスペクト比(深さ/幅)は、10以上であることを特徴とする回折格子。
【請求項6】
請求項1に記載の回折格子であって、
前記複数の格子は、前記シリコン基板上に等間隔で配列されていることを特徴とする回折格子。
【請求項7】
請求項1に記載の回折格子であって、
前記複数の格子は、前記シリコン基板上に不等間隔で配列されていることを特徴とする回折格子。
【請求項8】
請求項7に記載の回折格子であって、
熱酸化後の前記隙間は、20nm以上200nm以下であることを特徴とする回折格子。
【請求項9】
請求項1に記載の回折格子であって、
前記熱酸化は、酸素または不活性ガスで希釈した酸素を用いた乾式酸化であることを特徴とする回折格子。
【請求項10】
請求項1に記載の回折格子であって、
前記熱酸化した回折格子基板を型として、前記隙間のパターンを金属に転写し、
前記隙間のパターンが転写された金属型を前記透明の樹脂もしくは前記ガラスに転写することを特徴とする回折格子。
(【請求項11】以降は省略されています)
発明の詳細な説明
【技術分野】
【0001】
本発明は、回折格子の構造とその製造方法に係り、特に、半導体プロセスで形成できるパターンよりも微細な回折格子パターンを有する回折格子に適用して有効な技術に関する。
続きを表示(約 1,500 文字)
【背景技術】
【0002】
軟X線から遠赤外線の領域まで、さまざまな光を分光する回折格子は、分光機器に欠かすことのできない光学素子として多くの分野で利用されている。例えば、分光分析装置に搭載される回折格子は、特定の波長の光を分光して検出器に導入する。光源から試料に光を照射した後、回折格子において波長毎の光に分光し、試料における光の吸収を強度により検出する。従来、このような回折格子は、機械刻線やホログラフィック露光で作製した型を、樹脂や金属に転写して製造していた。
【0003】
近年、分光性能をさらに向上させるため、機械刻線やホログラフィック露光で作製が困難な光の波長より細かいサブ波長構造を有する回折格子が開発されている。このサブ波長構造を有する回折格子では、分光光の波長より小さい構造を形成する必要があるが、半導体プロセスを用いても、フォトリソグラフィの解像度やエッチングの加工精度などの課題がある。
【0004】
本技術分野の背景技術として、例えば、特許文献1のような技術がある。特許文献1では、樹脂フィルムの表面に透過光を回折するための周期凹凸形状を作製するために、シリコン基板上に半導体リソグラフィ技術によって等間隔の凹凸形状を作製し、剥離させやすいように熱酸化により酸化膜を形成した後、フッ素化ポリイミド樹脂をコーティングし、硬化させた後、剥離してフッ素化ポリイミド製の回折格子を成形している。
【0005】
また、特許文献2では、シリコン基板上にフォトリソグラフィ及びエッチングで周期的な凹凸形状を作製し、熱酸化により酸化膜を形成した後、酸化膜を除去して、更に小さい形状としている。これを溶融させたガラスに転写して、微細な凹形状を有する回折格子を作製している。
【0006】
また、特許文献3では、シリコンの凸形状の構造が熱酸化による酸化膜形成時に歪んだり、傾いたり、倒れたりするのを防止するため、凸形状の構造の途中に切断部を設けておき、熱酸化により酸化膜を形成したときに、膜の膨張により連結される構造としている。
【先行技術文献】
【特許文献】
【0007】
特開2005-275014号公報
米国特許出願公開第2024/0004111号明細書
特開2015-75550号公報
【発明の概要】
【発明が解決しようとする課題】
【0008】
上記のような回折格子において、既存の半導体プロセスのフォトリソグラフィやエッチングでは、解像限界、加工限界により微細な構造を有する回折格子の作製は困難である。
【0009】
上記特許文献1では、シリコン基板上に周期的な凹凸形状を2光束干渉法で最小周期200nmのパターンを作製できているが、紫外可視光領域の分光には、さらに微細な凹凸形状の作製が必要である。また、特許文献1に記載されている熱酸化の条件では、熱酸化膜が比較的厚く形成されるため、膜厚制御の観点で改善の余地がある。
【0010】
また、上記特許文献2では、シリコン基板の凸形状の構造体を熱酸化することで、シリコン中に酸素が拡散して、酸化膜を形成する。この酸化膜を除去することで、シリコンの凸形状の構造体を小さくすることができる。この小さくした凸形状の構造を、シリコン基板を型として、ガラスに転写することで小さい凹形状を備えた回折格子を作製しているが、屈折率の分布を持たせるために必要な凸形状は大きくなってしまう。また、ガラスをシリコンに接合して転写しているため、シリコン基板の型は一度で破損する。
(【0011】以降は省略されています)
この特許をJ-PlatPat(特許庁公式サイト)で参照する
関連特許
株式会社日立ハイテク
分析装置
今日
株式会社日立ハイテク
ガスセンサ
28日前
株式会社日立ハイテク
分散制御システム
6日前
株式会社日立ハイテク
ロボット教示装置
6日前
株式会社日立ハイテク
診断装置および診断方法
1か月前
株式会社日立ハイテク
セキュリティ分析装置および方法
14日前
株式会社日立ハイテク
画像構成システム及び画像構成方法
1日前
株式会社日立ハイテク
セキュリティ対策管理装置および方法
20日前
株式会社日立ハイテク
ステージ装置、それを備えた荷電粒子線装置
7日前
株式会社日立ハイテク
ステージ装置、荷電粒子線装置および真空装置
6日前
株式会社日立ハイテク
自動培養装置、それを複数用いた自動培養システム
20日前
株式会社日立ハイテク
回折格子及びそれを用いた分析装置、回折格子の製造方法
今日
株式会社日立ハイテク
分析装置
22日前
株式会社日立ハイテク
フリッカ値算出及び電源高調波解析装置、分析装置、フリッカ値算出及び電源高調波解析方法
1か月前
個人
気泡緩衝材減容装置
2か月前
豊田鉄工株式会社
金型
4か月前
CKD株式会社
型用台車
11か月前
シーメット株式会社
光造形装置
11か月前
東レ株式会社
フィルムの製造方法
5か月前
東レ株式会社
フィルムの製造方法
5か月前
株式会社 型善
射出成形型
21日前
グンゼ株式会社
ピン
12か月前
東レ株式会社
フィルムの製造方法
8か月前
日機装株式会社
加圧システム
7か月前
株式会社カワタ
計量混合装置
6か月前
東レ株式会社
フィルムの製造方法。
4か月前
東レ株式会社
複合成形体の製造方法
1か月前
株式会社FTS
ロッド
10か月前
個人
樹脂可塑化方法及び装置
10か月前
株式会社エフピコ
賦形シート
1か月前
株式会社FTS
成形装置
11か月前
NOK株式会社
樹脂ゴム複合体
3か月前
トヨタ自動車株式会社
射出装置
9か月前
東レ株式会社
樹脂フィルムの製造方法
6か月前
株式会社漆原
シートの成形方法
6か月前
株式会社日本製鋼所
監視システム
12日前
続きを見る
他の特許を見る