TOP
|
特許
|
意匠
|
商標
特許ウォッチ
Twitter
他の特許を見る
公開番号
2025163760
公報種別
公開特許公報(A)
公開日
2025-10-30
出願番号
2024067262
出願日
2024-04-18
発明の名称
診断装置および診断方法
出願人
株式会社日立ハイテク
代理人
ポレール弁理士法人
主分類
G05B
23/02 20060101AFI20251023BHJP(制御;調整)
要約
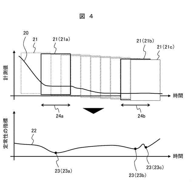
【課題】診断に用いる定常状態のデータを、短時間で効率的に抽出することができる診断装置を提供する。
【解決手段】本発明による診断装置は、診断対象の機器から時系列データを計測して取得する計測部と、時系列データの波形を時間軸について複数の波形に分割することで、複数の分割波形を生成する波形分割部と、波形分割部が生成した複数の分割波形ごとに、時系列データが定常状態であるか否かを判断するための指標である定常性の指標を求める定常性の指標変換部と、定常性の指標変換部が求めた定常性の指標の極値を求め、極値に対応する計測値を含む分割波形を、定常状態のデータとして求める定常データ抽出部と、定常データ抽出部が定常状態のデータとして求めた分割波形を用いて、機器の状態を診断する診断部とを備える。
【選択図】図3
特許請求の範囲
【請求項1】
診断対象の機器から時系列データを計測して取得する計測部と、
前記時系列データの波形を時間軸について複数の波形に分割することで、複数の分割波形を生成する波形分割部と、
前記波形分割部が生成した複数の前記分割波形ごとに、前記時系列データが定常状態であるか否かを判断するための指標である定常性の指標を求める定常性の指標変換部と、
前記定常性の指標変換部が求めた前記定常性の指標の極値を求め、前記極値に対応する計測値を含む前記分割波形を、定常状態のデータとして求める定常データ抽出部と、
前記定常データ抽出部が前記定常状態のデータとして求めた前記分割波形を用いて、前記機器の状態を診断する診断部と、
を備える、
ことを特徴とする診断装置。
続きを表示(約 1,400 文字)
【請求項2】
前記波形分割部は、前記時間軸において前記分割波形が他の前記分割波形と重なるように、複数の前記分割波形を生成する、
請求項1に記載の診断装置。
【請求項3】
前記定常データ抽出部は、前記極値に対応する計測値を含む前記分割波形である極値分割波形が複数あり、前記時間軸において他の前記極値分割波形と重複している前記極値分割波形がある場合には、互いに重複している前記極値分割波形のうち、最小または最大の前記極値に対応する計測値を含む前記極値分割波形を、前記定常状態のデータとする、
請求項1に記載の診断装置。
【請求項4】
前記定常性の指標は、前記時系列データの基本周波数の分散、前記時系列データの振幅の分散、または前記時系列データの基本周波数の分散と前記時系列データの振幅の分散の積である、
請求項1に記載の診断装置。
【請求項5】
前記機器は、電動機または電力変換器であり、
前記時系列データは、電流または振動の計測値の波形であり、
前記診断部は、前記定常状態のデータに対して周波数解析を行って、前記機器の状態を診断する、
請求項1に記載の診断装置。
【請求項6】
前記診断部での診断に用いるデータを選別するための閾値が格納されている選別閾値格納部と、
前記閾値を用いて、前記定常データ抽出部が前記定常状態のデータとして求めた前記分割波形の中から、前記診断部での診断に用いるデータを選別するデータ選別部と、
を備える、
請求項1に記載の診断装置。
【請求項7】
前記閾値は、前記時系列データの振幅についての値と、前記時系列データの基本周波数についての値の一方または両方である、
請求項6に記載の診断装置。
【請求項8】
診断対象の機器から時系列データを計測して取得する計測工程と、
前記時系列データの波形を時間軸について複数の波形に分割することで、複数の分割波形を生成する波形分割工程と、
前記波形分割工程で生成した複数の前記分割波形ごとに、前記時系列データが定常状態であるか否かを判断するための指標である定常性の指標を求める定常性の指標変換工程と、
前記定常性の指標変換工程で求めた前記定常性の指標の極値を求め、前記極値に対応する計測値を含む前記分割波形を、定常状態のデータとして求める定常データ抽出工程と、
前記定常データ抽出工程で前記定常状態のデータとして求めた前記分割波形を用いて、前記機器の状態を診断する診断工程と、
を有する、
ことを特徴とする診断方法。
【請求項9】
前記波形分割工程では、前記時間軸において前記分割波形が他の前記分割波形と重なるように、複数の前記分割波形を生成する、
請求項8に記載の診断方法。
【請求項10】
前記定常データ抽出工程では、前記極値に対応する計測値を含む前記分割波形である極値分割波形が複数あり、前記時間軸において他の前記極値分割波形と重複している前記極値分割波形がある場合には、互いに重複している前記極値分割波形のうち、最小または最大の前記極値に対応する計測値を含む前記極値分割波形を、前記定常状態のデータとする、
請求項8に記載の診断方法。
(【請求項11】以降は省略されています)
発明の詳細な説明
【技術分野】
【0001】
本発明は、機器の状態を診断する診断装置と診断方法に関する。
続きを表示(約 1,700 文字)
【背景技術】
【0002】
生産設備のみならず、EVやHVを含む自動車、鉄道車両、及び建設機械など、様々な分野の装置で電動機(モータ)などの機器が使われている。これらの装置の特定の機器が突発的に故障すると、計画外の修理作業や交換作業が必要となり、装置の稼働率が低下する。これにより、生産設備の場合には生産計画の見直しや稼働率の低下などにより、車両の場合には車両が使えないことなどにより、損害が発生したり不便な状態に陥ったりすることがある。
【0003】
このため、機器の故障の兆候を調べることで、故障する可能性が高い機器に対して予め交換部品を用意しておくことや修理の予定を計画しておくことにより、早めに修理や交換をすることができれば、装置の稼働率の低下や生産計画の見直しを最低限に抑えることができる。また、生産設備や車両などの装置に電力を供給するインバータ(電力変換器)など、モータに付帯する機器に関しても、同様のことが当てはまる。すなわち、対象の機器の故障の兆候を調べ、故障する可能性が高い機器に対して予め交換部品を用意することや修理の予定を計画することができれば、装置の稼働率の低下や生産計画の見直しを最低限に抑えることができる。
【0004】
機器の故障の兆候を調べる方法には、機器から電流や振動などの時系列データを取得し、これらのデータを分析して機器を診断する方法がある。データを分析する手法には、周波数解析が用いられることが多い。例えば、モータの電流や振動などの計測値に対して周波数解析を行った結果を基に、モータの状態を診断する方法が用いられる。特に、モータの電流を用いた方法は、MCSA(Motor Current Signature Analysis)と呼ばれている。
【0005】
この方法を適用するには、定常状態の電流波形が必要である。しかし、定常状態の電流波形を得るのが困難な場合もある。例えば、車両は、加減速を伴い状態変化が激しいので、電流波形の定常状態は、その継続時間が短くて出現頻度が低い。また、状態変化が激しい生産設備でも、電流波形は、定常状態の継続時間が短く出現頻度が低いことがある。定常状態の電流波形が得られないと、周波数解析による診断を高精度に行うことは難しい。
【0006】
そこで、診断に適した計測データのみを抽出するなどの前処理を、診断前に計測データに施すなどの方法が一般的に用いられている。この前処理により、定常状態の計測データを抽出することができ、周波数解析による診断を行うことが可能である。
【0007】
特許文献1には、診断に用いるデータを前処理で抽出する方法の例が記載されている。特許文献1に記載された発明では、予め設定した基準値(閾値)で定常状態を定め、定常状態の開始時刻から定常状態の終了後に所定時間が経過した時刻までの計測データを、診断用データとして抽出する。
【先行技術文献】
【特許文献】
【0008】
特開2022-183666号公報
【発明の概要】
【発明が解決しようとする課題】
【0009】
特許文献1に記載された発明など、従来の技術では、予め設定した閾値(基準値)で計測データの定常状態を定め、この閾値をトリガとして診断に用いるデータ(定常状態の計測データ)を抽出する。しかし、この従来の技術には、閾値の設定には試行錯誤が必要であり、閾値の調整に時間がかかるという課題がある。例えば、対象機器の定格値を基にしてトリガとなる閾値を設定しようとしても、機器の稼働条件が使用状態によって異なるので、閾値を設定するのは容易ではない。また、適切な閾値を設定しないと、変化途中のデータを定常状態のデータと誤って抽出してしまうという課題や、閾値がトリガとならずに診断用データが抽出されないという課題もある。
【0010】
本発明の目的は、診断に用いる定常状態のデータを、短時間で効率的に抽出することができる診断装置と診断方法を提供することである。
【課題を解決するための手段】
(【0011】以降は省略されています)
この特許をJ-PlatPat(特許庁公式サイト)で参照する
関連特許
株式会社熊谷組
障害物の検出方法
2か月前
株式会社クボタ
作業車
1か月前
株式会社クボタ
作業車
9日前
新電元工業株式会社
作業用ロボット
1か月前
豊田合成株式会社
機器制御装置
2か月前
ローム株式会社
半導体集積回路
10日前
株式会社アサヒエンタープライズ
調整弁
25日前
株式会社ダイフク
物品搬送設備
17日前
カヤバ株式会社
減圧弁
2か月前
エイブリック株式会社
電流補償回路及び半導体装置
1か月前
株式会社ダイフク
物品搬送設備
1か月前
株式会社アマダ
工作機械制御装置
1か月前
村田機械株式会社
搬送車システム
1か月前
RFルーカス株式会社
自動棚卸ロボット
4日前
日野自動車株式会社
自動運転装置
1か月前
株式会社明電舎
負荷制御装置
1か月前
株式会社明電舎
負荷制御装置
1か月前
株式会社明電舎
負荷制御装置
1か月前
オムロン株式会社
システム及び方法
1か月前
株式会社計数技研
移動体、及びプログラム
17日前
オムロン株式会社
システム及び方法
1か月前
浦登有限公司
電源回路
2日前
株式会社カーメイト
アクセルペダルカバー
2か月前
トヨタ自動車株式会社
管理システム、及び管理方法
9日前
ローム株式会社
半導体装置
1か月前
トヨタ自動車株式会社
管理システム、及び管理方法
1か月前
株式会社東海ヒット
複段圧力差生成システム
2か月前
多摩川精機株式会社
レバー装置
1か月前
日清紡マイクロデバイス株式会社
定電圧回路
1か月前
アズビル株式会社
情報処理装置および情報処理方法
9日前
ローム株式会社
半導体装置
25日前
ローム株式会社
電源装置
1か月前
IDEC株式会社
教示装置
2か月前
セコム株式会社
自律移動ロボット
1か月前
富士電機株式会社
集積回路
9日前
エイブリック株式会社
ボルテージレギュレータ及び半導体装置
2か月前
続きを見る
他の特許を見る