TOP
|
特許
|
意匠
|
商標
特許ウォッチ
Twitter
他の特許を見る
10個以上の画像は省略されています。
公開番号
2025176422
公報種別
公開特許公報(A)
公開日
2025-12-04
出願番号
2024082581
出願日
2024-05-21
発明の名称
分散制御システム
出願人
株式会社日立ハイテク
代理人
弁理士法人平木国際特許事務所
主分類
H04L
45/44 20220101AFI20251127BHJP(電気通信技術)
要約
【課題】継続運転のための制御通信の実時間性を担保する。
【解決手段】分散制御システム01は、通信親局0101及び通信親局を最上流として通信親局に対して下流方向に接続される複数の通信子局0102を備え、通信親局及び通信子局の夫々は互いに通信線を介して直接的或いは間接的に接続し、複数の通信子局の夫々は通信を行うための複数の通信ポート0103を有し、複数の通信ポートは、通信ポートのステータス種別として通信可能な有効ポート及び接続のみで通信に用いられていない予備ポート01033を含み、複数の通信子局に含まれる第1通信子局における通信機能が停止した場合、第1通信子局の下流にある第2通信子局が第2通信子局の複数の通信ポートの少なくとも1つの通信ポートのステータスを変更し、該通信ポートから第1通信子局の通信機能が停止する前の通信経路を別の通信経路に変更するための通信経路通知を送信する。
【選択図】図3A
特許請求の範囲
【請求項1】
通信親局と、
前記通信親局を最上流として、前記通信親局に対して下流方向に接続される複数の通信子局と、を備え、
前記通信親局および前記通信子局のそれぞれは、互いに通信線を介して直接的あるいは間接的に接続し、
前記複数の通信子局のそれぞれは、通信を行うための複数の通信ポートを有し、
前記複数の通信ポートは、通信ポートのステータス種別として、通信可能な有効ポートと、接続のみで通信に用いられていない予備ポートと、を含み、
前記複数の通信子局に含まれる第1通信子局における通信機能が停止した場合、前記第1通信子局の下流にある第2通信子局は、
前記第2通信子局の前記複数の通信ポートの少なくとも1つの通信ポートのステータスを変更する処理と、
前記ステータスを変更した前記通信ポートから、前記第1通信子局の前記通信機能が停止する前の通信経路を別の通信経路に変更するための通信経路変更通知を送信する処理と、
を実行する、分散制御システム。
続きを表示(約 1,700 文字)
【請求項2】
請求項1において、
前記第2通信子局は、前記通信ポートのステータス変更の処理によって、前記第2通信子局の上流の通信子局となる第3通信子局がある場合には、当該第3通信子局を介して、通信経路変更通知を前記通信親局に送信する、分散制御システム。
【請求項3】
請求項2において、
前記第3通信子局は、前記第2通信子局から前記通信ポートのステータス変更の通知を受信した場合、前記第2通信子局と接続がなされた前記通信ポート以外の通信ポートのステータスを変更せずに維持する、分散制御システム。
【請求項4】
請求項2において、
前記第2通信子局は、前記第3通信子局と前記予備ポートを介して接続しており、
前記第2通信子局は、前記第3通信子局と接続する前記予備ポートを前記有効ポートにステータス変更する処理を実行する、分散制御システム。
【請求項5】
請求項1において、
前記有効ポートは、前記通信ポートのステータス種別として、上流の通信子局あるいは通信親局に接続する上流ポートと、下流の通信子局に接続する下流ポートと、を含み、
前記第2通信子局は、前記通信ポートのステータスを前記上流ポートに変更する際、自身の前記通信ポートのうち、前記予備ポートがある場合には、当該予備ポートを優先的に前記上流ポートに変更する、分散制御システム。
【請求項6】
請求項2において、
前記第1通信子局の下流にあり、前記第2通信子局とは異なる第4通信子局は、前記第1通信子局における前記通信機能が停止する前までは前記第4通信子局の下流にあった第5通信子局を上流にある通信子局として認識されるように、前記第4通信子局の前記通信ポートのステータスを変更する処理を実行する、分散制御システム。
【請求項7】
請求項6において、
前記有効ポートは、前記通信ポートのステータス種別として、上流の通信子局あるいは通信親局に接続する上流ポートと、下流の通信子局に接続する下流ポートと、を含み、
前記第4通信子局は、前記第5通信子局に対して、前記第4通信子局の前記下流ポートを前記上流ポートにステータス変更するための上流ポート変更通知を送信し、
前記第5通信子局は、前記上流ポート変更通知に応答して、前記第4通信子局に接続する前記上流ポートを前記下流ポートに変更し、自身の通信ポートのうち前記上流ポートに変更したことのない通信ポートを前記上流ポートにステータス変更する、分散制御システム。
【請求項8】
請求項6において、
前記第5通信子局は、前記第2通信子局と前記予備ポートを介して接続しており、
前記第5通信子局は、前記第2通信子局と接続する前記予備ポートを前記有効ポートにステータス変更する処理を実行することにより、前記通信親局から、前記第3通信子局、前記第2通信子局、および前記第5通信子局を介して前記第4通信子局までの通信経路が生成される、分散制御システム。
【請求項9】
請求項1において、
前記第2通信子局は、自身が送信した前記通信経路変更通知を自身で受信した場合、通信経路変更に失敗したと判断し、
前記第2通信子局、あるいは前記通信経路変更通知を受信した、前記第2通信子局以外の何れかの通信子局の少なくとも一方は、再度、自身の前記複数の通信ポートの少なくとも1つの通信ポートのステータスを変更する処理を実行する、分散制御システム。
【請求項10】
請求項1において、
前記第1通信子局は、外部から入力された通信機能停止指令に応答して、前記第1通信子局よりも下流にある前記通信子局に前記通信機能の停止の通知を送信し、前記第1通信子局よりも下流にある前記通信子局に前記第1通信子局の前記通信機能の停止を認識させる、分散制御システム。
(【請求項11】以降は省略されています)
発明の詳細な説明
【技術分野】
【0001】
本開示は、分散制御システムに関する。
続きを表示(約 2,500 文字)
【背景技術】
【0002】
現在、ネットワークを利用した各種通信制御技術が利用されている。この通信技術の一適用例として産業用装置が挙げられる。生化学・免疫分析装置等の産業用装置では、中央集中された複数の制御基板から装置に搭載するセンサやモータ等の制御デバイスへのアナログ伝送路を備える電子システムを使用するのが一般的である。近年では装置の設計・製造・保守の効率化のために、制御基板をモジュール化し分散配置することで、アナログ伝送路量の削減や装置の制御性能向上を図る分散制御システムの適用が行われている。こうした分散制御システムでは、装置ダウンタイム削減のため、装置の一部故障時あるいはメンテナンスによる停止時も制御通信を継続できるように複数の通信経路を備える冗長化したネットワークを用いることがある。冗長なネットワークでは、ネットワークに接続される基板間で複数の通信経路をとることが可能なため、適切な通信経路を生成しなければ、誤動作の原因となる。また、故障が発生した時に、残存している冗長経路を使用することで、停止箇所を迂回し通信を継続できる迂回経路の生成が必要である。
【0003】
これを解決する手段として、冗長なネットワークに故障が発生した時、通信親局がネットワークに行き渡るようにルーティングのための通信パケットを送信することで、通信経路の生成を行う技術が一般的に知られている。例えば、特許文献1は、通信親局がルーティングパケットを送信し、受信した通信子局が自身の通信ポートから転送していくことで、ネットワーク内の通信可能な通信線すべてにパケットが行き渡らせることを開示する。これにより、ルーティングパケットの通信線の経由回数から最適な通信経路を生成することができるとされている。
【先行技術文献】
【特許文献】
【0004】
特開2023-146599号公報
【発明の概要】
【発明が解決しようとする課題】
【0005】
しかしながら、特許文献1に記載の技術では、通信親局と未停止の通信子局全てが通信を行うため、通信経路の変更が不要な通信子局も通信経路生成を行う必要がある。そのため、稼働可能な部分だけでも継続運転が必要となるような装置の分散制御システムでは、通信親局と通信子局との制御通信と競合し、帯域圧迫によって制御通信の実時間性の担保が困難となる。
【0006】
本開示は、このような状況に鑑み、通信親局と複数の通信子局を含む分散制御システムにおいて、継続運転のための制御通信の実時間性を担保する技術を提案する。
【課題を解決するための手段】
【0007】
上記課題を解決するために、本開示は、一例として、通信親局と、通信親局を最上流として、通信親局に対して下流方向に接続される複数の通信子局と、を備え、
通信親局および通信子局のそれぞれは、互いに通信線を介して直接的あるいは間接的に接続し、複数の通信子局のそれぞれは、通信を行うための複数の通信ポートを有し、複数の通信ポートは、通信ポートのステータス種別として、通信可能な有効ポートと、接続のみで通信に用いられていない予備ポートと、を含み、
複数の通信子局に含まれる第1通信子局における通信機能が停止した場合、第1通信子局の下流にある第2通信子局は、
第2通信子局の複数の通信ポートの少なくとも1つの通信ポートのステータスを変更する処理と、
ステータスを変更した通信ポートから、第1通信子局の通信機能が停止する前の通信経路を別の通信経路に変更するための通信経路通知を送信する処理と、
を実行する、分散制御システムを提案する。
【0008】
本開示に関連する更なる特徴は、本明細書の記述、添付図面から明らかになるものである。また、本開示の態様は、要素及び多様な要素の組み合わせ及び以降の詳細な記述と添付される特許請求の範囲の様態により達成され実現される。
本明細書の記述は典型的な例示に過ぎず、本開示の特許請求の範囲又は適用例を如何なる意味においても限定するものではない。
【発明の効果】
【0009】
本開示の技術に、分散制御システムの通信子局の停止時に下流側の通信子局の通信のみで通信経路の生成が可能である。また、通信経路生成のための上流ポート変更通知の送受信は、通信親局と通信子局の制御通信の帯域を圧迫しないため、継続運転のための制御通信の実時間性を保つことが可能である。
【図面の簡単な説明】
【0010】
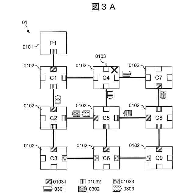
実施例1に係る分散制御システム01の構成例を示す図である。
各実施例において、通信子局0102が上流ポート01031を変更する過程を説明するためのフローチャートである。
実施例1において、通信子局0102のC4が停止(メンテナンスによる意図的な停止)後の状態を示す図である。
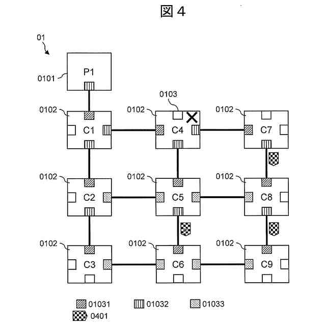
通信子局0102のC4が停止したときの各通信子局0102におけるポートのステータス変更を示す図である。
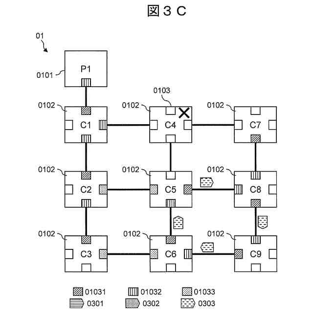
通信子局0102のC5が通信経路変更通知0303を送信し、当該通信経路変更通知0303を自身で受信する動作を説明するための図である。
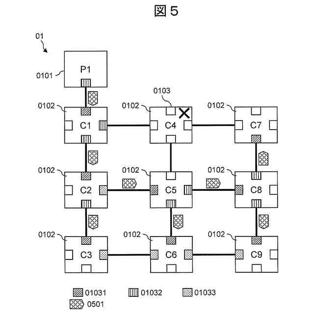
通信子局0102のC5が自身の送信した通信経路変更通知0303を受信したときに再度上流ポートの変更を開始する動作を説明するための図である。
実施例2による、分散制御システム01の各通信子局0102がウォッチドッグタイマを用いて通信親局0101との通信途絶が認識可能な構成を有するとき、通信子局0102のC4が故障により停止したときの状態を示す図である。
実施例2による、通信経路の変更を行った後の状態を示す図である。
実施例3による分散制御システム06の構成例を示す図である。
分散制御システム06において、通信子局0102のC4が停止した時のときの状態を示す図である。
【発明を実施するための形態】
(【0011】以降は省略されています)
この特許をJ-PlatPat(特許庁公式サイト)で参照する
関連特許
株式会社日立ハイテク
ガスセンサ
26日前
株式会社日立ハイテク
分散制御システム
4日前
株式会社日立ハイテク
ロボット教示装置
4日前
株式会社日立ハイテク
セキュリティ分析装置および方法
12日前
株式会社日立ハイテク
セキュリティ対策管理装置および方法
18日前
株式会社日立ハイテク
ステージ装置、それを備えた荷電粒子線装置
5日前
株式会社日立ハイテク
ステージ装置、荷電粒子線装置および真空装置
4日前
株式会社日立ハイテク
自動培養装置、それを複数用いた自動培養システム
18日前
株式会社日立ハイテク
分析装置
20日前
株式会社日立ハイテク
フリッカ値算出及び電源高調波解析装置、分析装置、フリッカ値算出及び電源高調波解析方法
1か月前
個人
イヤーピース
1か月前
個人
イヤーマフ
1か月前
個人
監視カメラシステム
1か月前
個人
スイッチシステム
1か月前
キーコム株式会社
光伝送線路
1か月前
個人
スキャン式車載用撮像装置
1か月前
サクサ株式会社
中継装置
2か月前
サクサ株式会社
中継装置
2か月前
WHISMR合同会社
収音装置
2か月前
アイホン株式会社
電気機器
2か月前
キヤノン株式会社
撮像装置
3か月前
キヤノン株式会社
撮像装置
10日前
キヤノン株式会社
撮像装置
3日前
キヤノン株式会社
撮像装置
3日前
キヤノン株式会社
撮像装置
3日前
株式会社リコー
画像形成装置
3か月前
株式会社リコー
画像形成装置
1か月前
キヤノン電子株式会社
画像読取装置
2か月前
キヤノン電子株式会社
画像読取装置
1か月前
株式会社リコー
画像形成装置
4か月前
個人
映像表示装置、及びARグラス
1か月前
サクサ株式会社
無線通信装置
2か月前
ヤマハ株式会社
放音制御装置
1か月前
サクサ株式会社
無線通信装置
2か月前
株式会社リコー
画像形成装置
3か月前
個人
ワイヤレスイヤホン対応耳掛け
2か月前
続きを見る
他の特許を見る