TOP
|
特許
|
意匠
|
商標
特許ウォッチ
Twitter
他の特許を見る
10個以上の画像は省略されています。
公開番号
2025176268
公報種別
公開特許公報(A)
公開日
2025-12-04
出願番号
2024082295
出願日
2024-05-21
発明の名称
ステージ装置、荷電粒子線装置および真空装置
出願人
株式会社日立ハイテク
代理人
弁理士法人平木国際特許事務所
主分類
H01J
37/20 20060101AFI20251127BHJP(基本的電気素子)
要約
【課題】Zモータの温度変動を抑制して高精度な位置決めが可能かつ漏れ磁場が小さいステージ装置、荷電粒子線装置および真空装置を提供する。
【解決手段】複数の磁石502の底面を可動ヨーク403で結合して磁気回路を形成し、複数のコイル501を可動ヨーク403と切り離して(分離して)排熱パス部材であるコイル固定部602に固定することで、浮上部の温度変動による熱変形を抑制するように構成されている。換言すれば、磁気浮上ステージの重力補償および鉛直方向の推力発生に用いるZ軸モータ506において、磁束の向きが鉛直方向かつ磁束の向きが異なる複数の磁石502の底面を覆う可動ヨーク403を設け、複数のコイル501を複数の磁石502と間隔をあけて可動ヨーク403と分離して配置する。
【選択図】図7
特許請求の範囲
【請求項1】
ベースと、前記ベース上で位置決めを行う対象物を支持するステージと、前記ステージを磁気で浮上させて位置決めするZ軸モータと、を備えたステージ装置であって、
前記Z軸モータは、前記ベースに設けられたガイドヨークと、前記ガイドヨークと鉛直方向で対向するように前記ステージに設けられた可動子と、を備え、
前記可動子は、
それぞれが前記ガイドヨークと鉛直方向で対向するように、水平方向で互いに間隔をあけて配置された複数の磁石であって、それぞれの磁束の向きが鉛直方向かつ互いに反対向きである複数の磁石と、
前記複数の磁石のそれぞれの前記ガイドヨーク側とは反対側の面を覆う可動ヨークと、
前記複数の磁石のそれぞれの前記ガイドヨーク側の面から鉛直方向で間隔をあけた位置で、水平方向で互いに間隔をあけて配置された複数のコイルと、を備え、
前記Z軸モータは、前記複数の磁石と前記ガイドヨークとの電磁気力により、前記可動子を前記ガイドヨークに対して鉛直方向で可動させることで前記ステージを磁気で浮上させることを特徴とするステージ装置。
続きを表示(約 720 文字)
【請求項2】
前記可動子は、前記ガイドヨークの下方において、鉛直方向上方から、前記複数のコイル、前記複数の磁石、前記可動ヨークの順に配置されていることを特徴とする請求項1に記載のステージ装置。
【請求項3】
前記可動ヨークは、前記複数の磁石のそれぞれの前記ガイドヨーク側とは反対側の面のみを覆うことを特徴とする請求項1に記載のステージ装置。
【請求項4】
前記複数のコイルは、前記可動ヨークよりも熱伝導率が高いコイル固定部に接続されるとともに、前記可動ヨークを介さずに前記コイル固定部を介して、前記複数のコイルからの発熱を排出する排熱部に接続されていることを特徴とする請求項1に記載のステージ装置。
【請求項5】
前記コイル固定部に前記可動ヨークが接続され、前記コイル固定部に接触することなく前記可動ヨークに前記複数の磁石が接続されていることを特徴とする請求項4に記載のステージ装置。
【請求項6】
前記複数の磁石および前記複数のコイルは、前記ステージの可動方向に並べて配置され、前記複数の磁石および前記複数のコイルが並ぶ方向と垂直な方向に前記排熱部が配置されていることを特徴とする請求項4に記載のステージ装置。
【請求項7】
前記Z軸モータの周辺に、前記可動子と前記ガイドヨークとの間隔を規定する少なくとも3つの位置基準ブロックが配置されていることを特徴とする請求項1に記載のステージ装置。
【請求項8】
請求項1に記載のステージ装置を有する荷電粒子線装置。
【請求項9】
請求項1に記載のステージ装置を有する真空装置。
発明の詳細な説明
【技術分野】
【0001】
本開示は、ステージ装置、荷電粒子線装置および真空装置に関する。
続きを表示(約 2,500 文字)
【背景技術】
【0002】
従来から半導体関連装置のためのデバイスステージおよびウエハを正確に位置決めして支持するための磁気浮上ステージに関する技術が知られている。特許文献1には、非接触にて基板の位置決めを行う磁気浮上ステージの構成が記載されている。この磁気浮上ステージ機構では、重力補償およびZ方向の位置制御のために、磁気吸引力で重力補償を、コイル電流による磁気吸引力の増減でZ方向の推力を制御するリラクタンスモータを用いている。特許文献1では、リラクタンスモータ近傍にギャップセンサを配置して、浮上量を制御することでZ方向の位置決めを行い、浮上部の非接触支持を実現している。
【先行技術文献】
【特許文献】
【0003】
特開2015-111714号公報
【発明の概要】
【発明が解決しようとする課題】
【0004】
たとえば、半導体ウエハの製造、測定、検査などの工程では、半導体ウエハの正確な位置決めを行うために、前記従来のステージ装置が用いられる。このようなステージ装置においては、半導体ウエハの高速かつ高精度な位置決め性能が求められている。しかしながら、特許文献1のような従来のリラクタンスモータをZモータ(以下、Z軸モータとも呼ぶ)として用いた磁気浮上ステージ装置では、浮上部に信号や電力を伝達するケーブルによるケーブル曲げ反力やリラクタンスモータの永久磁石の着磁ばらつき、ならびに、部品加工誤差起因のギャップ変動により、リラクタンスモータ内のコイル電流値が変動し、Zモータの発熱量が変動するため、浮上部の熱変形が発生して正確な位置決めが困難であるという課題がある。また、重力補償のための永久磁石からの漏洩磁場の問題から、たとえば走査型電子顕微鏡などの荷電粒子線装置への適用が困難である。
【0005】
本開示は、浮上部の温度変動による熱変形を抑制することにより、高精度な位置決めが可能かつ漏れ磁場が小さいステージ装置、荷電粒子線装置および真空装置を提供する。
【課題を解決するための手段】
【0006】
本開示の一態様は、ベースと、前記ベース上で位置決めを行う対象物を支持するステージと、前記ステージを磁気で浮上させて位置決めするZ軸モータと、を備えたステージ装置であって、前記Z軸モータは、前記ベースに設けられたガイドヨークと、前記ガイドヨークと鉛直方向で対向するように前記ステージに設けられた可動子と、を備え、前記可動子は、それぞれが前記ガイドヨークと鉛直方向で対向するように、水平方向で互いに間隔をあけて配置された複数の磁石であって、それぞれの磁束の向きが鉛直方向かつ互いに反対向きである複数の磁石と、前記複数の磁石のそれぞれの前記ガイドヨーク側とは反対側の面を覆う可動ヨークと、前記複数の磁石のそれぞれの前記ガイドヨーク側の面から鉛直方向で間隔をあけた位置で、水平方向で互いに間隔をあけて配置された複数のコイルと、を備え、前記Z軸モータは、前記複数の磁石と前記ガイドヨークとの電磁気力により、前記可動子を前記ガイドヨークに対して鉛直方向で可動させることで前記ステージを磁気で浮上させることを特徴とするステージ装置である。
【発明の効果】
【0007】
本開示の上記一態様によれば、浮上部の温度変動による熱変形を抑えて高精度な位置決めが可能かつ磁場の漏れおよび変動を抑制可能な位置決めが可能なステージ装置、荷電粒子線装置および真空装置を提供することができる。
【図面の簡単な説明】
【0008】
従来式の転がり案内を用いたステージ構造を示す斜視図である。
磁気浮上案内を用いたステージ構造を示す斜視図である。
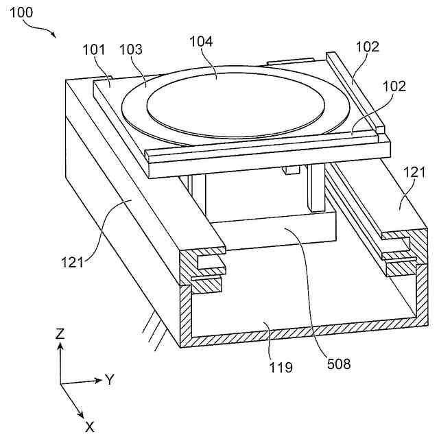
本開示の一実施形態に係るZモータを搭載した磁気浮上ステージの構成例を示す斜視図である。
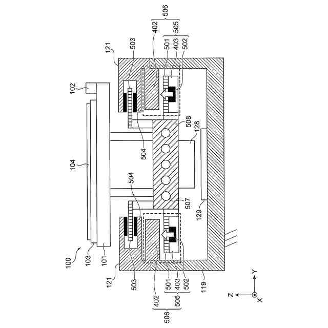
本開示の一実施形態に係るZモータを搭載した磁気浮上ステージのYZ平面での模式的な断面図である。
リラクタンスモータの動作原理を説明する図である。
従来式のリラクタンスモータの構成例を示す図である。
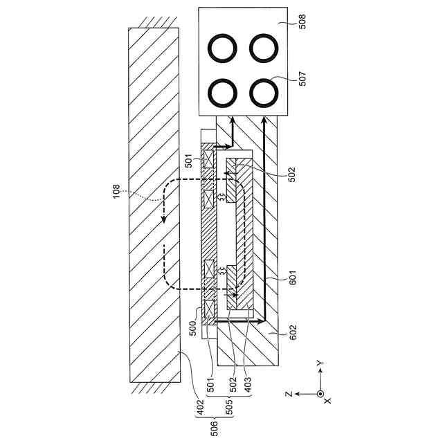
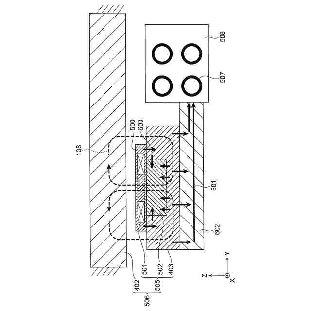
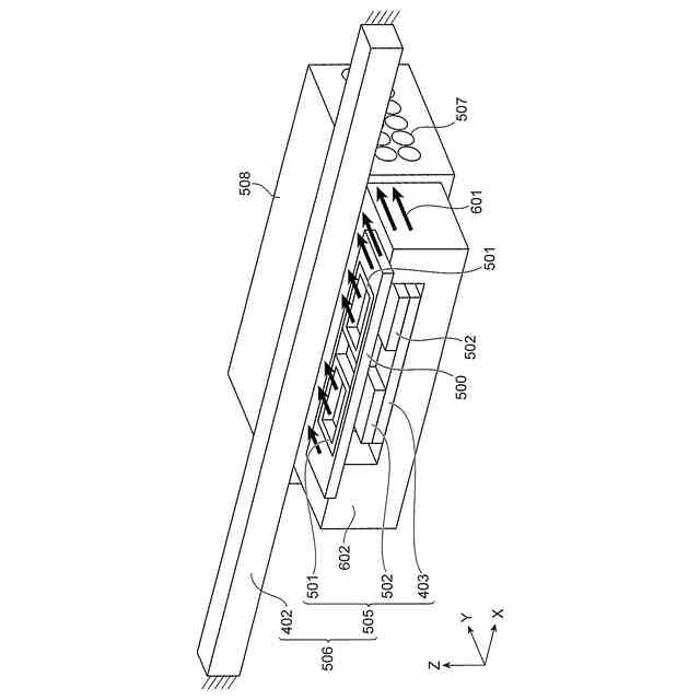
本開示の一実施形態に係るリラクタンスモータの構成例を示す図である。
本開示の一実施形態に係るリラクタンスモータの排熱構造の詳細を示す図である。
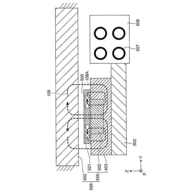
従来式のリラクタンスモータの磁場漏れを説明する図である。
本開示の一実施形態に係るリラクタンスモータの磁場漏れ低減効果を説明する図である。
本開示の一実施形態に係るリラクタンスモータに位置基準ブロックを搭載した構成図である。
上軸に磁気浮上案内を下軸に転がり案内を用いた本開示の他の実施形態に係る磁気浮上ステージの構成例を示す斜視図である。
上軸に磁気浮上案内を下軸に転がり案内を用いた本開示の他の実施形態に係る磁気浮上ステージのYZ平面での模式的な断面図である。
荷電粒子線装置および真空装置への適用例である半導体計測装置を示す図である。
【発明を実施するための形態】
【0009】
以下、図面を参照して本開示に係るステージ装置、荷電粒子線装置および真空装置の実施形態を説明する。以下の説明では、一軸方向(X方向)に数百mmのストロークを有するステージまたは二軸方向(X方向およびY方向)に数百mmのストロークを有するスタック型のステージについて述べる。
【0010】
図1は、従来式の転がり案内を用いたステージの構成を示す図である。図1は、転がり案内を用いたX軸方向に可動する単軸ステージの構成例である。このステージ構成では、ベース119の上をトップテーブル101がXガイド120により案内されてX軸方向に可動する。トップテーブル101上に設置された試料台103上に位置決めを行う対象物である試料104が搭載される。このステージ構成では、接触式の転がり案内を用いているため、フラットケーブルなどの配線130の曲げ反力は、ガイド剛性により支持される。
(【0011】以降は省略されています)
この特許をJ-PlatPat(特許庁公式サイト)で参照する
関連特許
株式会社日立ハイテク
ガスセンサ
25日前
株式会社日立ハイテク
真空処理装置
1か月前
株式会社日立ハイテク
半導体処理装置
1か月前
株式会社日立ハイテク
検体処理システム
1か月前
株式会社日立ハイテク
分散制御システム
3日前
株式会社日立ハイテク
ロボット教示装置
3日前
株式会社日立ハイテク
診断装置および診断方法
1か月前
株式会社日立ハイテク
セキュリティ分析装置および方法
11日前
株式会社日立ハイテク
セキュリティ対策管理装置および方法
17日前
株式会社日立ハイテク
ステージ装置、それを備えた荷電粒子線装置
4日前
株式会社日立ハイテク
ステージ装置、荷電粒子線装置および真空装置
3日前
株式会社日立ハイテク
自動培養装置、それを複数用いた自動培養システム
17日前
株式会社日立ハイテク
検体搬送装置、検体分析システム、及び検体前処理装置
1か月前
株式会社日立ハイテク
分析装置
19日前
株式会社日立ハイテク
ワークフロー管理装置、放射線治療装置及びワークフロー管理方法
1か月前
株式会社日立ハイテク
フリッカ値算出及び電源高調波解析装置、分析装置、フリッカ値算出及び電源高調波解析方法
1か月前
株式会社日立ハイテク
T細胞受容体(TCR)またはB細胞受容体(BCR)レパトアおよび遺伝子発現の同時解析を可能にするNGSライブラリ調製方法
1か月前
APB株式会社
蓄電セル
1か月前
東ソー株式会社
絶縁電線
1か月前
個人
フレキシブル電気化学素子
1か月前
日機装株式会社
加圧装置
2日前
株式会社東芝
端子台
1か月前
株式会社ユーシン
操作装置
1か月前
日新イオン機器株式会社
イオン源
1か月前
日新イオン機器株式会社
イオン源
2日前
ローム株式会社
半導体装置
1か月前
マクセル株式会社
電源装置
1か月前
株式会社GSユアサ
蓄電設備
1か月前
株式会社GSユアサ
蓄電装置
1か月前
株式会社GSユアサ
蓄電装置
1か月前
株式会社GSユアサ
蓄電設備
1か月前
株式会社ホロン
冷陰極電子源
1か月前
太陽誘電株式会社
コイル部品
1か月前
オムロン株式会社
電磁継電器
1か月前
株式会社GSユアサ
蓄電装置
1か月前
三菱電機株式会社
回路遮断器
25日前
続きを見る
他の特許を見る