TOP
|
特許
|
意匠
|
商標
特許ウォッチ
Twitter
他の特許を見る
10個以上の画像は省略されています。
公開番号
2025168958
公報種別
公開特許公報(A)
公開日
2025-11-12
出願番号
2024073857
出願日
2024-04-30
発明の名称
ガスセンサ
出願人
株式会社日立ハイテク
代理人
ポレール弁理士法人
主分類
G01N
27/12 20060101AFI20251105BHJP(測定;試験)
要約
【課題】ガス中に含まれる不純物の濃度を高感度に計測することができ、良好なリフレッシュ特性を有するガスセンサを提供する。
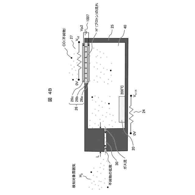
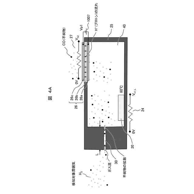
【解決手段】本発明によるガスセンサは、検知対象雰囲気に含まれる不純物の濃度を計測するガスセンサ素子と、内部にガスセンサ素子を備えるとともに、内部の空間と外部の空間とを接続するガス流路を備えるチャンバと、チャンバの壁面に設けられて、検知対象雰囲気に含まれる主成分のガスをチャンバの内部から外部または外部から内部へ選択的に透過させる電気化学ポンプと、ガスセンサ素子を加熱する第1のヒータと、電気化学ポンプを加熱する第2のヒータとを備える。電気化学ポンプは、チャンバの内部に位置する第1の電極と、チャンバの外部に位置する第2の電極と、第1の電極と第2の電極に接するイオン伝導体層を備え、第2の電極の電位を基準に第1の電極の電位を正または負とすることで、主成分のガスを選択的に透過させる。
【選択図】図4A
特許請求の範囲
【請求項1】
検知対象雰囲気に含まれる不純物の濃度を計測するガスセンサ素子と、
内部に前記ガスセンサ素子を備えるとともに、内部の空間と外部の空間とを接続するガス流路を備えるチャンバと、
前記チャンバの壁面に設けられており、前記検知対象雰囲気に含まれる主成分のガスを、前記チャンバの内部から外部へまたは前記チャンバの外部から内部へ選択的に透過させる電気化学ポンプと、
前記ガスセンサ素子を加熱して前記ガスセンサ素子の温度を制御する第1のヒータと、
前記電気化学ポンプを加熱して前記電気化学ポンプの温度を制御する第2のヒータと、
を備え、
前記電気化学ポンプは、
前記チャンバの内部に位置し、前記チャンバの内部の空間に露出する第1の電極と、
前記チャンバの外部に位置し、前記チャンバの外部の空間に露出する第2の電極と、
前記第1の電極と前記第2の電極の間に位置して前記第1の電極と前記第2の電極に接するイオン伝導体層と、
を備え、
前記第2の電極の電位を基準に前記第1の電極の電位を正電位または負電位とすることで、前記主成分のガスを選択的に透過させる、
ことを特徴とするガスセンサ。
続きを表示(約 930 文字)
【請求項2】
前記電気化学ポンプが、前記第2のヒータで加熱され、前記主成分のガスを前記チャンバの内部から外部へ透過させることで、前記チャンバの内部の前記不純物の濃度を高くすると、前記ガスセンサ素子は、前記第1のヒータで加熱されて前記不純物の濃度を計測し、
前記電気化学ポンプが、前記第2のヒータで加熱され、前記主成分のガスを前記チャンバの外部から内部へ透過させることで、前記チャンバの内部の前記不純物の濃度を低くすると、前記ガスセンサ素子は、前記第1のヒータで加熱されて前記ガスセンサ素子から前記不純物を除去するリフレッシュ動作を行う、
請求項1に記載のガスセンサ。
【請求項3】
前記ガスセンサ素子の温度を計測する温度計部を備え、
前記温度計部は、ダイオードを備える、
請求項1に記載のガスセンサ。
【請求項4】
前記チャンバは、金属または金属酸化物で構成されている、
請求項1に記載のガスセンサ。
【請求項5】
前記チャンバは、積層された絶縁膜で構成されている、
請求項1に記載のガスセンサ。
【請求項6】
前記ガスセンサ素子は、前記チャンバの内部の空間において、前記ガス流路でのガスの流れ方向で、前記ガス流路と前記電気化学ポンプの間に位置する、
請求項1に記載のガスセンサ。
【請求項7】
前記ガスセンサ素子は、シリコンまたは炭化ケイ素で構成された半導体基板を備える、
請求項1に記載のガスセンサ。
【請求項8】
前記ガスセンサ素子は、電界効果トランジスタで構成されたガスセンサ素子である、
請求項1に記載のガスセンサ。
【請求項9】
前記ガスセンサ素子は、MOSキャパシタまたはダイオードで構成されたガスセンサ素子である、
請求項1に記載のガスセンサ。
【請求項10】
前記ガス流路は、前記ガス流路を加熱して前記ガス流路の温度を制御する第3のヒータを備える、
請求項1に記載のガスセンサ。
(【請求項11】以降は省略されています)
発明の詳細な説明
【技術分野】
【0001】
本発明は、ガスセンサに関し、特に、ガス中に含まれる不純物成分の濃度を計測するガスセンサに関する。
続きを表示(約 1,400 文字)
【背景技術】
【0002】
脱炭素社会の実現に向けて、化石燃料の代わりに水素やカーボンニュートラルなバイオ燃料を用いて発電する技術が注目を集めている。水素を用いた発電デバイスには、固体高分子形燃料電池(PEFC)が知られている。PEFCは、燃料水素中に含まれる被毒性不純物により劣化するので、燃料水素中に含まれる不純物を検出する技術が必要である。
【0003】
特許文献1には、固体高分子形燃料電池を利用したセンサで水素中の不純物を計測する技術が開示されている。
【0004】
特許文献2には、ガスの測定に用いるセンサの例が開示されている。特許文献2は、雰囲気中の水素濃度に応じて素子のしきい値電圧が変化する現象を利用して水素濃度を計測するセンサ、例えば、電界効果型トランジスタ素子、静電容量素子、及びダイオード素子を用いた仕事関数型センサを開示している。
【0005】
特許文献3、4、5には、雰囲気中の特定の成分を検出する技術が開示されている。これらは、例えば車載用の排気ガスセンサの1つであるNOxセンサに用いられる技術を開示し、窒素酸化物(NOx)のセンシングに際して妨害ガスとなる一酸化炭素と炭化水素などを、雰囲気中の酸素と反応させて不活性化して妨害ガスではないようにするとともに、残った妨害ガスである酸素を除去し、この後にNOxをセンシングする方法を開示している。酸素の除去には、酸素イオン導電体であるジルコニアを用いた酸素イオンポンプが用いられている。NOxのセンシングには、特許文献3では酸素イオンポンプと類似する素子が用いられており、特許文献4、5では仕事関数型ガスセンサが用いられている。
【0006】
特許文献6には、特許文献1と同様の水素イオン、つまりプロトンの導電体を用いたデバイスについての技術が開示されている。但し、特許文献6に開示されたデバイスは、固体電解質層に含まれるプロトンの量に応じて屈折率が変化する現象を利用した光学デバイスであり、ガスセンサではない。
【先行技術文献】
【特許文献】
【0007】
特開2011-198729号公報
特開2018-72146号公報
特開平8-271476号公報
特開2018-173322号公報
特開2019-90743号公報
特表2020-524307号公報
【発明の概要】
【発明が解決しようとする課題】
【0008】
水素などのベースガス中に含まれる不純物成分の濃度を計測するセンサには、高感度の計測が要求される。センサが不純物により被毒すると、センサの素子が劣化し、高感度の計測が困難になる。このため、センサが不純物により被毒する場合には、必要に応じて、不純物によって被毒したセンサの素子から不純物を除去するリフレッシュ動作を行わなければならない。
【0009】
特許文献1から6に記載されている技術では、高感度な不純物の計測とリフレッシュ動作を両立させることが困難である。
【0010】
特許文献1に記載の技術では、被毒性不純物により劣化するPEFCをセンサに用いるので、不純物の種類によっては、計測後にセンサが劣化して回復しない恐れがある。特許文献2、6に記載の技術では、ガス中の不純物のセンシングを考慮していない。
(【0011】以降は省略されています)
この特許をJ-PlatPat(特許庁公式サイト)で参照する
関連特許
株式会社日立ハイテク
ガスセンサ
8日前
株式会社日立ハイテク
真空処理装置
27日前
株式会社日立ハイテク
半導体処理装置
27日前
株式会社日立ハイテク
検体処理システム
27日前
株式会社日立ハイテク
診断装置および診断方法
21日前
株式会社日立ハイテク
分子除去方法および分子除去装置
1か月前
株式会社日立ハイテク
セキュリティ対策管理装置および方法
今日
株式会社日立ハイテク
監視装置、情報処理装置が実行する監視方法
1か月前
株式会社日立ハイテク
画像処理装置、画像処理システムおよび方法
1か月前
株式会社日立ハイテク
自動培養装置、それを複数用いた自動培養システム
今日
株式会社日立ハイテク
検体搬送装置、検体分析システム、及び検体前処理装置
27日前
株式会社日立ハイテク
分析装置
2日前
株式会社日立ハイテク
ワークフロー管理装置、放射線治療装置及びワークフロー管理方法
1か月前
株式会社日立ハイテク
半導体パターン評価方法、半導体製造プロセス管理システム、半導体パターン評価システム
1か月前
株式会社日立ハイテク
フリッカ値算出及び電源高調波解析装置、分析装置、フリッカ値算出及び電源高調波解析方法
16日前
株式会社日立ハイテク
画像処理装置、画像収録装置、画像再生装置、画像処理方法、画像収録方法および画像再生方法
1か月前
株式会社日立ハイテク
T細胞受容体(TCR)またはB細胞受容体(BCR)レパトアおよび遺伝子発現の同時解析を可能にするNGSライブラリ調製方法
27日前
個人
メジャー文具
1か月前
個人
採尿及び採便具
21日前
日本精機株式会社
検出装置
15日前
個人
高精度同時多点測定装置
1か月前
個人
計量機能付き容器
10日前
個人
アクセサリー型テスター
1か月前
株式会社カクマル
境界杭
今日
株式会社ミツトヨ
測定器
27日前
ユニパルス株式会社
ロードセル
1か月前
甲神電機株式会社
電流検出装置
15日前
アズビル株式会社
電磁流量計
1か月前
ダイキン工業株式会社
監視装置
1か月前
株式会社ヨコオ
ソケット
1か月前
トヨタ自動車株式会社
監視装置
1か月前
株式会社ヨコオ
ソケット
1か月前
大成建設株式会社
風洞実験装置
10日前
株式会社チノー
放射光測温装置
1か月前
個人
計量具及び計量機能付き容器
10日前
TDK株式会社
磁気センサ
1か月前
続きを見る
他の特許を見る