TOP
|
特許
|
意匠
|
商標
特許ウォッチ
Twitter
他の特許を見る
10個以上の画像は省略されています。
公開番号
2025164974
公報種別
公開特許公報(A)
公開日
2025-11-04
出願番号
2024068769
出願日
2024-04-22
発明の名称
フリッカ値算出及び電源高調波解析装置、分析装置、フリッカ値算出及び電源高調波解析方法
出願人
株式会社日立ハイテク
代理人
ポレール弁理士法人
主分類
G01R
29/00 20060101AFI20251027BHJP(測定;試験)
要約
【課題】商用電源に接続された状態で必要な規格に準拠したフリッカ値・電源高調波解析結果を推定することが可能なフリッカ値算出及び電源高調波解析装置を提供する。
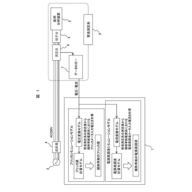
【解決手段】プロセッサは、測定電圧とその測定波形をメモリに格納し、メモリに格納された測定電圧とその測定波形から所定の時間軸範囲の電圧・電流波形を抽出し、抽出した電圧・電流波形から所定の規格に準拠した電源に接続した場合の電圧電流波形に変換する規格準拠電源高調波計算用電流変換を行い、変換した電流波形から電源高調波電流を解析し、抽出した電圧・電流波形から所定の規格に準拠した電源とリファレンスインピーダンスネットワークに接続した場合の電圧電流波形に変換する規格準拠フリッカ値計算用電圧変換を行い、変換した電圧波形からフリッカ値を算出し、電源高調波解析の結果と算出したフリッカ値の結果を出力インターフェイスに出力することを特徴とする。
【選択図】図1
特許請求の範囲
【請求項1】
測定電圧及び測定電流、測定パラメータを受信する入力インターフェイスと、
演算処理内容及び規格パラメータを含むプログラムを格納する記憶装置と、
演算処理を行うプロセッサと、
フリッカ試験結果及び高調波電流試験結果を出力する出力インターフェイスと、
を備えるフリッカ値算出及び電源高調波解析装置であって、
前記プロセッサは、前記測定電圧とその測定波形をメモリに格納し、
前記メモリに格納された前記測定電圧とその測定波形から所定の時間軸範囲の電圧・電流波形を抽出し、
前記抽出した電圧・電流波形から所定の規格に準拠した電源に接続した場合の電圧電流波形に変換する規格準拠電源高調波計算用電流変換を行い、
前記変換した電流波形から電源高調波電流を解析し、
前記抽出した電圧・電流波形から前記所定の規格に準拠した電源とリファレンスインピーダンスネットワークに接続した場合の電圧電流波形に変換する規格準拠フリッカ値計算用電圧変換を行い、
前記変換した電圧波形からフリッカ値を算出し、
前記電源高調波解析の結果と前記算出したフリッカ値の結果を前記出力インターフェイスに出力することを特徴とするフリッカ値算出及び電源高調波解析装置。
続きを表示(約 940 文字)
【請求項2】
電源受け入れ部と、
分析装置用出力インターフェイスと、
請求項1に記載のフリッカ値算出及び電源高調波解析装置と、
分析部と、
を備える分析装置であって、
前記フリッカ値算出及び電源高調波解析装置は、前記電源受け入れ部から前記分析部に供給される電源の電流及び電圧を取得し、
前記フリッカ値算出及び電源高調波解析装置の解析結果を前記分析装置用出力インターフェイスに出力することを特徴とする分析装置。
【請求項3】
請求項2に記載の分析装置であって、
前記分析部は、少なくとも負荷と前記負荷を制御する負荷制御部とを含み、
前記フリッカ値算出及び電源高調波解析装置の解析結果を前記分析装置用出力インターフェイスと前記負荷制御部とに出力するとともに、
前記フリッカ値算出及び電源高調波解析装置の解析結果に基づいて、前記負荷制御部による制御を変更することを特徴とする分析装置。
【請求項4】
以下のステップを含む電子機器のフリッカ値算出及び電源高調波解析方法:
(a)電源から電子機器へ供給される電力の電圧及び電流を測定し、測定した電圧及び電流とそれらの測定波形をメモリに格納するステップ、
(b)前記メモリに格納された前記測定電圧とその測定波形から所定の時間軸範囲の電圧・電流波形を抽出するステップ、
(c)前記(b)ステップで抽出した電圧・電流波形から所定の規格に準拠した電源に接続した場合の電圧電流波形に変換するステップ、
(d)前記(c)ステップで変換した電流波形から電源高調波電流を解析するステップ、
(e)前記(b)ステップで抽出した電圧・電流波形から所定の規格に準拠した電源とリファレンスインピーダンスネットワークに接続した場合の電圧電流波形に変換するステップ、
(f)前記(e)ステップで変換した電圧波形からフリッカ値を算出するステップ、
(g)前記(d)ステップで解析した電源高調波解析の結果と、前記(f)ステップで算出したフリッカ値の結果を出力インターフェイスに出力するステップ。
発明の詳細な説明
【技術分野】
【0001】
本発明は、電子機器のフリッカ値算出及び電源高調波解析を行う検査装置の構成とその検査方法に係り、特に、大型の医用分析装置に適用して有効な技術に関する。
続きを表示(約 870 文字)
【背景技術】
【0002】
医用分析装置などの大型装置は、国際規格に基づくフリッカ・電源高調波規制試験に合格する必要がある。
【0003】
電源や配電網は多少なりともインピーダンスを持っており、その先に接続される負荷が消費する電流が変動すると、それに応じて電源電圧も変化するため、規格によって電圧変動(フリッカ)の規制がなされている。
【0004】
また、電源電流には、正弦波とは異なる歪み成分(高調波成分)を含むことが多く、この高調波成分が、他の機器の誤動作や、配電網上の変圧器・コンデンサの過熱や焼損などの原因となることがあり、この抑制も求められている。
【0005】
本技術分野の背景技術として、例えば、特許文献1のような技術がある。特許文献1には、「変動負荷による共振などが発生しても、フリッカの抑制が安定して継続できるフリッカ抑制装置及びフリッカ抑制方法」が開示されている。
【先行技術文献】
【特許文献】
【0006】
特開2007-282365号公報
【発明の概要】
【発明が解決しようとする課題】
【0007】
上述したフリッカ・電源高調波規制試験では、安定化電源やRIN(Reference Impedance Network)、フリッカメータなどの専用設備が必要となる。
【0008】
しかしながら、検査対象となる医用分析装置、及び試験に必要な安定化電源やRIN、フリッカメータは、いずれも比較的大型の装置であるため、移動が容易ではなく、開発中の試験実施が困難である。
【0009】
一方、開発後に試験を行う場合、試験不合格により設計段階への手戻りが発生する可能性があるため、コスト増加及び開発遅延が生じる課題がある。
【0010】
上記特許文献1では、このような課題については考慮されておらず、改善の余地がある。
(【0011】以降は省略されています)
この特許をJ-PlatPat(特許庁公式サイト)で参照する
関連特許
株式会社日立ハイテク
ガスセンサ
25日前
株式会社日立ハイテク
真空処理装置
1か月前
株式会社日立ハイテク
半導体処理装置
1か月前
株式会社日立ハイテク
分散制御システム
3日前
株式会社日立ハイテク
ロボット教示装置
3日前
株式会社日立ハイテク
検体処理システム
1か月前
株式会社日立ハイテク
診断装置および診断方法
1か月前
株式会社日立ハイテク
セキュリティ分析装置および方法
11日前
株式会社日立ハイテク
分子除去方法および分子除去装置
1か月前
株式会社日立ハイテク
セキュリティ対策管理装置および方法
17日前
株式会社日立ハイテク
ステージ装置、それを備えた荷電粒子線装置
4日前
株式会社日立ハイテク
監視装置、情報処理装置が実行する監視方法
1か月前
株式会社日立ハイテク
画像処理装置、画像処理システムおよび方法
1か月前
株式会社日立ハイテク
ステージ装置、荷電粒子線装置および真空装置
3日前
株式会社日立ハイテク
自動培養装置、それを複数用いた自動培養システム
17日前
株式会社日立ハイテク
検体搬送装置、検体分析システム、及び検体前処理装置
1か月前
株式会社日立ハイテク
分析装置
19日前
株式会社日立ハイテク
ワークフロー管理装置、放射線治療装置及びワークフロー管理方法
1か月前
株式会社日立ハイテク
半導体パターン評価方法、半導体製造プロセス管理システム、半導体パターン評価システム
1か月前
株式会社日立ハイテク
フリッカ値算出及び電源高調波解析装置、分析装置、フリッカ値算出及び電源高調波解析方法
1か月前
株式会社日立ハイテク
T細胞受容体(TCR)またはB細胞受容体(BCR)レパトアおよび遺伝子発現の同時解析を可能にするNGSライブラリ調製方法
1か月前
個人
視触覚センサ
2日前
個人
採尿及び採便具
1か月前
日本精機株式会社
検出装置
1か月前
個人
計量機能付き容器
27日前
個人
アクセサリー型テスター
1か月前
個人
高精度同時多点測定装置
1か月前
日本精機株式会社
発光表示装置
10日前
株式会社ミツトヨ
測定器
1か月前
株式会社カクマル
境界杭
17日前
甲神電機株式会社
電流検出装置
1か月前
ユニパルス株式会社
トルク変換器
2日前
ユニパルス株式会社
トルク変換器
2日前
ユニパルス株式会社
トルク変換器
2日前
株式会社トプコン
測量装置
9日前
アズビル株式会社
電磁流量計
1か月前
続きを見る
他の特許を見る