TOP
|
特許
|
意匠
|
商標
特許ウォッチ
Twitter
他の特許を見る
10個以上の画像は省略されています。
公開番号
2025152596
公報種別
公開特許公報(A)
公開日
2025-10-10
出願番号
2024054564
出願日
2024-03-28
発明の名称
画像処理装置、画像処理システムおよび方法
出願人
株式会社日立ハイテク
代理人
弁理士法人ウィルフォート国際特許事務所
主分類
G06T
7/60 20170101AFI20251002BHJP(計算;計数)
要約
【課題】集合物体の集合形態を推定し、その集合形態に基づいて集合物体の定量値を推定できるようにした画像処理装置および方法を提供すること。
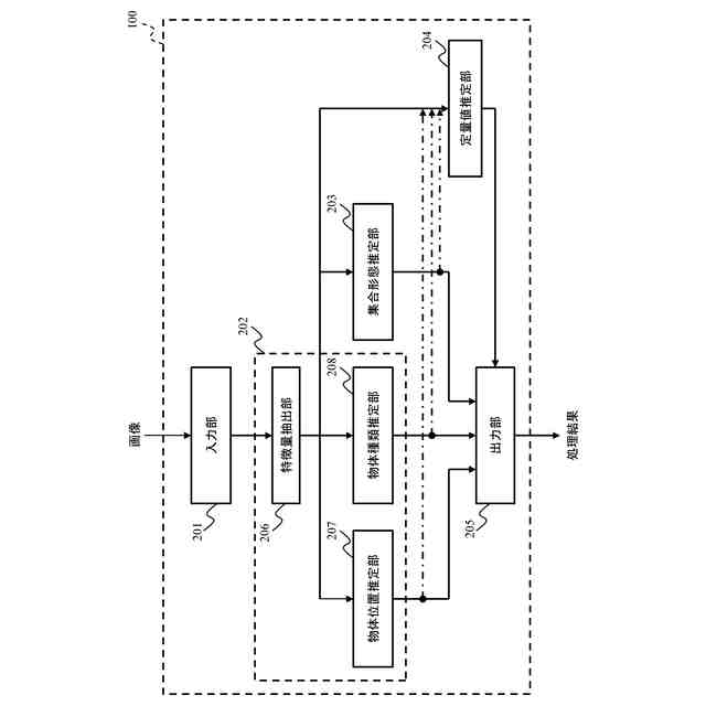
【解決手段】画像中の集合物体の定量値を推定する画像処理装置100であって、入力画像を受け付ける入力部201と、入力画像中の集合物体を検出する集合物体検出部202と、検出された集合物体の集合形態を推定する集合形態推定部203と、検出された集合物体の定量値を前記推定された集合形態に基づいて推定する定量値推定部204と、を備える。
【選択図】図2
特許請求の範囲
【請求項1】
画像中の集合物体の定量値を推定する画像処理装置であって、
入力画像を受け付ける入力部と、
前記入力画像中の集合物体を検出する集合物体検出部と、
前記検出された集合物体の集合形態を推定する集合形態推定部と、
前記検出された集合物体の定量値を前記推定された集合形態に基づいて推定する定量値推定部と、
を備える画像処理装置。
続きを表示(約 1,500 文字)
【請求項2】
請求項1に記載の画像処理装置であって、
前記集合物体検出部は、
前記入力画像の特徴量を抽出する特徴量抽出部と、
前記抽出された特徴量を用いて、前記集合物体の位置及びサイズを推定する集合物体位置推定部と、
前記抽出された特徴量を用いて、前記集合物体の種類を推定する集合物体種類推定部と、
を備える画像処理装置。
【請求項3】
請求項2に記載の画像処理装置であって、
前記集合形態推定部は、前記抽出された特徴量を用いて、前記集合物体の集合形態を推定する
画像処理装置。
【請求項4】
請求項2に記載の画像処理装置であって、
前記定量値推定部は、前記抽出された特徴量を用いて、前記集合物体の定量値を推定する
画像処理装置。
【請求項5】
請求項2に記載の画像処理装置であって、
前記定量値推定部は、前記抽出された特徴量に加えて、
前記推定された集合物体の位置及びサイズと、前記推定された集合物体の種類と、前記推定された集合物体の集合形態とのうち、いずれか一つまたは複数を用いて、
前記集合物体の定量値を推定する
画像処理装置。
【請求項6】
請求項1に記載の画像処理装置であって、
前記定量値推定部は、
前記入力画像中の集合物体を構成する要素の数を、前記集合物体の定量値として推定する
画像処理装置。
【請求項7】
請求項1に記載の画像処理装置であって、
画像に、画像中の集合物体の位置及びサイズと、集合物体の種類と、集合形態と、定量値と、を付与した情報によって機械学習されたモデルを用いる
画像処理装置。
【請求項8】
請求項1に記載の画像処理装置であって、
前記定量値推定部により推定された前記集合物体の定量値を出力する出力部をさらに備える
画像処理装置。
【請求項9】
画像中の集合物体の定量値を計算機により推定させる画像処理方法であって、
前記計算機は、
入力画像を受け付ける入力ステップと、
前記入力画像より特徴量を抽出する特徴量抽出ステップと、
前記特徴量抽出ステップが出力する特徴量を用いて、前記入力画像中の集合物体の位置及びサイズを推定する物体位置推定ステップと、
前記特徴量抽出ステップが出力する特徴量を用いて、前記入力画像中の集合物体の種類を推定する物体種類推定ステップと、
前記特徴量抽出ステップが出力する特徴量を用いて、前記入力画像中の集合物体の集合形態を推定する集合形態推定ステップと、
前記特徴量抽出ステップが出力する特徴量を用いて、前記入力画像中の集合物体の定量値を推定する定量値推定ステップと、
を実行する画像処理方法。
【請求項10】
請求項9に記載の画像処理方法であって、
前記定量値推定ステップは、前記特徴量抽出ステップが出力する特徴量と併せ、
前記物体位置推定ステップの出力する集合物体の位置及びサイズと、
前記物体種類推定ステップの出力する集合物体の種類と、
前記集合形態推定ステップの出力する集合物体の集合形態のいずれか、または複数を用いて、前記入力画像中の集合物体の定量値を推定する
画像処理方法。
(【請求項11】以降は省略されています)
発明の詳細な説明
【技術分野】
【0001】
本発明は、画像処理装置、画像処理システムおよび方法に関する。
続きを表示(約 2,500 文字)
【背景技術】
【0002】
検査や検品、モニタリング等を目的として、カメラや顕微鏡で撮像された画像の解析が多くの分野において行われている。また常套の解析として、画像中より対象の物体を検出する処理が存在する。画像中より対象の物体を検出する解析においては、単に物体を検出する処理にとどまらず、検出された物体について追加の情報の推定が求められる場面がある。例えば、定量的な分析を可能にする数値情報の推定が求められる場面は多く、そのため、画像から高精度に数値情報を推定する技術が求められている。
【0003】
画像内の物体を検出し、さらに検出された画像に関する数値情報の算出が求められる例として、例えば、人流解析等を目的とした画像中の人物数の推定が挙げられる。人物数の推定には、例えば、背景差分や機械学習モデルを用いて人物を検出し、その検出された人物を数えるという手法が知られている。ただし検出された人物を数える手法では、画像中で人物が密集している場合等に、その人物数を正確に計数することが困難である。そこで、画像中から人物数を推定する際に、その精度を向上させるため、特許文献1に記載の技術が提案されている。この特許文献1には、「誤った検出結果を除いた人体サイズに合わせて学習モデルを適用し、学習モデルの適用設定の不正確さによる結果の不正確さをなくすことで、学習モデルによる人数推定結果の精度を向上させる」との記載がある。
【0004】
ところで、画像内から検出される物体が、特定の要素の寄り集まった集合物体である場合、当該集合物体を構成する要素に関する数値情報の推定が求められる場合がある。例えば、画像中より検出される集合物体について、その構成要素数の推定が求められる場合が挙げられる。このような場合を想定して、特許文献2に記載の技術がある。特許文献2には、「ぶどう粒の検出とぶどう房の検出を行い、ぶどう房の位置及びぶどう房の大きさに基づき、検出されたぶどう房から作業中のぶどう房を特定した上で、作業中のぶどう房に属する粒を決定する」という記載がある。
【先行技術文献】
【特許文献】
【0005】
特開2023-163079
特開2021-189718
【発明の概要】
【発明が解決しようとする課題】
【0006】
特許文献1に記載の技術は、学習済みの機械学習モデルを用いることで、画像中の人物数の推定精度向上を図る。検出された人物を数えるのではなく、画像について人物数を回帰することで、密集した人物の数も推定可能になると考えられる。しかし、特許文献1の技術では、人物のサイズや形状の差異によっては、一様な機械学習モデルで正確な人物数を推定するのは困難であると想定される。そこで特許文献1では、人物のサイズに応じて画像を分割し、分割後の画像に対する相対的な人物のサイズを一定に近づけることで、人物数の推定精度を向上させている。しかし、画像中で人物が密集している場合には、密集の中にある個人のサイズは考慮されず、当該集団やその中の個人を分断するかたちで画像が分割されかねない。分割された部分画像から、見切れた集団や人物の数を正確に推定することは難しい。そのため特許文献1は、画像中で人物が多々密集しうる場合や、または人物以外でも寄り集まった形態をとりうる物体を対象とする場合には適していない。
【0007】
特許文献2に記載の技術は、ぶどうの房と粒をそれぞれ検出することで、画像中の各ぶどう房について粒数を推定する。しかし、ぶどうのような集合物体については、密集することで粒形状が変形してしまったり、画像上で粒同士の境界が不明瞭になってしまったりする場合が想定される。これらの理由でぶどう粒の検出精度が低くなると、各ぶどう房についての粒数の推定精度も低下する。さらに、特許文献2では、形状の一様なぶどうを検出及び計数の対象としているが、実際には、ぶどう形状を決定する粒の集合形態は一様でなく、その集合形態に応じて品種や生育状態を判別することが求められ得る。さらに、粒の形状や色によって品種等が分類されるべき場面も想定されるため、実際には、複数の種類や多様な集合形態により分類されることが望ましい。さらに、粒数といった定量値としての数値情報を、個々の粒の検出に依らず高精度に算出する手法が必要である。これらの課題は、ぶどうに限らず多くの集合物体においても存在する。
【0008】
複数の種類、多様な集合形態をとりうる集合物体の例として、河川の水質調査等で観察対象とされる藍藻が挙げられる。藍藻は、要素である細胞の形状などによって多くの種類に分類される。藍藻は、球状や鎖状、シート状などの様々な集合形態によっても分類が可能な微生物である。これら藍藻を撮影した顕微鏡画像等の解析においては、藍藻を種類や集合形態によって区別しつつ検出し、検出された各藍藻について定量的な解析を可能とする数値情報を推定することが有益である。
【0009】
しかし特許文献1,2は、藍藻の集合形態を考慮しないため、藍藻内で密集した細胞を個々に精度よく検出することは難しい。さらに、前述する特許文献1,2に記載の技術で推定可能な数値情報は、集合物体の要素数、すなわち藍藻中の細胞数に限られる。物体種類や集合形態が異なる場合、すなわち対象の集合物体のサイズや形状等の視覚的特徴が異なる場合には、機械学習モデルのような一様な手法では、それぞれの場合に特化した手法と比較して、高精度な数値情報推定が困難になるという課題も存在する。
【0010】
そこで本発明は、集合物体の集合形態を推定し、その集合形態に基づいて集合物体の定量値を推定できるようにした画像処理装置、画像処理システムおよび方法を提供することを目的とする。
【課題を解決するための手段】
(【0011】以降は省略されています)
この特許をJ-PlatPat(特許庁公式サイト)で参照する
関連特許
株式会社日立ハイテク
ガスセンサ
26日前
株式会社日立ハイテク
分散制御システム
4日前
株式会社日立ハイテク
ロボット教示装置
4日前
株式会社日立ハイテク
診断装置および診断方法
1か月前
株式会社日立ハイテク
セキュリティ分析装置および方法
12日前
株式会社日立ハイテク
セキュリティ対策管理装置および方法
18日前
株式会社日立ハイテク
ステージ装置、それを備えた荷電粒子線装置
5日前
株式会社日立ハイテク
ステージ装置、荷電粒子線装置および真空装置
4日前
株式会社日立ハイテク
自動培養装置、それを複数用いた自動培養システム
18日前
株式会社日立ハイテク
分析装置
20日前
株式会社日立ハイテク
フリッカ値算出及び電源高調波解析装置、分析装置、フリッカ値算出及び電源高調波解析方法
1か月前
個人
詐欺保険
1か月前
個人
縁伊達ポイン
1か月前
個人
RFタグシート
1か月前
個人
5掛けポイント
1か月前
個人
職業自動販売機
24日前
個人
QRコードの彩色
1か月前
個人
ペルソナ認証方式
1か月前
個人
地球保全システム
2か月前
個人
自動調理装置
1か月前
個人
情報処理装置
1か月前
個人
立体グラフの利用方法
3日前
個人
農作物用途分配システム
1か月前
個人
残土処理システム
2か月前
NISSHA株式会社
入力装置
4日前
個人
知的財産出願支援システム
2か月前
個人
サービス情報提供システム
26日前
個人
タッチパネル操作指代替具
1か月前
個人
インターネットの利用構造
1か月前
個人
学習用データ生成装置
5日前
個人
携帯端末障害問合せシステム
1か月前
個人
スケジュール調整プログラム
1か月前
株式会社キーエンス
受発注システム
2か月前
個人
エリアガイドナビAIシステム
1か月前
個人
海外支援型農作物活用システム
2か月前
株式会社キーエンス
受発注システム
2か月前
続きを見る
他の特許を見る