TOP
|
特許
|
意匠
|
商標
特許ウォッチ
Twitter
他の特許を見る
10個以上の画像は省略されています。
公開番号
2025171355
公報種別
公開特許公報(A)
公開日
2025-11-20
出願番号
2024076595
出願日
2024-05-09
発明の名称
自動培養装置、それを複数用いた自動培養システム
出願人
株式会社日立ハイテク
代理人
ポレール弁理士法人
主分類
C12M
3/00 20060101AFI20251113BHJP(生化学;ビール;酒精;ぶどう酒;酢;微生物学;酵素学;突然変異または遺伝子工学)
要約
【課題】
上扉を開けた状態で流路等を見ながら、操作部を操作可能、流路での実際の動作や表示部の表示を確認可能であり、使い勝手の良い自動培養装置、及びそれを複数用いた自動培養システムを提供すること。
【解決手段】
少なくとも1つの細胞培養容器を収容可能なインキュベータと、細胞培養に必要な気液を細胞培養容器に供給する流路ユニットと、を備えた自動培養装置であって、
インキュベータと流路ユニットは横に並べて配置されており、インキュベータと流路ユニットの両方の前面を覆うことが可能な前面扉を有し、前面扉は上下に分割された構造となっており、上側の前面扉は上方に持ち上げることが可能で、かつ自動培養装置の状態を表示可能な表示部及び/または自動培養装置を操作可能な操作部を備え、
下側の前面扉は下方に引き下ろすことが可能である。また、上記自動培養装置を複数備えた自動培養システム。
【選択図】図6
特許請求の範囲
【請求項1】
少なくとも1つの細胞培養容器を収容可能なインキュベータと、
細胞培養に必要な気液を前記細胞培養容器に供給する流路ユニットと、
を備えた自動培養装置であって、
前記インキュベータと前記流路ユニットは横に並べて配置されており、該インキュベータと該流路ユニットの両方の前面の略全面を覆うことが可能な前面扉を有し、
前記前面扉は上下に分割された構造となっており、上側の該前面扉は上方に持ち上げることで開くことができ、かつ前記自動培養装置の状態を表示可能な表示部及び/または前記自動培養装置を操作可能な操作部を備え、
下側の前記前面扉は下方に引き下ろすことで開くことができる、
ことを特徴とする自動培養装置。
続きを表示(約 1,100 文字)
【請求項2】
請求項1記載の自動培養装置において、
前記下側の前面扉の内面は物品を置くことができるトレイとなっている、
ことを特徴とする自動培養装置。
【請求項3】
請求項1記載の自動培養装置において、
前記自動培養装置は上下に積載した状態で該自動培養装置のそれぞれで細胞培養が可能であり、
第1の自動培養装置の前記前面扉の上側の扉を開いた場合であっても、該第1の自動培養装置の前記前面扉の上側の扉が、該第1の自動培養装置の上に積載した第2の自動培養装置の前記前面扉の下側の扉の開閉に干渉しない構造となっている、
ことを特徴とする自動培養装置。
【請求項4】
請求項1記載の自動培養装置において、
前記前面扉の上側の扉を最大まで開いた状態で、前記自動培養装置を正面視した場合、前記上側の扉の最下端が前記流路ユニットに重ならない構造となっている、
ことを特徴とする自動培養装置。
【請求項5】
請求項1記載の自動培養装置において、
前記前面扉の下側の扉を閉じた状態で、前記自動培養装置を正面視した場合、該下側の扉の上端部は前記流路ユニット内に設置された容器ボトルの高さの8~10割の位置である、
ことを特徴とする自動培養装置。
【請求項6】
請求項1記載の自動培養装置において、
前記流路ユニットの前記インキュベータとは反対側の側面を覆う筐体の一部が着脱可能な構造となっている、
ことを特徴とする自動培養装置。
【請求項7】
請求項6記載の自動培養装置において、
前記着脱可能な筐体の面の一部に、前記自動培養装置内から配管を該自動培養装置外に引き出すための穴部を有する、
ことを特徴とする自動培養装置。
【請求項8】
請求項1記載の自動培養装置において、
前記インキュベータには、前記前面扉の該インキュベータ側の内側に横開きの扉を備えた、
ことを特徴とする自動培養装置。
【請求項9】
請求項1記載の自動培養装置において、
前記前面扉の上側の扉の一部に、前記流路ユニットを該上側の扉の外側から観察可能な窓部を備えた、
ことを特徴とする自動培養装置。
【請求項10】
請求項9記載の自動培養装置において、
前記窓部の大きさと形状は、前記表示部の大きさ、形状と略同一である、
ことを特徴とする自動培養装置。
(【請求項11】以降は省略されています)
発明の詳細な説明
【技術分野】
【0001】
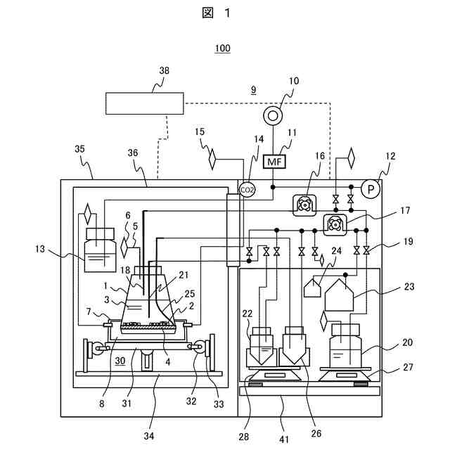
本発明は、細胞又は組織を培養する自動培養装置、それを複数用いた自動培養システムに関する。
続きを表示(約 1,600 文字)
【背景技術】
【0002】
再生したヒトの細胞ならびに遺伝子導入により機能を改変した細胞等を用いた医療は、これまで根治が困難であった疾患を克服できるため、その普及への期待が高まっている。
【0003】
治療対象は癌が最も多く、続いて各種臓器の疾患が続く。患者自身の細胞を用いる自家移植は拒絶反応の可能性が低く、患者QOL(quality of life)向上の観点からニーズが高いことが理由であると考えられる。
【0004】
細胞治療の対象となる細胞種は免疫細胞が最も多く、全体の4割以上を占める。癌が主たる対象疾患であり、具体的な細胞種としてはT細胞、NK細胞、NKT細胞等の免疫系細胞が挙げられる。特に、患者から免疫細胞であるT細胞を取り出し、遺伝子導入により癌細胞を攻撃可能な形に加工して注射により患者へ戻す、CAR-T(chimeric antigen receptor-T)細胞療法の実用化が先行している。
【0005】
移植向け細胞の製造工程では患者自身又は他者から採取した生体試料を分離・精製し、増幅・遺伝子導入等の加工を行う。
【0006】
この工程は細胞処理施設(CPC:Cell Processing CenterまたはCPF:Cell Processing Facility)において、再生医療等の安全性の確保等に関する法律(再生医療等安全性確保法)や医薬品等の製造管理及び品質管理の基準である適正製造基準(GMP:Good Manufacturing Practice、もしくはGCTP:Good Gene, Cellular,And Tissue-Based Products Manufacturing Practice)を満たした標準手順書(SOP:Standard Operating Procedure)に従い実施する。よってCPC/CPFの運用には多大なコストと専門の培養技術を有した人材を必要とする。
【0007】
加えて製造工程は手作業を中心とするため、製造量の増加には限界がある。それらによる細胞治療向けの細胞の低生産性と製造コスト高が再生医療の普及の妨げとなっており、製造工程の中で特に労力とコストを要する培養作業の自動化が求められている。培養作業の自動化により省力化、コストダウン、大量生産が可能となる。
【0008】
自動培養装置による細胞培養は長時間継続して行なわれるものであり、工程によっては各試料の分析や観察、試薬の分注などの作業があり、所定時間ごとに試料を順次培養装置から取り出し、培養液を交換し、再び培養装置に戻す必要がある。特許文献1には、各試料の分析や観察のための培養容器の移動時間・距離を短縮して上記作業の効率を向上し、更に装置外から培養空間のコンタミネーションの発生リスクを低減した自動培養装置が記載されている。
【先行技術文献】
【特許文献】
【0009】
特開2006-204187号公報
【発明の概要】
【発明が解決しようとする課題】
【0010】
自動培養装置では、流路での実際の動作や表示部の表示を確認しながら、装置の条件設定等を行えることが望ましい。特許文献1の図1には、外上扉10aと外下扉10bを設け、上扉10aの裏面に設けられた照明14により下扉10b上に設置した試料を観察可能であることが記載されているが、装置の条件設定等については何らの記載がないので、培養装置1とは別に設けられたコンピュータを操作するものと推測される。このような装置ではコンピュータの操作をしている間は培養装置の流路等を見ることができず、効率の良い操作は難しいものと想定される。
(【0011】以降は省略されています)
この特許をJ-PlatPat(特許庁公式サイト)で参照する
関連特許
三洋化成工業株式会社
細胞培養用担体
14日前
株式会社カクサスバイオ
新規免疫抑制方法
1か月前
東ソー株式会社
免疫グロブリン結合性タンパク質の製造方法
1か月前
個人
酒粕パウダーの製造方法
22日前
酒ハックプロジェクト株式会社
カクテルスモーカー
9日前
花王株式会社
風味感受性向上方法
2日前
東ソー株式会社
死細胞の分離剤およびそれを用いた細胞の製造方法
1か月前
株式会社Logomix
細胞ライブラリおよびその製造方法
23日前
株式会社島津製作所
ピッキング装置
15日前
株式会社KINS
バイオマーカ及び判定補助方法
1か月前
国立大学法人広島大学
生体触媒の製造方法
15日前
国立大学法人東海国立大学機構
流体デバイスおよび核酸分離方法
14日前
日本精化株式会社
リン脂質の製造方法
2日前
サントリーホールディングス株式会社
発酵飲料
1か月前
花王株式会社
殺菌剤の殺菌効果の評価方法
14日前
学校法人 中央大学
発酵物の前駆体及び該前駆体を用いた発酵方法
2日前
サントリーホールディングス株式会社
発酵飲料
1か月前
鹿島建設株式会社
微生物培養システム
9日前
サントリーホールディングス株式会社
発酵飲料
1か月前
国立大学法人鳥取大学
進行性核上性麻痺の診断マーカー
16日前
星和株式会社
粉末醸造酢の製造方法、粉末醸造酢
3日前
アサヒビール株式会社
発酵アルコール飲料
16日前
アサヒビール株式会社
発酵アルコール飲料
16日前
コスモエネルギーホールディングス株式会社
供給システム及び供給方法
1日前
学校法人東京理科大学
核酸固定化金ナノ粒子、及びその製造方法
1か月前
花王株式会社
減量効果を予測するための方法
16日前
キッコーマン株式会社
アルカリホスファターゼ組成物
22日前
株式会社喜多屋
焼酎及びスピリッツの製造方法
1日前
花王株式会社
減量効果を予測するための方法
16日前
花王株式会社
情報処理装置
23日前
富士フイルム株式会社
パネル回路及び細胞処理装置
7日前
株式会社コーセー
細胞の老化連鎖状態の評価方法
1日前
我的輕食有限公司
微粒子状物質による肺損傷の改善用組成物
16日前
東ソー株式会社
細胞外小胞精製キット及び細胞外小胞の精製方法
1か月前
株式会社カネカ
サイトカイン増強間葉系幹細胞の製造方法
8日前
麒麟麦酒株式会社
ピネンを含有するアルコール飲料およびその製造方法
7日前
続きを見る
他の特許を見る