TOP
|
特許
|
意匠
|
商標
特許ウォッチ
Twitter
他の特許を見る
公開番号
2025175427
公報種別
公開特許公報(A)
公開日
2025-12-03
出願番号
2024081532
出願日
2024-05-20
発明の名称
カクテルスモーカー
出願人
酒ハックプロジェクト株式会社
代理人
個人
,
個人
主分類
C12G
3/07 20060101AFI20251126BHJP(生化学;ビール;酒精;ぶどう酒;酢;微生物学;酵素学;突然変異または遺伝子工学)
要約
【課題】 グラスに注がれた程度の少量のアルコール飲料に対して、容易に風味を変化させることが可能なカクテルスモーカーを提供することにある。
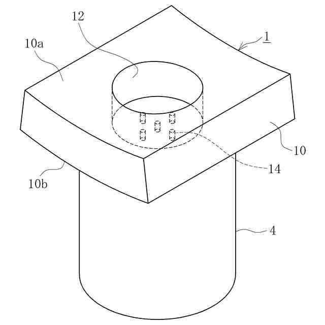
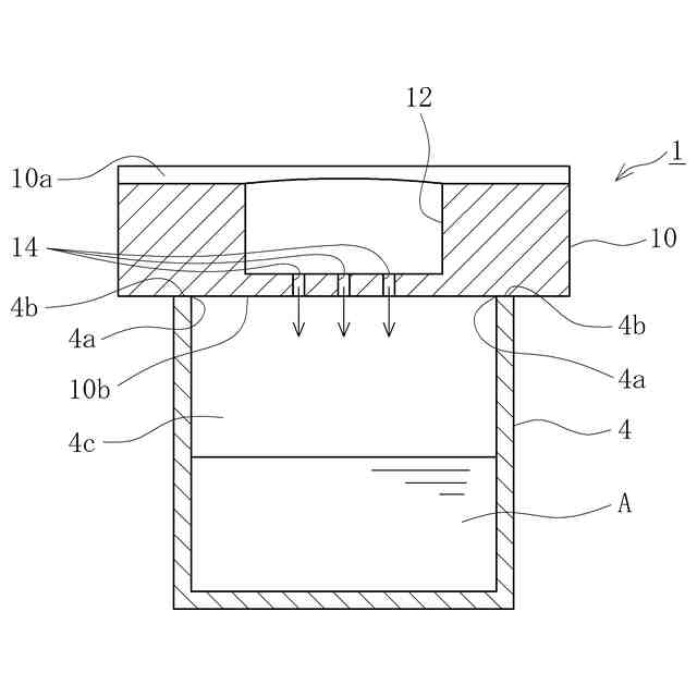
【解決手段】 酒類を醸造する樽として使用可能な厚板状の木製樽材であるスモークヘッドからなり、スモークヘッドに、グラスにスモークヘッドを載置した際に、グラスの反対側になる非グラス側面からグラスの側になるグラス側面へ貫通する通煙穴が穿設され、スモークヘッドの非グラス側面が、アルコール飲料が注がれたグラスの開口を塞ぐようにグラスにスモークヘッドを載置した状態で、非グラス側面に点火して燃焼させる燃焼面であることを特徴とする。
【選択図】図1
特許請求の範囲
【請求項1】
煙によってグラス内のアルコール飲料の風味を変化させるためのカクテルスモーカーにおいて、
酒類を醸造する樽として使用可能な厚板状の木製樽材であるスモークヘッドからなり、
該スモークヘッドに、該グラスに該スモークヘッドを載置した際に、該グラスの反対側になる非グラス側面から該グラスの側になるグラス側面へ貫通する通煙穴が穿設され、
該スモークヘッドの該非グラス側面が、該アルコール飲料が注がれた該グラスの開口を塞ぐように該グラスに該スモークヘッドを載置した状態で、該非グラス側面に点火して燃焼させる燃焼面であることを特徴とするカクテルスモーカー。
続きを表示(約 290 文字)
【請求項2】
前記通煙穴が、前記グラスの前記開口の径よりも小径な少なくとも1つの穴からなることを特徴とする請求項1記載のカクテルスモーカー。
【請求項3】
前記スモークヘッドの前記非グラス側面に、前記通煙穴のすべてを底面に配置可能な凹部を設け、
該スモークヘッドの該凹部の板厚が、他の部分の板厚より薄くなっていることを特徴とする請求項2記載のカクテルスモーカー。
【請求項4】
前記スモークヘッドが、既に酒類を醸造する樽として使用された前記木製樽材であることを特徴とする請求項1~請求項3のいずれか1項に記載のカクテルスモーカー。
発明の詳細な説明
【技術分野】
【0001】
本発明は、煙によってグラス内のアルコール飲料の風味を変化させるためのカクテルスモーカーに関する。
続きを表示(約 1,100 文字)
【背景技術】
【0002】
従来より、ワインやウイスキーのようなアルコール飲料に、特定の樹種を燃やして発生する煙を触れさせることで、このアルコール飲料の風味を変化させる方法や用具が提案されている。
【0003】
例えば、特許文献1に示されるスモーク成分を付与したエキス調味料及びその製造方法では、密閉容器に入れて50~80℃に加熱して、流動性を高めたエキス1.000kgに対してスモークウッド等の燻材を120~250kg使用し、スモーク発生機よりエキス中にスモークを吹き込むとともに、真空吸引して効率的にスモーク成分をエキス類に接触吸収させるようにしている。
【先行技術文献】
【特許文献】
【0004】
特開平8-107769号公報
【発明の概要】
【発明が解決しようとする課題】
【0005】
しかしながら、従来の特許文献1に示されている方法では、複雑な容器等の大がかりな装置が必要で、容易に且つ少量のアルコール飲料の風味を変化させることが困難である。
【0006】
本発明は、このような事情に鑑みてなされたもので、グラスに注がれた程度の少量のアルコール飲料に対して、容易に風味を変化させることが可能なカクテルスモーカーを提供することにある。
【課題を解決するための手段】
【0007】
請求項1記載のカクテルスモーカーは、酒類を醸造する樽として使用可能な厚板状の木製樽材であるスモークヘッドからなり、スモークヘッドに、グラスにスモークヘッドを載置した際に、グラスの反対側になる非グラス側面からグラスの側になるグラス側面へ貫通する通煙穴が穿設され、スモークヘッドの非グラス側面が、アルコール飲料が注がれたグラスの開口を塞ぐようにグラスにスモークヘッドを載置した状態で、非グラス側面に点火して燃焼させる燃焼面であることを特徴とする。
【0008】
請求項2記載のカクテルスモーカーは、請求項1の構成に加え、通煙穴が、グラスの開口の径よりも小径な少なくとも1つの穴からなることを特徴とする。
【0009】
請求項3記載のカクテルスモーカーは、請求項2の構成に加え、スモークヘッドの非グラス側面に、通煙穴のすべてを底面に配置可能な凹部を設け、スモークヘッドの凹部の板厚が、他の部分の板厚より薄くなっていることを特徴とする。
【0010】
請求項4記載のカクテルスモーカーは、請求項1~請求項3のいずれか1項の構成に加え、スモークヘッドが、既に酒類を醸造する樽として使用された木製樽材であることを特徴とする。
【発明の効果】
(【0011】以降は省略されています)
この特許をJ-PlatPat(特許庁公式サイト)で参照する
関連特許
個人
抗遺伝子劣化装置
3か月前
個人
細胞内探査とその利用
3か月前
三洋化成工業株式会社
細胞培養用担体
8日前
雪国アグリ株式会社
単糖類の製造方法
1か月前
個人
細胞培養容器
5か月前
日本バイリーン株式会社
細胞用支持基材
5か月前
株式会社タクマ
バイオマス処理装置
4か月前
株式会社東洋新薬
経口組成物
3か月前
テルモ株式会社
吐出デバイス
2か月前
東洋紡株式会社
改変型RNAポリメラーゼ
5か月前
日油株式会社
蛋白質安定化剤
5か月前
株式会社タクマ
バイオマス処理装置
4か月前
東ソー株式会社
pH応答性マイクロキャリア
3か月前
テルモ株式会社
容器蓋デバイス
2か月前
島根県
油吸着材とその製造方法
1か月前
宝酒造株式会社
アルコール飲料
2か月前
大陽日酸株式会社
培養装置
3か月前
大陽日酸株式会社
培養装置
3か月前
株式会社ファンケル
SEC12タンパク発現促進剤
4か月前
トヨタ自動車株式会社
バイオ燃料製造方法
2か月前
月桂冠株式会社
低プリン体清酒
1か月前
株式会社豊田中央研究所
細胞励起装置
2か月前
個人
有機フッ素化合物を分解する廃液処理法
1か月前
アサヒビール株式会社
柑橘風味アルコール飲料
5か月前
アサヒビール株式会社
柑橘風味アルコール飲料
5か月前
オンキヨー株式会社
浸漬酒の製造方法、及び、浸漬酒
5か月前
テルモ株式会社
採取組織細切補助デバイス
2か月前
株式会社シャローム
スフィンゴミエリン製造方法
3か月前
株式会社カクサスバイオ
新規免疫抑制方法
24日前
株式会社村田製作所
濾過装置および濾過方法
1か月前
横河電機株式会社
藻類培養装置
2か月前
株式会社今宮
瓶詰ビールの加熱殺菌方法および装置
3か月前
新東工業株式会社
培養システム
1か月前
公立大学法人北九州市立大学
微生物の検知方法
3か月前
株式会社ショウワ
キトサンオリゴマー分画方法
2か月前
東ソー株式会社
免疫学的測定法
1か月前
続きを見る
他の特許を見る