TOP
|
特許
|
意匠
|
商標
特許ウォッチ
Twitter
他の特許を見る
10個以上の画像は省略されています。
公開番号
2025178327
公報種別
公開特許公報(A)
公開日
2025-12-05
出願番号
2025153520,2021093767
出願日
2025-09-16,2021-06-03
発明の名称
焦点検出装置、焦点検出方法、および撮像装置
出願人
キヤノン株式会社
代理人
弁理士法人大塚国際特許事務所
主分類
H04N
23/67 20230101AFI20251128BHJP(電気通信技術)
要約
【課題】撮像素子から得られる焦点検出用信号に基づいて高精度な焦点検出を実現する焦点検出装置および焦点検出方法を提供すること。
【解決手段】撮像素子から得られる信号に基づいて第1の焦点検出用信号と第2の焦点検出用信号とを生成する生成手段と、第1の焦点検出用信号と第2の焦点検出用信号の像ずれ量を算出する像ずれ量算出手段と、像ずれ量を結像光学系のデフォーカス量に変換する変換係数を算出する係数算出手段と、像ずれ量に変換係数を適用してデフォーカス量を検出する検出手段と、を有し、係数算出手段は、焦点検出位置の像高に応じた瞳偏心量および入射瞳距離の少なくとも一方に基づいて変換係数を算出することを特徴とする焦点検出装置。
【選択図】図13
特許請求の範囲
【請求項1】
撮像素子から得られる信号に基づいて第1の焦点検出用信号と第2の焦点検出用信号とを生成する生成手段と、
前記第1の焦点検出用信号と前記第2の焦点検出用信号の像ずれ量を算出する像ずれ量算出手段と、
前記像ずれ量を結像光学系のデフォーカス量に変換する変換係数を算出する係数算出手段と、
前記像ずれ量に前記変換係数を適用してデフォーカス量を検出する検出手段と、を有し、
前記係数算出手段は、焦点検出位置の像高に応じた瞳偏心量および入射瞳距離の少なくとも一方に基づいて変換係数を算出することを特徴とする焦点検出装置。
続きを表示(約 1,200 文字)
【請求項2】
前記係数算出手段は、複数の像高について予め記憶された瞳偏心量から前記焦点検出位置における瞳偏心量を求め、前記変換係数の算出に用いることを特徴とする請求項1に記載の焦点検出装置。
【請求項3】
前記係数算出手段は、複数の像高について予め記憶された入射瞳距離から前記焦点検出位置における入射瞳距離を求め、前記変換係数の算出に用いることを特徴とする請求項1または2に記載の焦点検出装置。
【請求項4】
前記係数算出手段は、焦点検出位置の像高に応じた瞳偏心量および入射瞳距離の少なくとも一方に加え、結像光学系が有する複数の枠の開口情報に基づいて前記変換係数を算出することを特徴とする請求項1から3のいずれか1項に記載の焦点検出装置。
【請求項5】
前記係数算出手段は、仮想デフォーカス量を、前記仮想デフォーカス量に対して前記像ずれ量算出手段で算出された前記第1の焦点検出用信号と前記第2の焦点検出用信号の像ずれ量で除算することにより前記変換係数を算出することを特徴とする請求項1から4のいずれか1項に記載の焦点検出装置。
【請求項6】
前記係数算出手段は、結像光学系が有するレンズ枠の情報から得られる開口パラメータを変数とし、前記変換係数の逆数を近似する多項式関数の係数を用いて前記変換係数を算出することを特徴とする請求項1から5のいずれか1項に記載の焦点検出装置。
【請求項7】
前記係数算出手段は、撮像時の絞り値が閾値以上の場合、焦点検出位置の像高に応じた瞳偏心量および入射瞳距離に基づかない変換係数を算出することを特徴とする請求項1から6のいずれか1項に記載の焦点検出装置。
【請求項8】
前記係数算出手段は、基準となる2次元瞳強度分布と、前記焦点検出装置に固有の1次元瞳強度分布との形状の差異に基づいて前記変換係数を補正し、
前記検出手段は、前記像ずれ量に、補正された前記変換係数を適用してデフォーカス量を検出する、
ことを特徴とする請求項1から7のいずれか1項に記載の焦点検出装置。
【請求項9】
前記係数算出手段は、前記結像光学系の射出瞳の、異なる部分領域に対応する1対の前記2次元瞳強度分布から得られる1対の線像の基線長と、前記1対の前記2次元瞳強度分布を対応する前記1次元瞳強度分布に基づいて補正した2次元瞳強度分布から得られる1対の線像の基線長との比を用いて前記変換係数を補正することを特徴とする請求項8に記載の焦点検出装置。
【請求項10】
前記撮像素子の画素が複数の副画素を有し、前記生成手段は、前記第1の焦点検出用信号と前記第2の焦点検出用信号を、それぞれ異なる副画素から得られる信号に基づいて生成することを特徴とする請求項1から9のいずれか1項に記載の焦点検出装置。
(【請求項11】以降は省略されています)
発明の詳細な説明
【技術分野】
【0001】
本発明は、焦点検出装置、焦点検出方法、および撮像装置に関し、特には撮像素子を用いて焦点検出を行う焦点検出装置、焦点検出方法、および撮像装置に関する。
続きを表示(約 2,100 文字)
【背景技術】
【0002】
撮像面位相差AFを可能とする撮像素子が知られている(特許文献1)。特許文献1では、行列状に配置された複数の画素の一部を、位相差AF用の信号を出力するように構成された専用の画素(焦点検出用画素)とし、焦点検出用画素から得られる信号対の位相差に基づいて撮像レンズの焦点検出を行う。
【先行技術文献】
【特許文献】
【0003】
特開2000-156823号公報
【発明の概要】
【発明が解決しようとする課題】
【0004】
撮像面位相差AFの精度は、焦点検出用信号の品質に影響を受ける。また、焦点検出用信号の品質は、撮像素子の製造誤差の影響を受ける。
【0005】
本発明はその一態様において、撮像素子の製造誤差を考慮して、撮像素子から得られる焦点検出用信号に基づいて高精度な焦点検出を実現する焦点検出装置および焦点検出方法を提供する。
【課題を解決するための手段】
【0006】
上述の目的は、撮像素子から得られる信号に基づいて第1の焦点検出用信号と第2の焦点検出用信号とを生成する生成手段と、第1の焦点検出用信号と第2の焦点検出用信号の像ずれ量を算出する像ずれ量算出手段と、像ずれ量を結像光学系のデフォーカス量に変換する変換係数を算出する係数算出手段と、像ずれ量に変換係数を適用してデフォーカス量を検出する検出手段と、を有し、係数算出手段は、焦点検出位置の像高に応じた瞳偏心量および入射瞳距離の少なくとも一方に基づいて変換係数を算出することを特徴とする焦点検出装置によって達成される。
【発明の効果】
【0007】
本発明によれば、撮像素子の製造誤差を考慮して、撮像素子から得られる焦点検出用信号に基づいて高精度な焦点検出を実現する焦点検出装置および焦点検出方法を提供する。
【図面の簡単な説明】
【0008】
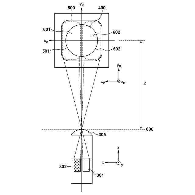
第1実施形態に係る焦点検出装置としての撮像装置の機能構成例を示すブロック図
第1実施形態における画素配列を概略的に示す図
第1実施形態における画素の概略平面図と概略断面図
第1実施形態の撮像素子の画素と瞳強度分布との対応を説明するための図
第1実施形態の撮像素子と瞳強度分布との対応を説明するための図
第1実施形態の結像光学系と撮像素子107における瞳分割を説明するための図
第1実施形態における画素内部の光強度分布例を示す図
第1実施形態の瞳部分領域を示す図
第1実施形態のデフォーカス量と像ずれ量との関係図
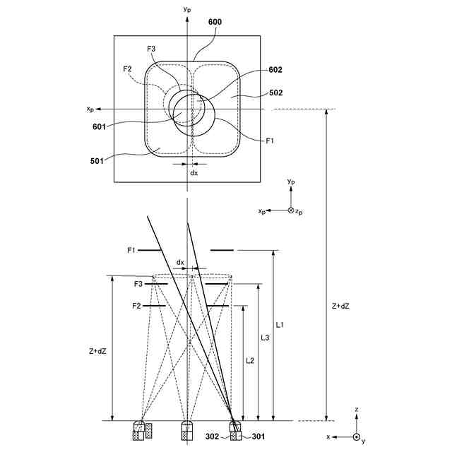
第1実施形態の瞳偏心量や入射瞳距離の変化が生じている場合の撮像素子と瞳強度分布との対応を説明するための図
第1実施形態の像高依存のある瞳偏心量・入射瞳距離変化の補正を行う際の、光軸ずれを測定する像高位置を説明するための図
第1実施形態の撮像素子のセンサ入射瞳、瞳偏心量、入射瞳距離と、結像光学系のレンズ枠ケラレと、瞳部分領域との関係図
第1実施形態の撮像素子のセンサ入射瞳、瞳偏心量、入射瞳距離と、結像光学系のレンズ枠ケラレと、瞳部分領域との関係図
第1実施形態に係る焦点検出方法を示すフローチャート
第1実施形態の結像光学系のレンズ枠ケラレの関係図
第1実施形態に係る変換係数算出方法を示すフローチャート
第1実施形態の仮想焦点検出用信号の生成方法を示す図
第1実施形態の仮想瞳強度分布の変化例を示す図
第2実施形態の基準瞳強度分布と個体強度分布の例を示す図
第2実施形態に係る変換係数の補正値算出方法を説明するための図
第3実施形態の画素配列を示す図
第3実施形態の画素構造を示す図
【発明を実施するための形態】
【0009】
以下、添付図面を参照して本発明をその例示的な実施形態に基づいて詳細に説明する。なお、以下の実施形態は特許請求の範囲に係る発明を限定しない。また、実施形態には複数の特徴が記載されているが、その全てが発明に必須のものとは限らず、また、複数の特徴は任意に組み合わせられてもよい。さらに、添付図面においては、同一若しくは同様の構成に同一の参照番号を付し、重複した説明は省略する。
【0010】
なお、以下の実施形態では、本発明をデジタルカメラのような撮像装置で実施する場合に関して説明する。しかし、本発明は撮像素子の信号を処理可能な任意の電子機器でも実施可能である。このような電子機器には、コンピュータ機器(パーソナルコンピュータ、タブレットコンピュータ、メディアプレーヤ、PDAなど)、携帯電話機、スマートフォン、ゲーム機、ロボット、ドローン、ドライブレコーダが含まれる。これらは例示であり、本発明は他の電子機器でも実施可能である。
(【0011】以降は省略されています)
この特許をJ-PlatPat(特許庁公式サイト)で参照する
関連特許
キヤノン株式会社
容器
1か月前
キヤノン株式会社
容器
1か月前
キヤノン株式会社
トナー
28日前
キヤノン株式会社
トナー
1か月前
キヤノン株式会社
記録装置
28日前
キヤノン株式会社
撮像装置
今日
キヤノン株式会社
撮像装置
今日
キヤノン株式会社
撮像装置
今日
キヤノン株式会社
記録装置
1か月前
キヤノン株式会社
撮像装置
29日前
キヤノン株式会社
定着装置
15日前
キヤノン株式会社
定着装置
21日前
キヤノン株式会社
撮像装置
15日前
キヤノン株式会社
測距装置
1か月前
キヤノン株式会社
撮像装置
今日
キヤノン株式会社
発光装置
7日前
キヤノン株式会社
撮像装置
今日
キヤノン株式会社
記録装置
1日前
キヤノン株式会社
電子機器
28日前
キヤノン株式会社
記録装置
1日前
キヤノン株式会社
電子機器
23日前
キヤノン株式会社
表示装置
1か月前
キヤノン株式会社
雲台装置
28日前
キヤノン株式会社
撮像装置
1か月前
キヤノン株式会社
現像装置
1か月前
キヤノン株式会社
二次電池
2日前
キヤノン株式会社
撮像装置
28日前
キヤノン株式会社
定着装置
15日前
キヤノン株式会社
表示装置
今日
キヤノン株式会社
撮像装置
23日前
キヤノン株式会社
撮像装置
15日前
キヤノン株式会社
電子機器
28日前
キヤノン株式会社
表示装置
7日前
キヤノン株式会社
撮像装置
1か月前
キヤノン株式会社
撮像装置
9日前
キヤノン株式会社
撮像装置
7日前
続きを見る
他の特許を見る