TOP
|
特許
|
意匠
|
商標
特許ウォッチ
Twitter
他の特許を見る
公開番号
2025178143
公報種別
公開特許公報(A)
公開日
2025-12-05
出願番号
2025077512
出願日
2025-05-07
発明の名称
プリント媒体支持面上を移動可能なプリントヘッドメンテナンスユニット
出願人
キヤノン株式会社
代理人
弁理士法人大塚国際特許事務所
主分類
B41J
2/165 20060101AFI20251128BHJP(印刷;線画機;タイプライター;スタンプ)
要約
【課題】コンパクトかつ低コストのメンテナンスユニットを提供する。
【解決手段】プリント媒体支持面上に印刷範囲を画定するプリントヘッドアレイ(5)であって、プリントヘッドアレイ(5)を少なくとも部分的に洗浄するためにプリントヘッドメンテナンスユニット(20)をプリントヘッドアレイ(5)に対して移動させるための駆動アセンブリ(30)に設けられたプリントヘッドメンテナンスユニット(20)と、を備え、第1のモードにおいて、プリントヘッドメンテナンスユニット(20)は、プリントヘッドアレイ(5)を少なくとも部分的に洗浄するために、プリント媒体支持面上で横方向(Y)に移動可能であることを特徴とする。
【選択図】図6
特許請求の範囲
【請求項1】
プリンタ(1)であって、
‐プリント媒体支持面上に印刷範囲を画定するプリントヘッドアレイ(5)であって、前記印刷範囲において、前記プリントヘッドアレイ(5)は、前記プリント媒体支持面上の前記プリント媒体上に画像を少なくとも部分的に形成するように構成され、前記プリント媒体支持面は、搬送方向(X)に延在し、前記プリント媒体は、前記プリントヘッドアレイ(5)に対して、前記搬送方向(X)に直交する横方向(Y)に移動可能である、プリントヘッドアレイ(5)と、
‐前記プリントヘッドアレイ(5)を少なくとも部分的に洗浄するためにプリントヘッドメンテナンスユニット(20)を前記プリントヘッドアレイ(5)に対して移動させるための駆動アセンブリ(30)に設けられた前記プリントヘッドメンテナンスユニット(20)と、を備え、
第1のモードにおいて、前記プリントヘッドメンテナンスユニット(20)は、前記プリントヘッドアレイ(5)を少なくとも部分的に洗浄するために、前記プリント媒体支持面上を前記横方向(Y)に移動可能であることを特徴とする、プリンタ(1)。
続きを表示(約 1,800 文字)
【請求項2】
請求項1に記載のプリンタ(1)であって、第2のモードにおいて、前記プリントヘッドメンテナンスユニット(20)は、前記横方向(Y)において前記印刷範囲に隣接し前記印刷範囲の側方にある休止位置に配置される、プリンタ(1)。
【請求項3】
請求項1又は2に記載のプリンタ(1)であって、前記第1のモードにおいて前記プリントヘッドメンテナンスユニット(20)が移動する作動範囲(W)は、前記印刷範囲に重なり、前記印刷範囲は、前記搬送方向(X)及び前記横方向(Y)に直交する高さ方向(Z)から見た場合に、前記プリント媒体支持面に重なる、プリンタ。
【請求項4】
請求項1乃至3のいずれか1項に記載のプリンタ(1)であって、前記駆動アセンブリ(30)は、前記プリントヘッドメンテナンスユニット(20)を、前記第1のモードにおいてそれが移動する際に移動可能に支持するための支持体を備え、前記支持体は、前記プリントヘッド支持面上を前記横方向(Y)に、好ましくは前記横方向(Y)における前記印刷範囲の少なくともの幅に亘って延在する、プリンタ(1)。
【請求項5】
請求項1乃至4のいずれか1項に記載のプリンタ(1)であって、前記メンテナンスユニット(20)は、少なくとも1つのワイパーユニット(70)を備え、前記ワイパーユニット(70)は、ワイパー媒体(72)を保持し、その結果、前記メンテナンスユニット(20)が前記第1のモードで移動する場合に前記ワイパー媒体(72)が前記プリントヘッドアレイ(5)の表面上を移動するように構成される、プリンタ(1)。
【請求項6】
請求項5に記載のプリンタ(1)であって、前記プリントヘッドメンテナンスユニット(20)は、前記少なくとも1つのワイパーユニット(70)によって保持された前記ワイパー媒体(72)に湿潤流体を供給するように構成されたウェッター(22)をさらに備える、プリンタ(1)。
【請求項7】
請求項6に記載のものであって、前記ウェッター(22)は、前記搬送方向(X)に湿潤流体チャネルを備えるビームとして延在し、その結果、複数のワイパーユニット(70)の複数のワイパー媒体(72)が前記湿潤流体チャネルを介して供給されうる、もの。
【請求項8】
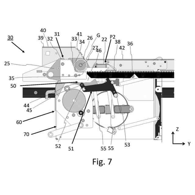
請求項5乃至7のいずれか1項に記載のプリンタ(1)であって、前記支持体は、ギアラック(31)を備え、前記プリントヘッドメンテナンスユニット(20)に、前記ギアラック(31)と係合する第1の駆動輪(26)が設けられ、その結果、前記第1の駆動輪(26)の駆動が前記プリントヘッドメンテナンスユニット(20)を前記横方向(Y)に移動させる、プリンタ(1)。
【請求項9】
請求項8に記載のプリンタ(1)であって、前記ギアラック(31)は、
‐前記搬送方向(X)及び前記横方向(Y)に直交する高さ方向(Z)から見た場合に、前記プリント媒体支持面に隣接して及び前記プリント媒体支持面のそばに配置された第1のギアラックセグメントと、
前記高さ方向(Z)から見た場合に、前記プリント媒体支持面の上に延在する第2のギアラックセグメントと、を備える、プリンタ(1)。
【請求項10】
請求項8又は9に記載のプリンタ(1)であって、前記ギアラック(31)は、前記搬送方向(X)及び前記横方向(Y)に直交する高さ方向(Z)において、下側ラックセクション(35)の上方にある隆起ラックセクション(32)を備える第1のギアセグメントを備え、前記第1の駆動輪(26)は、前記ウェッター(22)に接続され、その結果、
‐前記第1の駆動輪(26)が前記隆起ラックセクション(32)にある場合に、前記ウェッター(22)は、前記少なくとも1つのワイパーユニット(70)の上方の隆起レベル(P1)にあり、
‐前記第1の駆動輪(26)が前記下側ラックセクション(35)にある場合に、前記ウェッター(22)は、前記少なくとも1つのワイパーユニット(70)の前記ウェッター媒体(72)に湿潤流体を供給するための下側レベル(P2)にある、プリンタ(1)。
(【請求項11】以降は省略されています)
発明の詳細な説明
【技術分野】
【0001】
本発明は、プリントヘッドアレイを備えるプリンタ、及びこのようなプリントヘッドアレイのメンテナンスを実行する方法に関連する。
続きを表示(約 2,300 文字)
【背景技術】
【0002】
プリンタ、特にシートプリンタは、一般にページワイドアレイと呼ばれるプリントヘッドアレイを備えうる。このようなアレイは、プリント媒体支持面上に延在する複数のプリントヘッドを備える。プリントヘッドが画像を形成するためにインクの液滴を印刷媒体上に噴射する連続動作中にプリントヘッドアレイに沿って印刷媒体を移動させるための搬送機構が提供される。プリントヘッドは噴射中に静止しており、印刷媒体の幅に亘る印刷範囲を画定する。液滴は、プリントヘッドアレイ内の1つ以上のノズルプレートに設けられたノズルから噴射される。動作中、インク又は他の汚染物がノズルプレート上に蓄積するかもしれず、これは、ノズルからの信頼できる噴射を妨げる可能性がありうる。例えば、ノズルが(部分的に)ブロックされうるか、又は液滴がその個別のノズルを出る際に、蓄積されたインクとの相互作用によって液滴サイズ若しくは軌道が影響を受ける。1つ以上のノズルプレートを少なくとも部分的に洗浄するために、プリントヘッドアレイのメンテナンスを定期的に又は全体的に行うことが知られている。洗浄は、拭き取り、スプレー、超音波洗浄、吸引などのような様々な方法で行われうる。メンテナンスを行うために、プリント媒体支持面の隣にメンテナンスユニット又はステーションを設けることが知られている。メンテナンスが要求される場合に、プリントヘッドアレイは、メンテナンスユニットの位置に移動され、ここで、1つ以上の洗浄アクションが実行される。
【0003】
特に、ノズルプレートは、プリントヘッドアレイに沿ってワイパー媒体がスワイプすることによってきれいに拭かれうる。ロール状のワイパー媒体を提供することが知られており、ノズルプレートに常にきれいな拭き取り面を提供するために、このロールはアンスプールされる。ロールが使い果たされた場合に、交換が必要になる。
【発明の概要】
【0004】
本発明の目的はプリンタのための改善されたメンテナンスユニット、具体的によりコンパクトで、より単純で、及び/又は低コストのユニットを提供することである。
【0005】
本発明によれば、請求項1に記載のプリンタ及び請求項14に記載の方法が提供される。
【0006】
プリンタは、
‐プリント媒体支持面上に印刷範囲を画定するプリントヘッドアレイであって、印刷範囲において、プリントヘッドアレイは、プリント媒体支持面上のプリント媒体上に画像を少なくとも部分的に形成するように構成され、プリント媒体支持面は、搬送方向に延在し、プリント媒体は、プリントヘッドアレイに対して、搬送方向に直交する横方向に移動可能である、プリントヘッドアレイと、
‐プリントヘッドアレイを少なくとも部分的に洗浄するためにプリントヘッドメンテナンスユニットをプリントヘッドアレイに対して移動させるための駆動アセンブリに設けられたプリントヘッドメンテナンスユニットと、を備える。
【0007】
前記プリンタは、第1のモードにおいて、前記プリントヘッドメンテナンスユニットは、前記プリントヘッドアレイを少なくとも部分的に洗浄するために、前記プリント媒体支持面上を前記横方向に移動可能であることを特徴とする。
【0008】
プリントヘッドアレイは、印刷中にプリント媒体支持面上に延在する。印刷範囲は、プリント媒体支持面に重なる。印刷範囲は好ましくは、プリント媒体支持面上のプリント媒体の幅と少なくとも同じ幅である。印刷中、メンテナンスユニットは、プリントヘッドアレイに沿ってプリント媒体支持面を介して移動するプリント媒体上のプリントヘッドアレイ印刷を妨害しないように配置される。メンテナンスが実行される場合に、駆動アセンブリは、プリントヘッドメンテナンスユニットを横方向に移動させるように作動する。これにより、プリントヘッドメンテナンスユニットは、洗浄のためにプリントヘッドアレイに沿ってプリント媒体支持面上を移動する。プリントヘッドアレイはプリント媒体支持面の上に留まり、よって、洗浄は、プリント媒体支持面の上で実行される。これにより、完全にプリント媒体支持面以外で洗浄を行うことと比較して、コンパクトな構成が可能となる。メンテナンスのためのプリントヘッドアレイの横方向の移動は必要とされず、より単純でより低コストのシステムを可能にする。これにより、本発明の目的が達成されている。
【0009】
本発明のより具体的なオプション機能が従属項に示されている。
【0010】
実施形態において、第1のモードはメンテナンスモードであり、プリントヘッドメンテナンスユニットは、洗浄動作を実行するためにプリントヘッドアレイに係合する。洗浄動作は、拭き取り、パージ、吸引、スプレー、湿潤、超音波放射/洗浄のような、ノズルプレートから残留物又は汚染物を除去するための任意の適切なアクションを含んでもよい。好ましくは、プリントヘッドメンテナンスユニットは、第2のモードに切り替えることができ、洗浄動作を実行することが防止される。第1のモードにおいて、洗浄を可能にするために、プリントヘッドメンテナンスユニットは、プリントヘッドアレイの十分近くに又は接触して配置され、一方、第2のモードにおいて、プリントヘッドメンテナンスユニットは、プリントヘッドアレイから比較的離れて、例えば、プリント媒体支持面の側方にあってもよいことが理解されよう。
(【0011】以降は省略されています)
この特許をJ-PlatPat(特許庁公式サイト)で参照する
関連特許
キヤノン株式会社
容器
1か月前
キヤノン株式会社
トナー
1か月前
キヤノン株式会社
測距装置
1か月前
キヤノン株式会社
撮像装置
3日前
キヤノン株式会社
記録装置
24日前
キヤノン株式会社
表示装置
10日前
キヤノン株式会社
表示装置
10日前
キヤノン株式会社
表示装置
3日前
キヤノン株式会社
撮像装置
3日前
キヤノン株式会社
撮像装置
3日前
キヤノン株式会社
撮像装置
10日前
キヤノン株式会社
定着装置
24日前
キヤノン株式会社
撮像装置
12日前
キヤノン株式会社
定着装置
18日前
キヤノン株式会社
撮像装置
26日前
キヤノン株式会社
記録装置
1か月前
キヤノン株式会社
撮像装置
10日前
キヤノン株式会社
表示装置
10日前
キヤノン株式会社
電子機器
1か月前
キヤノン株式会社
撮像装置
1か月前
キヤノン株式会社
記録装置
4日前
キヤノン株式会社
定着装置
24日前
キヤノン株式会社
記録装置
4日前
キヤノン株式会社
撮像装置
3日前
キヤノン株式会社
定着装置
18日前
キヤノン株式会社
撮像装置
3日前
キヤノン株式会社
電子機器
3日前
キヤノン株式会社
定着装置
24日前
キヤノン株式会社
撮像装置
1か月前
キヤノン株式会社
二次電池
5日前
キヤノン株式会社
雲台装置
1か月前
キヤノン株式会社
撮像装置
18日前
キヤノン株式会社
撮像装置
18日前
キヤノン株式会社
表示装置
1か月前
キヤノン株式会社
記録装置
1か月前
キヤノン株式会社
撮像装置
1か月前
続きを見る
他の特許を見る