TOP
|
特許
|
意匠
|
商標
特許ウォッチ
Twitter
他の特許を見る
公開番号
2025178061
公報種別
公開特許公報(A)
公開日
2025-12-05
出願番号
2024183592
出願日
2024-10-18
発明の名称
スマートバッテリー検出装置及び方法
出願人
廣達電腦股ふん有限公司
,
Quanta Computer Inc.
代理人
個人
,
個人
主分類
G01R
31/392 20190101AFI20251128BHJP(測定;試験)
要約
【課題】バッテリーパックに溶接ミスがあるかどうかを瞬時に判定する方法を提供する。
【解決手段】マイクロコントローラ及び少なくとも1つのバッテリーセルを含むバッテリーパックであって、マイクロコントローラは、充電モードにおいて、バッテリーパックに対応する初期直流内部抵抗(DCIR)値を取得して、各相対充電状態(RSOC)チェックポイントにおいて、バッテリーパックに現在対応しているDCIR値を検出する、バッテリーパックと、バッテリーパックに接続され、DCIR値を得るプロセッサと、を備え、マイクロコントローラ及びプロセッサのうち少なくとも1つは、バッテリーパックに異常があるかどうかを判定する、スマートバッテリー検出装置。
【選択図】図3
特許請求の範囲
【請求項1】
マイクロコントローラ及び少なくとも1つのバッテリーセルを含むバッテリーパックであって、前記マイクロコントローラは、充電モードにおいて、前記バッテリーパックに対応する初期直流内部抵抗(DCIR)値を取得して、各相対充電状態(RSOC)チェックポイントにおいて、前記バッテリーパックに現在対応しているDCIR値を検出する、バッテリーパックと、
前記バッテリーパックに接続され、前記DCIR値を取得するプロセッサと、を備え、
前記マイクロコントローラ及び前記プロセッサのうち少なくとも1つは、前記バッテリーパックに異常があるかどうかを判定する、スマートバッテリー検出装置。
続きを表示(約 1,600 文字)
【請求項2】
既定の充放電サイクル数の後に、前記バッテリーパックに対応する前記初期DCIR値は、既定の比率で増加される、請求項1に記載のスマートバッテリー検出装置。
【請求項3】
前記プロセッサ又は前記マイクロコントローラが前記バッテリーパックに異常があるかどうかを判定する場合に、前記プロセッサ又は前記マイクロコントローラは、前記DCIR値が第1の許容値よりも高いかどうかを判定し、前記DCIR値が第2の許容値よりも低いかどうかを判定し、前記第1の許容値は、前記初期DCIR値に既定値を加えた値であり、前記第2の許容値は、前記初期DCIR値から既定値を引いた値である、請求項1に記載のスマートバッテリー検出装置。
【請求項4】
前記プロセッサ又は前記マイクロコントローラが、前記DCIR値が前記第1の許容値よりも高くないと判定し、前記DCIR値が前記第2の許容値よりも低くないと判定した場合に、前記プロセッサ又は前記マイクロコントローラは、前記バッテリーパックに異常がないと判定する、請求項3に記載のスマートバッテリー検出装置。
【請求項5】
前記プロセッサ又は前記マイクロコントローラが、前記DCIR値が前記第1の許容値よりも高いと判定し、又は、前記DCIR値が前記第2の許容値よりも低いと判定した場合に、前記プロセッサ又は前記マイクロコントローラは、前記バッテリーパックが電圧を有するかどうかをさらに判定する、請求項3に記載のスマートバッテリー検出装置。
【請求項6】
前記プロセッサ又は前記マイクロコントローラが、前記バッテリーパックが電圧を有すると判定した場合に、前記プロセッサ又は前記マイクロコントローラは、前記バッテリーパックにバッテリーセルのアンバランスがあるかどうかをさらに判定する、請求項5に記載のスマートバッテリー検出装置。
【請求項7】
前記バッテリーパックに前記バッテリーセルのアンバランスがない場合に、前記プロセッサ又は前記マイクロコントローラは、前記バッテリーパックに溶接ミスがあると判定する、請求項6に記載のスマートバッテリー検出装置。
【請求項8】
スマートバッテリー検出装置に適用されるスマートバッテリー検出方法であって、
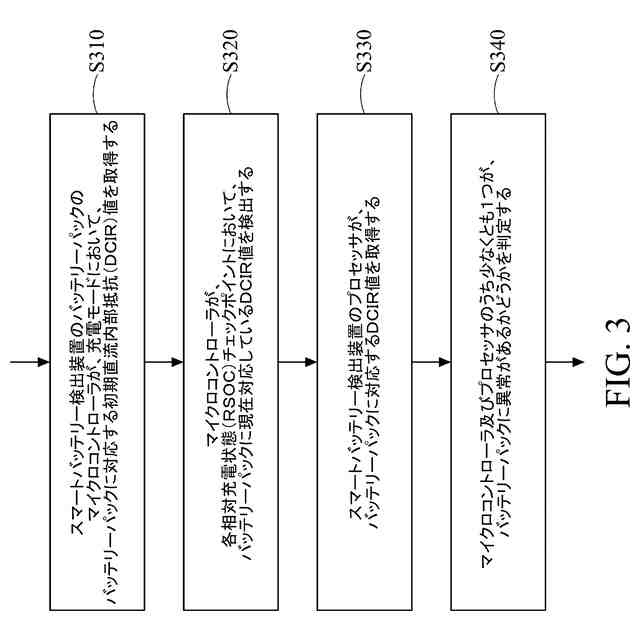
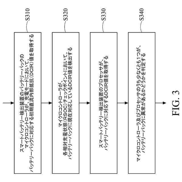
前記スマートバッテリー検出装置のバッテリーパックのマイクロコントローラが、充電モードにおいて、前記バッテリーパックに対応する初期直流内部抵抗(DCIR)値を取得するステップと、
前記マイクロコントローラが、各相対充電状態(RSOC)チェックポイントにおいて、前記バッテリーパックに現在対応しているDCIR値を検出するステップと、
前記スマート検出装置のプロセッサが、前記バッテリーパックに対応する前記DCIR値を取得するステップと、
前記マイクロコントローラ及び前記プロセッサのうち少なくとも1つが、前記バッテリーパックに異常があるかどうかを判定するステップと、を含む、スマートバッテリー検出方法。
【請求項9】
前記既定の充放電サイクル数の後に、前記バッテリーパックに対応する前記初期DCIR値を規定の比率で増加させるステップをさらに含む、請求項8に記載のスマートバッテリー検出方法。
【請求項10】
前記プロセッサ又は前記マイクロコントローラが前記バッテリーパックに異常があるかどうかを判定する場合に、前記方法は、
前記プロセッサ又は前記マイクロコントローラが、前記DCIR値が第1の許容値よりも高いかどうかを判定し、前記DCIR値が第2の許容値よりも低いかどうかを判定するステップをさらに含み、
前記第1の許容値は、前記初期DCIR値に既定値を加えた値であり、前記第2の許容値は、前記初期DCIR値から既定値を引いた値である、請求項8に記載のスマートバッテリー検出方法。
発明の詳細な説明
【技術分野】
【0001】
本願は、2024年5月24日に出願された台湾特許出願番号第113119245号についての優先権を主張するものであり、これらの全ては引用によって本願に援用される。
続きを表示(約 1,400 文字)
【0002】
本発明は、スマートバッテリー検出技術に関し、特に、溶接ミスの有無を検出するスマートバッテリー検出技術に関する。
【背景技術】
【0003】
スマートフォン、タブレット及びノートパソコン等の現代の電子製品は、バッテリーにより電力が供給される。バッテリーは、複数のバッテリーセルから構成されるバッテリーパックを含むことができる。
【0004】
スポット溶接は、通常、バッテリーセルをバッテリーパックに接続するように用いられる溶接方法である。バッテリーセルは、スポット溶接によって相互に接続され、抵抗を低くし、信頼性の高い電気的接続を確保することができる。しかしながら、状況によっては、バッテリーが工場から出荷されるときにバッテリーパックに溶接ミスが検出されない(即ち、バッテリーが工場から出荷されるときにバッテリーパック内のバッテリーセルは正常である)が、バッテリーが長期間使用された後に、そのような溶接ミスが発生することがある。したがって、このような状況では溶接ミスが簡単に見つからない可能性がある。
【発明の概要】
【発明が解決しようとする課題】
【0005】
したがって、バッテリーパックに溶接ミスがあるかどうかを瞬時に判定する方法が、議論に値する課題である。
【課題を解決するための手段】
【0006】
上記の問題を克服するスマートバッテリー検出装置及び方法が提供される。
【0007】
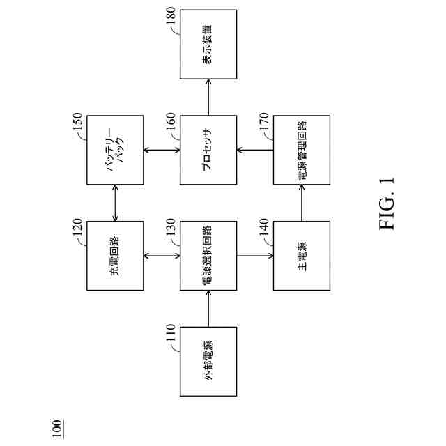
本発明の実施形態は、スマートバッテリー検出装置を提供する。スマートバッテリー検出装置は、バッテリーパック及びプロセッサを含むことができる。バッテリーパックは、マイクロコントローラ及び少なくとも1つのバッテリーセルを含むことができる。充電モードでは、マイクロコントローラは、バッテリーパックに対応する初期直流内部抵抗(DCIR)値を得て、各相対充電状態(RSOC)チェックポイントでバッテリーパックに現在対応しているDCIR値を検出することができる。プロセッサは、バッテリーパックに接続され、DCIR値を得ることができる。マイクロコントローラとプロセッサの少なくとも1つは、バッテリーパックに異常があるかどうかを判定することができる。
【0008】
本発明のいくつかの実施形態では、既定の充放電サイクル数の後、バッテリーパックに対応する初期DCIR値は、既定の比率で増加され得る。
【0009】
本発明のいくつかの実施形態では、プロセッサ又はマイクロコントローラがバッテリーパックに異常があるかどうかを判定する場合に、プロセッサ又はマイクロコントローラは、DCIR値が第1の許容値よりも高いかどうかを判定し、DCIR値が第2の許容値よりも低いかどうかを判定する。第1の許容値は、初期DCIR値に既定値を加えた値とすることができ、第2の許容値は、初期DCIR値から既定値を引いた値とすることができる。
【0010】
本発明のいくつかの実施形態では、プロセッサ又はマイクロコントローラが、DCIR値が第1の許容値よりも高くないと判定し、DCIR値が第2の許容値よりも低くないと判定した場合に、プロセッサ又はマイクロコントローラは、バッテリーパックに異常がないと判定することができる。
(【0011】以降は省略されています)
この特許をJ-PlatPat(特許庁公式サイト)で参照する
関連特許
廣達電腦股ふん有限公司
スマートバッテリー検出装置及び方法
1日前
廣達電腦股ふん有限公司
バッテリー性能を人工知能が監視及び保護する方法並びに装置
6か月前
個人
視触覚センサ
1日前
日本精機株式会社
検出装置
1か月前
個人
採尿及び採便具
1か月前
個人
計量機能付き容器
26日前
株式会社カクマル
境界杭
16日前
日本精機株式会社
発光表示装置
9日前
株式会社ミツトヨ
測定器
1か月前
甲神電機株式会社
電流検出装置
1か月前
株式会社トプコン
測量装置
8日前
ユニパルス株式会社
トルク変換器
1日前
ユニパルス株式会社
トルク変換器
1日前
ユニパルス株式会社
トルク変換器
1日前
アズビル株式会社
電磁流量計
1か月前
大成建設株式会社
風洞実験装置
26日前
大和製衡株式会社
組合せ計量装置
1か月前
日本特殊陶業株式会社
ガスセンサ
1日前
個人
システム、装置及び実験方法
1か月前
双庸電子株式会社
誤配線検査装置
1か月前
日本特殊陶業株式会社
ガスセンサ
2日前
愛知電機株式会社
軸部材の外観検査装置
1か月前
ローム株式会社
半導体装置
1か月前
ローム株式会社
半導体装置
1か月前
個人
非接触による電磁パルスの測定方法
29日前
個人
計量具及び計量機能付き容器
26日前
日本特殊陶業株式会社
ガスセンサ
8日前
日本特殊陶業株式会社
ガスセンサ
24日前
大和製衡株式会社
組合せ計量装置
1か月前
日本信号株式会社
距離画像センサ
29日前
愛知時計電機株式会社
ガスメータ
1か月前
日東精工株式会社
振動波形検査装置
1か月前
本陣水越株式会社
車載式計測標的物
3日前
日本特殊陶業株式会社
センサ
1か月前
個人
液位検視及び品質監視システム
24日前
株式会社デンソー
電流センサ
1か月前
続きを見る
他の特許を見る