TOP
|
特許
|
意匠
|
商標
特許ウォッチ
Twitter
他の特許を見る
公開番号
2025084672
公報種別
公開特許公報(A)
公開日
2025-06-03
出願番号
2024114479
出願日
2024-07-18
発明の名称
バッテリー性能を人工知能が監視及び保護する方法並びに装置
出願人
廣達電腦股ふん有限公司
,
Quanta Computer Inc.
代理人
個人
,
個人
主分類
H02J
7/00 20060101AFI20250527BHJP(電力の発電,変換,配電)
要約
【課題】バッテリーの性能を人工知能が監視及び保護する方法並びに装置を提供する。
【解決手段】バッテリーの性能を人工知能が監視及び保護する方法が提供される。本方法は、バッテリーパックのバッテリーセルの温度及び電流が制限仕様内にあるか否かを判断する工程を有する。本方法は、バッテリーパックの温度及び電流が制限仕様内にある場合に、最大電流電力を得る工程を有する。本方法は、最大電流電力に基づいて、操作を実行する工程を有する。
【選択図】図3
特許請求の範囲
【請求項1】
バッテリーの性能を人工知能が監視及び保護する方法であって、
バッテリーパックのバッテリーセルの温度及び電流が制限仕様内にあるか否かを判断する工程と、
前記バッテリーセルの前記温度及び前記電流が前記制限仕様内にある場合に、最大電流電力を得る工程と、
最大電流電力に基づいて、操作を実行する工程と、
を含むことを特徴とする方法。
続きを表示(約 1,500 文字)
【請求項2】
前記最大電流電力は、前記バッテリーセルの相対残容量(RSOC)、電圧、システムインピーダンス値、最適化パラメーター、及び、電池インピーダンス値に基づいて得られることを特徴とする、請求項1に記載のバッテリーの性能を人工知能が監視及び保護する方法。
【請求項3】
前記最大電流電力は以下の式で表され、
MCP=D/((E+F+G))×B
式中、Bは前記RSOC、Dは前記電圧、Eは前記システムインピーダンス値、Fは前記最適化パラメーター、Gは前記電池インピーダンス値であることを特徴とする、請求項2に記載のバッテリーの性能を人工知能が監視及び保護する方法。
【請求項4】
前記最適化パラメーターは、大規模言語モデル(LLM)又は大規模データモデルによって生成されることを特徴とする、請求項2に記載のバッテリーの性能を人工知能が監視及び保護する方法。
【請求項5】
前記バッテリーパックの前記バッテリーセルの前記温度及び前記電流が前記制限仕様内にあるか否かを判断する工程は、
前記バッテリーセルの前記温度が動作温度範囲内にあるか否か、前記電流が過電流保護(OCP)動作制限内にあるか否か、及び、短絡保護動作制限内にあるか否かを判断する工程を含むことを特徴とする、請求項1に記載のバッテリーの性能を人工知能が監視及び保護する方法。
【請求項6】
前記最大電流電力に基づいて、前記操作を実行する工程は、
前記最大電流電力に対応するインジケーターが閾値より低い場合に、通知メッセージをプロセッサに送信して、前記バッテリーセルが現在サポートする電力状態を前記プロセッサに通知する工程を含むことを特徴とする、請求項1に記載のバッテリーの性能を人工知能が監視及び保護する方法。
【請求項7】
前記バッテリーセルの前記温度及び前記電流が制限仕様内にない場合に、前記バッテリーセルに対して保護操作を実行する工程を含むことを特徴とする、請求項1に記載のバッテリーの性能を人工知能が監視及び保護する方法。
【請求項8】
バッテリーの性能を人工知能が監視及び保護する装置であって、
バッテリーパックを備え、
前記バッテリーパックは、
バッテリーセルと、
コントローラーと、を備え、
前記コントローラーは、
前記バッテリーパックの前記バッテリーセルの温度及び電流が制限仕様内にあるか否かを判断することと、
前記バッテリーセルの前記温度及び前記電流が前記制限仕様内にある場合に、最大電流電力を得ることと、
前記最大電流電力に基づいて、操作を実行することと、
を行うように動作することを特徴とする装置。
【請求項9】
前記最大電流電力は、前記バッテリーセルの相対残容量(RSOC)、電圧、システムインピーダンス値、最適化パラメーター、及び、電池インピーダンス値に基づいて得られることを特徴とする、請求項8に記載のバッテリーの性能を人工知能が監視及び保護する装置。
【請求項10】
前記最大電流電力は以下の式で表され、
MCP=D/((E+F+G))×B
式中、Bは前記RSOC、Dは前記電圧、Eは前記システムインピーダンス値、Fは前記最適化パラメーター、Gは前記電池インピーダンス値であることを特徴とする、請求項9に記載のバッテリーの性能を人工知能が監視及び保護する装置。
発明の詳細な説明
【技術分野】
【0001】
本発明は、バッテリー技術に関し、特に、バッテリー性能を人工知能が監視及び保護する方法並びに装置に関する。
続きを表示(約 1,400 文字)
【背景技術】
【0002】
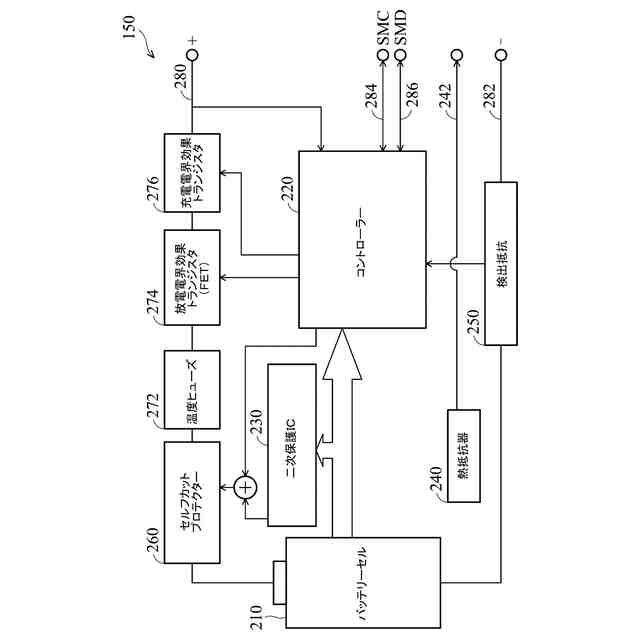
今日の社会は、省エネルギーと環境保護に対する要求がますます高くなっており、バッテリーのエネルギー効率を最適化することは、省エネルギーと環境保護を達成するための鍵の一つとなっている。電池関連技術の絶え間ない進歩に伴い、バッテリーマネジメントシステム(BMS)の応用がますます広まっている。
【0003】
バッテリーマネジメントシステムは、通常、バッテリー電圧を測定する機能を有しており、例えば、バッテリーの過放電、過充電及び過熱等の異常状況の出現を防止する。一般的なバッテリーマネジメントシステムは、通常、例えば、過電流保護(OCP)及び過熱保護(OTP)等の保護メカニズムを用いてバッテリーを管理する。しかし、これらの保護メカニズムの全ては、固定のスレショルドを用いて電流及び過温度からバッテリーを保護しているが、バッテリーのエネルギー効率を最適化することができない。
【0004】
よって、バッテリーエネルギー効率を最適化し、バッテリーの正常な動作を確保し、バッテリー寿命を延長することができるバッテリー性能を人工知能が監視及び保護する方法並びに装置が必要である。
【発明の概要】
【発明が解決しようとする課題】
【0005】
本発明は、バッテリー性能を人工知能が監視及び保護する方法並びに装置を提供することを目的とする。
【課題を解決するための手段】
【0006】
以下の要約は例示に過ぎず、如何なる意味においても限定することを意図していない。すなわち、以下の要約は、本明細書に記載される新規且つ非自明な技術の概念、ハイライト、利点及び長所を紹介するために提供される。全てではないが、選択された実施態様は、以下の詳細な説明においてさらに説明される。したがって、以下の要約は、特許請求される発明の本質的な特徴を特定することを意図したものではなく、特許請求される発明の範囲を決定する際に使用することを意図したものでもない。
【0007】
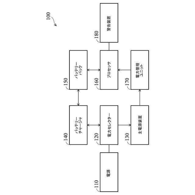
例示的な実施形態において、バッテリーの性能を人工知能が監視及び保護する方法が提供される。本方法は、バッテリーパックのバッテリーセルの温度及び電流が制限仕様内にあるかどうかを判断する工程を有する。本方法は、バッテリーパックの温度及び電流が制限仕様内にある場合に、最大電流電力を得る工程を有する。本方法は、最大電流電力に基づいて、操作を実行する工程を有する。
【0008】
いくつかの実施形態において、最大電流電力は、バッテリーパックの相対残容量(RSOC)、電圧、システムインピーダンス値、最適化パラメーター、及び、電池インピーダンス値に基づいて得られる。
【0009】
いくつかの実施形態において、最大電流電力(maximum current power、MCP)は、以下の式で表される。
MCP=D/((E+F+G))×B
式中、BはRSOC、Dは電圧、Eはシステムインピーダンス値、Fは最適化パラメーター、Gは電池インピーダンス値である。
【0010】
いくつかの実施形態において、最適化パラメーターは、大規模言語モデル(LLM)又は大規模データモデルにより生成される。
(【0011】以降は省略されています)
この特許をJ-PlatPat(特許庁公式サイト)で参照する
関連特許
株式会社デンソー
回転電機
2日前
株式会社ダイヘン
送配電装置
2日前
本田技研工業株式会社
回転電機
4日前
株式会社不二越
空冷式油圧装置
2日前
富士電機株式会社
電力変換装置
2日前
富士電機株式会社
電力変換装置
2日前
株式会社イノコンバンク
無線給電システム
2日前
サンデン株式会社
モータ
3日前
サンデン株式会社
モータ
3日前
ジヤトコ株式会社
治具
2日前
多摩川精機株式会社
モータ
2日前
矢崎総業株式会社
電気接続箱
4日前
河村電器産業株式会社
車両充電装置
2日前
日本発條株式会社
コアの製造方法及び装置
2日前
矢崎総業株式会社
車載用切替装置
4日前
株式会社デンソー
ロータ
4日前
株式会社デンソー
ロータ
4日前
株式会社ミツバ
モータ装置
2日前
株式会社明電舎
電力変換システム
2日前
サンデン株式会社
インバータ装置
3日前
株式会社神戸製鋼所
電動機
2日前
三菱電機株式会社
電力変換装置
4日前
三菱電機株式会社
電力変換装置
4日前
三浦工業株式会社
船舶用ハイブリッド発電システム
3日前
株式会社日立製作所
分散電源管理システム
4日前
株式会社IHI
ロータ及びロータの製造方法
2日前
住友電装株式会社
プロテクタ、及びワイヤハーネス
2日前
株式会社プロテリアル
ケーブル接続構造体
2日前
株式会社デンソー
電力変換モジュール及び電力変換装置
3日前
日本精工株式会社
飛行体用回転支持装置
2日前
日本精工株式会社
飛行体用回転支持装置
2日前
株式会社豊田中央研究所
回転電機
2日前
アズビル株式会社
モータ駆動制御装置及びモータの駆動制御方法
2日前
国立大学法人横浜国立大学
発電装置
2日前
トヨタ自動車株式会社
電力融通システム
2日前
ローム株式会社
電源制御装置及び電源装置
2日前
続きを見る
他の特許を見る