TOP
|
特許
|
意匠
|
商標
特許ウォッチ
Twitter
他の特許を見る
10個以上の画像は省略されています。
公開番号
2025177904
公報種別
公開特許公報(A)
公開日
2025-12-05
出願番号
2024085058
出願日
2024-05-24
発明の名称
制御システム及び制御プログラム
出願人
富士フイルムビジネスイノベーション株式会社
代理人
弁理士法人太陽国際特許事務所
主分類
B65H
31/26 20060101AFI20251128BHJP(運搬;包装;貯蔵;薄板状または線条材料の取扱い)
要約
【課題】用紙束をアームが把持する動作を妨げることなく、用紙束を押さえながら用紙束の用紙の枚数をカウントする。
【解決手段】制御装置10は、CPU21を備える。CPU21は、用紙の束である用紙束の用紙のサイズを取得し、カウンタを用いて用紙束の用紙の枚数をカウントする前に、用紙のサイズに応じて、複数の押さえ部の各々を、用紙束の複数の側面のうちカウンタを当てる側面を除く隣り合う2つの側面の各々に移動させ、カウンタがカウントしている間、複数の押さえ部の各々が隣り合う2つの側面の各々を押さえるように制御する。
【選択図】図6
特許請求の範囲
【請求項1】
プロセッサを備え、
前記プロセッサは、
用紙の束である用紙束の用紙のサイズを取得し、
カウンタを用いて前記用紙束の用紙の枚数をカウントする前に、前記用紙のサイズに応じて、複数の押さえ部の各々を、前記用紙束の複数の側面のうち前記カウンタを当てる側面を除く隣り合う2つの側面の各々に移動させ、
前記カウンタがカウントしている間、前記複数の押さえ部の各々が前記隣り合う2つの側面の各々を押さえるように制御する、
制御システム。
続きを表示(約 1,200 文字)
【請求項2】
前記プロセッサは、前記用紙束の用紙の厚さ及び紙種の少なくとも1つを更に取得し、
前記用紙の厚さ及び紙種の少なくとも1つに応じて、前記複数の押さえ部の各々が押さえる側面の位置を変更する、
請求項1に記載の制御システム。
【請求項3】
前記用紙束の用紙が第1用紙のときの前記押さえ部と前記カウンタとの距離は、厚さが前記第1用紙よりも大きい第2用紙のときの前記押さえ部と前記カウンタとの距離よりも短い、
請求項2に記載の制御システム。
【請求項4】
前記プロセッサは、前記カウンタがカウントしている間、前記複数の押さえ部とは別の押さえ部が前記用紙束の上面を押さえるように更に制御する、
請求項1に記載の制御システム。
【請求項5】
前記プロセッサは、前記用紙束の用紙の厚さ及び紙種の少なくとも1つを更に取得し、
前記用紙の厚さ及び紙種の少なくとも1つに応じて、前記別の押さえ部が押さえる上面の位置を変更する、
請求項4に記載の制御システム。
【請求項6】
前記用紙束の用紙が第1用紙のときの前記別の押さえ部と前記カウンタとの距離は、厚さが前記第1用紙よりも大きい第2用紙のときの前記別の押さえ部と前記カウンタとの距離よりも短い、
請求項5に記載の制御システム。
【請求項7】
前記複数の押さえ部の少なくとも一方の押さえ部は、当該押さえ部と前記カウンタとの距離が最も短くなる側面の位置を押さえる、
請求項1に記載の制御システム。
【請求項8】
用紙のサイズ、枚数、紙種、及び厚さを含む属性情報を説明変数とし、前記複数の押さえ部の各々が押さえる側面の位置を目的変数とする学習データを機械学習することにより生成された学習済みモデルを更に備え、
前記プロセッサは、前記用紙束の用紙に関する属性情報を前記学習済みモデルに入力し、前記学習済みモデルから、前記複数の押さえ部の各々が押さえる側面の位置を取得する、
請求項1に記載の制御システム。
【請求項9】
前記複数の押さえ部は、前記用紙束の用紙を把持可能な複数のアームであり、
前記プロセッサは、前記複数のアームにより前記隣り合う2つの側面を押さえながら前記カウンタにより予め定めた枚数の用紙をカウントした後に、前記予め定めた枚数の用紙を把持するように前記複数のアームを制御する、
請求項1~請求項8の何れか1項に記載の制御システム。
【請求項10】
前記プロセッサは、前記カウンタにより前記用紙束の用紙の枚数を全てカウントした後に、新たな用紙束をセットする際の妨げにならないように前記カウンタを当てている位置から前記カウンタを退避させる、
請求項9に記載の制御システム。
(【請求項11】以降は省略されています)
発明の詳細な説明
【技術分野】
【0001】
本開示は、制御システム及び制御プログラムに関する。
続きを表示(約 1,300 文字)
【背景技術】
【0002】
例えば、特許文献1には、枚葉印刷機の排紙部に設けられ、昇降パイル上に積み重ねられた刷本の移送方向に対して側方への紙流れを防止する枚葉印刷機排紙部の紙流れ防止装置が記載されている。この紙流れ防止装置には、板取り作業時に下降位置にある昇降パイル上の刷本の側面を規制する紙押え部材が設けられている。
【先行技術文献】
【特許文献】
【0003】
特開平5-139606号公報
【発明の概要】
【発明が解決しようとする課題】
【0004】
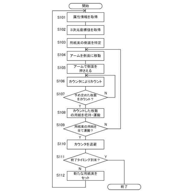
ところで、用紙束を後処理装置に運搬する際にロボットアーム(以下、「アーム」という。)を利用して運搬を行う場合がある。この際、全ての用紙束を一度に運ぶのは難しいため、一定枚数の用紙をカウントしたうえで、アームに把持させている。
【0005】
用紙束の枚数のカウントにはディスク型のカウンタが利用され、ディスクを回転させながら用紙と用紙の間に滑り込ませることで用紙を一枚一枚カウントしている。
【0006】
ある程度の速度で用紙をカウントしようとした場合、ディスクと用紙との間の摩擦によって、用紙が引っ張られ、用紙束の山が崩れる可能性がある。用紙が引っ張られないようにする簡単な対策として、カウンタを当てる側面以外の側面を壁で囲ってしまうことが考えられる。しかしながら、側面を壁で囲ってしまうと、用紙束をアームが把持する動作の妨げになる場合がある。
【0007】
本開示は、用紙束をアームが把持する動作を妨げることなく、用紙束を押さえながら用紙束の用紙の枚数をカウントすることができる制御システム及び制御プログラムを提供することを目的とする。
【課題を解決するための手段】
【0008】
上記目的を達成するために、第1態様に係る制御システムは、プロセッサを備え、前記プロセッサは、用紙の束である用紙束の用紙のサイズを取得し、カウンタを用いて前記用紙束の用紙の枚数をカウントする前に、前記用紙のサイズに応じて、複数の押さえ部の各々を、前記用紙束の複数の側面のうち前記カウンタを当てる側面を除く隣り合う2つの側面の各々に移動させ、前記カウンタがカウントしている間、前記複数の押さえ部の各々が前記隣り合う2つの側面の各々を押さえるように制御する。
【0009】
また、第2態様に係る制御システムは、第1態様に係る制御システムにおいて、前記プロセッサは、前記用紙束の用紙の厚さ及び紙種の少なくとも1つを更に取得し、前記用紙の厚さ及び紙種の少なくとも1つに応じて、前記複数の押さえ部の各々が押さえる側面の位置を変更する。
【0010】
また、第3態様に係る制御システムは、第2態様に係る制御システムにおいて、前記用紙束の用紙が第1用紙のときの前記押さえ部と前記カウンタとの距離は、厚さが前記第1用紙よりも大きい第2用紙のときの前記押さえ部と前記カウンタとの距離よりも短い。
(【0011】以降は省略されています)
この特許をJ-PlatPat(特許庁公式サイト)で参照する
関連特許
個人
束ね具
28日前
個人
収容箱
4か月前
個人
コンベア
6か月前
個人
段ボール箱
8か月前
個人
ゴミ収集器
8か月前
個人
段ボール箱
8か月前
個人
宅配システム
8か月前
個人
バンド
3か月前
個人
角筒状構造体
7か月前
個人
テープ引出機
28日前
個人
楽ちんハンド
6か月前
個人
包装容器
2か月前
個人
廃棄物収容容器
4か月前
個人
お薬の締結装置
7か月前
個人
棒状体収容容器
1か月前
個人
積み重ね用補助具
4か月前
個人
貯蔵サイロ
8か月前
株式会社バンダイ
物品
2か月前
株式会社和気
包装用箱
1か月前
個人
把手付米袋
6か月前
株式会社コロナ
梱包材
7か月前
個人
蓋閉止構造
5か月前
個人
蓋閉止構造
5か月前
個人
介護用コップ
3か月前
株式会社新弘
容器
4か月前
株式会社KY7
封止装置
4か月前
個人
輸送積荷用動吸振器
7か月前
三甲株式会社
容器
1か月前
三甲株式会社
容器
7か月前
三甲株式会社
容器
3か月前
個人
袋入り即席麺
8か月前
個人
コード折り畳み器具
5か月前
三甲株式会社
容器
7か月前
株式会社ナベル
検査装置
1か月前
三甲株式会社
蓋体
9か月前
個人
搬送システム
8か月前
続きを見る
他の特許を見る