TOP
|
特許
|
意匠
|
商標
特許ウォッチ
Twitter
他の特許を見る
10個以上の画像は省略されています。
公開番号
2025177695
公報種別
公開特許公報(A)
公開日
2025-12-05
出願番号
2024084746
出願日
2024-05-24
発明の名称
測定装置及びユニット
出願人
日置電機株式会社
代理人
弁理士法人後藤特許事務所
主分類
G01D
11/24 20060101AFI20251128BHJP(測定;試験)
要約
【課題】追加構造などを設けることなく、所定のユニットの他のユニット間への配置を抑制可能とすることを目的とする。
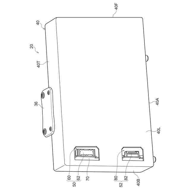
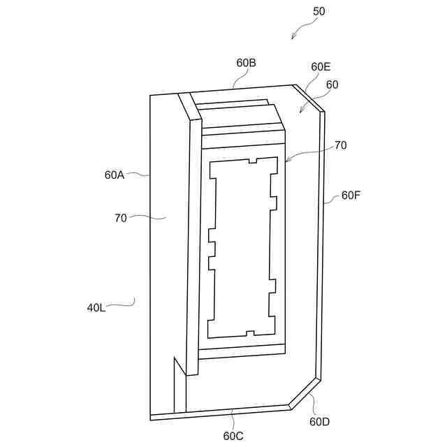
【解決手段】測定装置10は、第一左側面40Lに第一側面コネクタ(50、52)が設けられ、第一右側面40Rに第一他側面コネクタ(90、92)が設けられた第一ユニット20を備える。測定装置10は、第二左側面200Lに第二側面コネクタ(210、212)が設けられ、第二右側面200Rに第二他側面コネクタ(260、262)が設けられた第二ユニット22を備える。第一他側面コネクタ(90、92)は、第一側面コネクタ(50、52)と第二側面コネクタ(210、212)とに接続可能に構成される。第二他側面コネクタ(260、262)は、第二側面コネクタ(210、212)に接続可能であるが、第一側面コネクタ(50、52)には接続不能に構成される。
【選択図】図13
特許請求の範囲
【請求項1】
測定装置であって、
一側面に第一側面コネクタが設けられ、前記第一側面コネクタが設けられた一側面とは別の他側面に第一他側面コネクタが設けられた第一ユニットと、
一側面に第二側面コネクタが設けられ、前記第二側面コネクタが設けられた一側面とは別の他側面に第二他側面コネクタが設けられた第二ユニットと、
を備え、
前記第一他側面コネクタは、前記第一側面コネクタと前記第二側面コネクタとに接続可能に構成され、
前記第二他側面コネクタは、前記第二側面コネクタに接続可能であるが、前記第一側面コネクタには接続不能に構成されている、
測定装置。
続きを表示(約 1,800 文字)
【請求項2】
請求項1に記載の測定装置であって、
前記第一側面コネクタは、互いに接続可能な凸部構造及び凹部構造の一方を有するとともに、前記第一他側面コネクタは、互いに接続可能な凸部構造及び凹部構造の他方を有し、
前記第二側面コネクタは、互いに接続可能な凸部構造及び凹部構造の一方を有するとともに、前記第二他側面コネクタは、互いに接続可能な凸部構造及び凹部構造の他方を有する、
測定装置。
【請求項3】
請求項1に記載の測定装置であって、
前記第一側面コネクタ、前記第一他側面コネクタ、前記第二側面コネクタ、及び前記第二他側面コネクタは、電気的コネクタを備え、
前記第一他側面コネクタは、電気的コネクタを介して前記第一側面コネクタと前記第二側面コネクタとに電気的に接続可能であり、
前記第二他側面コネクタは、電気的コネクタを介して前記第二側面コネクタに電気的に接続可能である、
測定装置。
【請求項4】
請求項1に記載の測定装置であって、
前記第一他側面コネクタと前記第二他側面コネクタとに接続可能な第三側面コネクタが設けられた一側面を有するとともに、
前記第三側面コネクタが設けられた一側面とは別の他側面であって、前記第一側面コネクタ、前記第二側面コネクタ、及び前記第三側面コネクタと接続可能なコネクタを具備しない他側面を有した第三ユニットをさらに備える、
測定装置。
【請求項5】
請求項2に記載の測定装置であって、
前記第二他側面コネクタは、外側に突出する突起部が外面に設けられた凸部構造を有し、
前記第二側面コネクタは、前記突起部を挿入可能な溝部が内側に形成された凹部構造を有し、
前記第一他側面コネクタは、前記突起部を具備しない凸部構造を有し、
前記第一側面コネクタは、前記溝部を具備しない凹部構造を有する、
測定装置。
【請求項6】
一側面に第一側面コネクタが設けられ、前記第一側面コネクタが設けられた一側面とは別の他側面に第一他側面コネクタが設けられた他のユニットに、接続可能なユニットであって、
前記他のユニットは、一側面に第二側面コネクタが設けられ、前記第二側面コネクタが設けられた一側面とは別の他側面に第二他側面コネクタが設けられ、
前記第二側面コネクタは、前記第一他側面コネクタと前記第二他側面コネクタとに接続可能に構成され、
前記第二他側面コネクタは、前記第二側面コネクタに接続可能であるが、前記第一側面コネクタには接続不能に構成されている、
ユニット。
【請求項7】
請求項6に記載のユニットであって、
前記第一側面コネクタは、互いに接続可能な凸部構造及び凹部構造の一方を有するとともに、前記第一他側面コネクタは、互いに接続可能な凸部構造及び凹部構造の他方を有し、
前記第二側面コネクタは、互いに接続可能な凸部構造及び凹部構造の一方を有するとともに、前記第二他側面コネクタは、互いに接続可能な凸部構造及び凹部構造の他方を有する、
ユニット。
【請求項8】
請求項6に記載のユニットであって、
前記第一側面コネクタ、前記第一他側面コネクタ、前記第二側面コネクタ、及び前記第二他側面コネクタは、電気的コネクタを備え、
前記第一他側面コネクタは、電気的コネクタを介して前記第一側面コネクタと前記第二側面コネクタとに電気的に接続可能であり、
前記第二他側面コネクタは、電気的コネクタを介して前記第二側面コネクタに電気的に接続可能である、
ユニット。
【請求項9】
請求項7に記載のユニットであって、
前記第二他側面コネクタは、外側に突出する突起部が外面に設けられた凸部構造を有し、
前記第二側面コネクタは、前記突起部を挿入可能な溝部が内側に形成された凹部構造を有し、
前記第一他側面コネクタは、前記突起部を具備しない凸部構造を有し、
前記第一側面コネクタは、前記溝部を具備しない凹部構造を有する、
ユニット。
発明の詳細な説明
【技術分野】
【0001】
本発明は、測定装置及びユニットに関する。
続きを表示(約 1,000 文字)
【背景技術】
【0002】
特許文献1には、複数のユニットで構成された測定装置が示されている。
【0003】
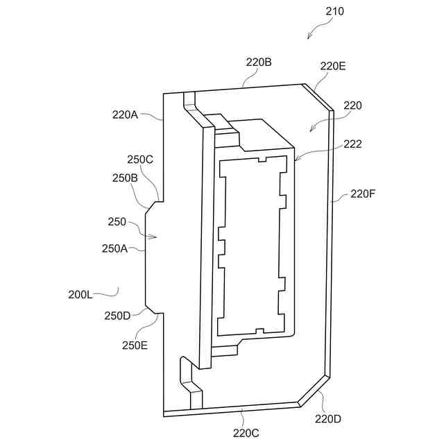
測定装置は、隣接した一方のユニットの突条が他方のユニットの溝に嵌合されることで、隣接したユニット同士が連結される。
【先行技術文献】
【特許文献】
【0004】
特開平5-079865号公報
【発明の概要】
【発明が解決しようとする課題】
【0005】
このような測定装置は、例えば発熱し易いユニット及び熱の影響を受け易いユニット等を含んで構成される場合がある。
【0006】
この場合、測定装置は、例えば出荷時において、熱の影響を受け易いユニットが発熱し易いユニット間に配置されないように、ユニットの使用者に接続順の注意を促したり、ユニットに接続順を定める為の追加構造を設けたりする必要があった。
【0007】
本発明は、上記の問題点に鑑みてなされたものであり、ユニットに追加構造などを設けることなく、所定のユニットの他のユニット間への配置を抑制可能とすることを目的とする。
【課題を解決するための手段】
【0008】
本発明のある態様の測定装置は、一側面に第一側面コネクタが設けられ、前記第一側面コネクタが設けられた一側面とは別の他側面に第一他側面コネクタが設けられた第一ユニットと、一側面に第二側面コネクタが設けられ、前記第二側面コネクタが設けられた一側面とは別の他側面に第二他側面コネクタが設けられた第二ユニットと、を備え、前記第一他側面コネクタは、前記第一側面コネクタと前記第二側面コネクタとに接続可能に構成され、前記第二他側面コネクタは、前記第二側面コネクタと接続可能であるが前記第一側面コネクタとは接続不能に構成される。
【発明の効果】
【0009】
この態様において、第一ユニットの第一他側面コネクタは、第一ユニットの第一側面コネクタと第二ユニットの第二側面コネクタとに接続可能に構成されており、第二ユニットの第二他側面コネクタは、第二側面コネクタに接続可能に構成されている。
【0010】
このため、第一ユニットは、隣接して複数接続することができる。また、第二ユニットは、隣接して複数接続することができる。さらに、第一ユニットは、他側面側に第二ユニットを接続することができる。
(【0011】以降は省略されています)
この特許をJ-PlatPat(特許庁公式サイト)で参照する
関連特許
日置電機株式会社
絶縁抵抗測定装置
1日前
日置電機株式会社
測定装置及びユニット
1日前
日置電機株式会社
絶縁抵抗測定装置及び絶縁抵抗測定方法
10日前
日置電機株式会社
絶縁抵抗測定装置及び絶縁抵抗測定方法
29日前
日置電機株式会社
測定装置、温度ユニット及び電力ユニット
1日前
日置電機株式会社
校正方法、測定装置、及びインダクタの検査方法
1か月前
日置電機株式会社
測定装置、認証装置、情報処理装置、および認証方法
1か月前
日置電機株式会社
分圧回路、測定装置及び基板回路、並びに分圧回路の製造方法
1か月前
日置電機株式会社
電流測定装置、インピーダンス測定装置、電流測定方法およびインピーダンス測定方法
29日前
日置電機株式会社
測定装置、測定方法、及びプログラム
3か月前
個人
視触覚センサ
1日前
日本精機株式会社
検出装置
1か月前
個人
採尿及び採便具
1か月前
個人
計量機能付き容器
26日前
甲神電機株式会社
電流検出装置
1か月前
株式会社ミツトヨ
測定器
1か月前
日本精機株式会社
発光表示装置
9日前
株式会社カクマル
境界杭
16日前
株式会社トプコン
測量装置
8日前
ユニパルス株式会社
トルク変換器
1日前
ユニパルス株式会社
トルク変換器
1日前
ユニパルス株式会社
トルク変換器
1日前
アズビル株式会社
電磁流量計
1か月前
大成建設株式会社
風洞実験装置
26日前
日本特殊陶業株式会社
ガスセンサ
2日前
日本特殊陶業株式会社
ガスセンサ
24日前
個人
計量具及び計量機能付き容器
26日前
日本特殊陶業株式会社
ガスセンサ
1日前
個人
非接触による電磁パルスの測定方法
29日前
個人
システム、装置及び実験方法
1か月前
愛知時計電機株式会社
ガスメータ
1か月前
日本信号株式会社
距離画像センサ
29日前
日本特殊陶業株式会社
ガスセンサ
8日前
大和製衡株式会社
組合せ計量装置
1か月前
大和製衡株式会社
組合せ計量装置
1か月前
愛知電機株式会社
軸部材の外観検査装置
1か月前
続きを見る
他の特許を見る