TOP
|
特許
|
意匠
|
商標
特許ウォッチ
Twitter
他の特許を見る
10個以上の画像は省略されています。
公開番号
2025177680
公報種別
公開特許公報(A)
公開日
2025-12-05
出願番号
2024084725
出願日
2024-05-24
発明の名称
測定装置、温度ユニット及び電力ユニット
出願人
日置電機株式会社
代理人
弁理士法人後藤特許事務所
主分類
G01R
22/06 20060101AFI20251128BHJP(測定;試験)
要約
【課題】温度の測定精度を確保しつつ温度測定及び電力測定のチャネル数を自由に変更可能な測定装置、温度ユニット及び電力ユニットを提供する。
【解決手段】測定装置10は、温度の検出信号を取得する温度検出部201を有する温度ユニット20と、電流及び電圧の検出信号を取得する電力ユニット22と、を含む。温度ユニット20及び電力ユニット22には、温度ユニット20同士及び電力ユニット22同士が互いに連結可能であると共に、温度ユニット20と電力ユニット22とが互いに連結可能である2つのコネクタ5が設けられている。
【選択図】図1
特許請求の範囲
【請求項1】
複数のユニットを連結可能な測定装置であって、
温度の検出信号を取得する温度ユニットと、
電流及び電圧の検出信号を取得する電力ユニットと、を含み、
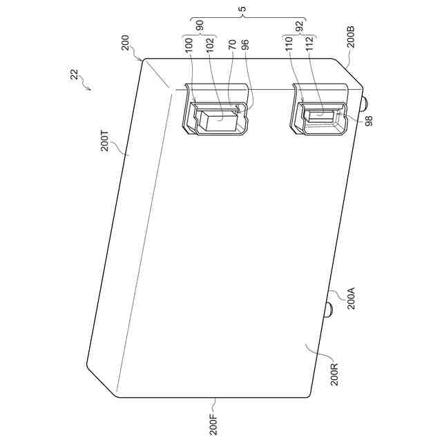
前記温度ユニット及び前記電力ユニットには、前記温度ユニット同士及び前記電力ユニット同士が互いに連結可能であると共に、前記温度ユニットと前記電力ユニットとが互いに連結可能である2つのコネクタが設けられている、
測定装置。
続きを表示(約 1,400 文字)
【請求項2】
請求項1に記載の測定装置であって、
前記コネクタは、前記温度ユニット同士及び前記電力ユニット同士が互いに電気的に接続可能なコネクタであり、かつ、前記温度ユニットと前記電力ユニットとが互いに電気的に接続可能なコネクタである、
測定装置。
【請求項3】
請求項2に記載の測定装置であって、
前記温度ユニット及び前記電力ユニットが取得する前記検出信号は、前記コネクタを介して同期して取得される、
測定装置。
【請求項4】
請求項1に記載の測定装置であって、
前記コネクタは、前記温度ユニット及び前記電力ユニットの各筐体の対向する一側面及び他側面に設けられる、
測定装置。
【請求項5】
請求項1に記載の測定装置であって、
前記温度ユニット及び前記電力ユニットが取得した検出量にかかる情報を収集し、収集した前記検出量にかかる情報を外部に出力する収集ユニットをさらに含み、
前記収集ユニットの筐体側面には、前記収集ユニットと前記温度ユニット又は前記電力ユニットとを互いに連結可能なコネクタが設けられ、
一又は複数の前記温度ユニットと一又は複数の前記電力ユニットと前記収集ユニットとが連結されている、
測定装置。
【請求項6】
請求項1に記載の測定装置であって、
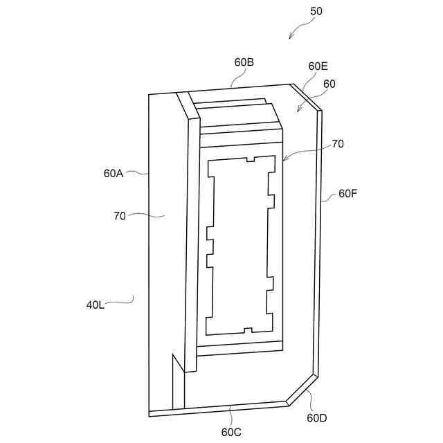
前記温度ユニットのコネクタは、前記温度ユニットの一側面に設けられる第一側面コネクタと、前記温度ユニットの一側面とは別の他側面に設けられる第一他側面コネクタと、を有し、
前記電力ユニットのコネクタは、前記電力ユニットの一側面に設けられる第二側面コネクタと、前記電力ユニットの一側面とは別の他側面に設けられる第二他側面コネクタと、を有し、
前記第一側面コネクタ及び前記第二側面コネクタは、前記第一他側面コネクタ及び前記第二他側面コネクタに対して接続可能に構成される、
測定装置。
【請求項7】
請求項6に記載の測定装置であって、
前記第一側面コネクタは、互いに接続可能な凸部構造及び凹部構造の一方を有するとともに、前記第一他側面コネクタは、互いに接続可能な凸部構造及び凹部構造の他方を有し、
前記第二側面コネクタは、互いに接続可能な凸部構造及び凹部構造の一方を有するとともに、前記第二他側面コネクタは、互いに接続可能な凸部構造及び凹部構造の他方を有する、
測定装置。
【請求項8】
請求項7に記載の測定装置であって、
前記凸構造及び前記凹構造は、それぞれ特定ユニットの筐体側面に設けられる凹構造及び凸構造とは接続不能である、
測定装置。
【請求項9】
請求項2に記載の測定装置であって、
前記温度ユニット及び前記電力ユニットの各筐体側面には、前記コネクタとして、前記温度ユニット及び前記電力ユニットが収集した検出量を示す信号を伝達するための信号コネクタと、電力を伝送するための電力コネクタと、が設けられる、
測定装置。
【請求項10】
測定装置に備えられ、温度の検出信号を取得する温度ユニットであって、
前記温度ユニットに設けられる2つのコネクタは、電流及び電圧の検出信号を取得する電力ユニットに設けられる2つのコネクタに対して連結可能に構成される、
温度ユニット。
(【請求項11】以降は省略されています)
発明の詳細な説明
【技術分野】
【0001】
本発明は、測定装置、温度ユニット及び電力ユニットに関する。
続きを表示(約 1,400 文字)
【背景技術】
【0002】
特許文献1には、AC電源を直流に変換したDC電源を検出する電流電圧検出器と、環境温度を感知する温度センサと、電圧値、電流値および環境温度に基づきAC電源の消費電力を得る処理器と、がシステム回路板上に配置された測定装置が開示されている。
【0003】
また、特許文献2には、電力を測定できる測定ユニット及び温度を測定できる測定ユニットの装着が可能な測定装置が開示されている。
【先行技術文献】
【特許文献】
【0004】
特開2013-221944号公報
特開2014-219744号公報
【発明の概要】
【発明が解決しようとする課題】
【0005】
特許文献1に記載の測定装置では、電流電圧検出器と温度検出部に相当する温度センサとが同じ筐体内の同じ回路基板上に配置された構成であるため、電力及び温度を検出するためのチャネル数が制限されてしまう。そのため、一台の測定装置では電力及び温度を検出するためのチャネル数が足りない場合は、複数台の測定装置を用意し、その複数台の測定装置を互いに接続して電力及び温度を測定しなければならない。
【0006】
また、特許文献2に記載の測定装置では、温度又は電力の測定ユニットを装着部に装着する構成であるため、測定装置の筐体に測定装置の筐体の測定ユニットを装着できる装着部の数にチャンネル数が制限されてしまう。そのため、電力又は温度を検出するためのチャネル数が足りない場合は、必要な数のチャネル数を満たせるだけの測定ユニットを装着できる装着部を持つ測定装置の筐体を用意しなければならない。
【0007】
加えて、必要な数を大きく超えた測定ユニットを装着できる装着部を持つ測定装置は、重くなったり大きくなったりして可搬性や設置性が悪い。それゆえ、目的の電力及び温度を検出するためのチャネル数に合わせて必要な数又は必要な数を少し超える程度の測定ユニットを装着できる装着部を持つ測定装置の筐体が求められるため、測定対象の数に合わせて複数の測定装置の筐体を用意しなければならない。
【0008】
また、温度検出部は、測定精度を高くするために温度を一定にすることが求められるが、電流電圧検出器を同じ筐体内に配置すると、電流電圧検出器が高電圧や大電流等を検出する際に発生する熱によって温度を一定にできず、温度の測定精度が低下するおそれがある。
【0009】
本発明は、上記の問題点に鑑みてなされたものであり、温度の測定精度を確保しつつ、温度測定及び電力測定のチャネル数を自由に変更可能な測定装置、温度ユニット及び電力ユニットを提供することを目的とする。
【課題を解決するための手段】
【0010】
本発明のある態様において、複数のユニットを連結可能な測定装置は、温度の検出信号を取得する温度ユニットと、電流及び電圧の検出信号を取得する電力ユニットと、を含む。そして、前記温度ユニット及び電力ユニットには、温度ユニット同士及び電力ユニット同士が互いに連結可能であると共に、温度ユニットと電力ユニットが互いに連結可能である2つのコネクタが設けられている。
【発明の効果】
(【0011】以降は省略されています)
この特許をJ-PlatPat(特許庁公式サイト)で参照する
関連特許
日置電機株式会社
絶縁抵抗測定装置
今日
日置電機株式会社
測定装置及びユニット
今日
日置電機株式会社
絶縁抵抗測定装置及び絶縁抵抗測定方法
9日前
日置電機株式会社
絶縁抵抗測定装置及び絶縁抵抗測定方法
28日前
日置電機株式会社
測定装置、温度ユニット及び電力ユニット
今日
日置電機株式会社
校正方法、測定装置、及びインダクタの検査方法
1か月前
日置電機株式会社
測定装置、認証装置、情報処理装置、および認証方法
1か月前
日置電機株式会社
分圧回路、測定装置及び基板回路、並びに分圧回路の製造方法
1か月前
日置電機株式会社
電流測定装置、インピーダンス測定装置、電流測定方法およびインピーダンス測定方法
28日前
個人
視触覚センサ
今日
日本精機株式会社
検出装置
1か月前
個人
採尿及び採便具
1か月前
個人
計量機能付き容器
25日前
株式会社カクマル
境界杭
15日前
甲神電機株式会社
電流検出装置
1か月前
日本精機株式会社
発光表示装置
8日前
株式会社ミツトヨ
測定器
1か月前
株式会社トプコン
測量装置
7日前
ユニパルス株式会社
トルク変換器
今日
ユニパルス株式会社
トルク変換器
今日
ユニパルス株式会社
トルク変換器
今日
アズビル株式会社
電磁流量計
1か月前
大成建設株式会社
風洞実験装置
25日前
日本信号株式会社
距離画像センサ
28日前
個人
システム、装置及び実験方法
1か月前
日本特殊陶業株式会社
ガスセンサ
1日前
日本特殊陶業株式会社
ガスセンサ
23日前
個人
非接触による電磁パルスの測定方法
28日前
愛知電機株式会社
軸部材の外観検査装置
1か月前
大和製衡株式会社
組合せ計量装置
1か月前
日本特殊陶業株式会社
ガスセンサ
7日前
日本特殊陶業株式会社
ガスセンサ
今日
大和製衡株式会社
組合せ計量装置
1か月前
愛知時計電機株式会社
ガスメータ
1か月前
個人
計量具及び計量機能付き容器
25日前
双庸電子株式会社
誤配線検査装置
1か月前
続きを見る
他の特許を見る