TOP
|
特許
|
意匠
|
商標
特許ウォッチ
Twitter
他の特許を見る
10個以上の画像は省略されています。
公開番号
2025160578
公報種別
公開特許公報(A)
公開日
2025-10-23
出願番号
2024063190
出願日
2024-04-10
発明の名称
測定装置、認証装置、情報処理装置、および認証方法
出願人
日置電機株式会社
代理人
アインゼル・フェリックス=ラインハルト
,
個人
,
個人
,
個人
主分類
G06F
21/62 20130101AFI20251016BHJP(計算;計数)
要約
【課題】測定装置が備える機能の有効化の新たな仕組みを提供する。
【解決手段】測定装置2は、第1トークン122をランダムに生成し、記憶部12に記憶するトークン管理部16と、制限の解除が許可された機能の機能識別情報303と、第2トークン302とを少なくとも含み、所定の暗号化方式に基づいて暗号化された解除キー301を取得するデータ取得部17と、解除キー301を暗号鍵情報120に基づいて復号する復号部18と、復号された解除キー301に含まれる第2トークン302が第1トークン122と一致するか否かを判定する判定部19と、第2トークン302が第1トークン122と一致すると判定された場合に、解除キー301に含まれる機能識別情報303によって特定される機能の制限を解除する。
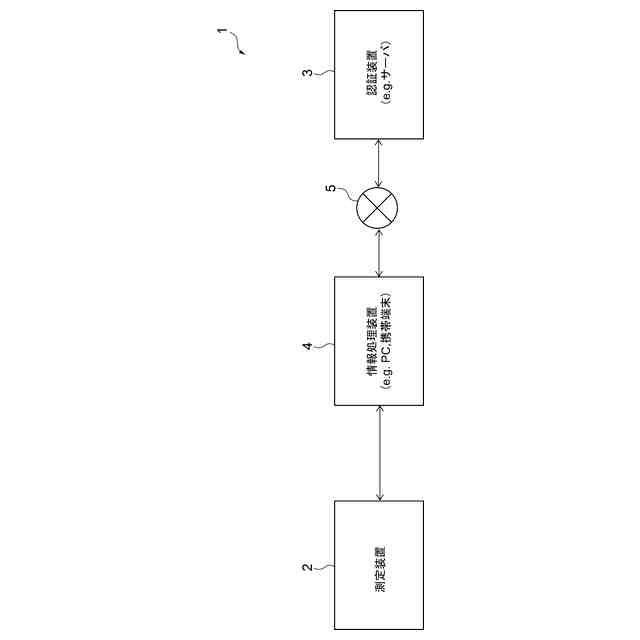
【選択図】図2
特許請求の範囲
【請求項1】
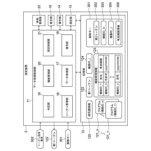
複数の機能を備えた測定装置であって、
前記機能を実現するためのプログラムと、所定の暗号化方式に対応する暗号鍵情報とを記憶する記憶部と、
測定対象物に関する物理量を測定する測定部と、
前記記憶部に記憶された前記プログラムを実行することにより前記測定部を制御するとともに、前記機能の制限と前記機能の制限の解除とを切り替えるデータ処理制御部と、を有し、
前記データ処理制御部は、
認証に関する情報である第1トークンをランダムに生成し、前記記憶部に記憶するトークン管理部と、
前記機能を識別するための情報である機能識別情報のうち制限の解除が許可された前記機能の機能識別情報と、前記認証に関する情報である第2トークンとを少なくとも含み、前記所定の暗号化方式に基づいて暗号化された解除キーを取得するデータ取得部と、
前記データ取得部によって取得した前記解除キーを前記暗号鍵情報に基づいて復号する復号部と、
前記復号部によって復号された前記解除キーに含まれる前記第2トークンが前記記憶部に記憶されている前記第1トークンと一致するか否かを判定する判定部と、
前記第2トークンが前記第1トークンと一致すると判定された場合に、前記解除キーに含まれる前記機能識別情報によって特定される前記機能の制限を解除し、前記第2トークンが前記第1トークンと一致しないと判定された場合に、前記解除キーに含まれる前記機能識別情報によって特定される前記機能の制限を解除しない機能管理部と、
制限が解除された前記機能に対応する前記プログラムを実行し、制限された前記機能に対応する前記プログラムを実行しないことにより、前記測定部を制御する測定制御部と、を含む
測定装置。
続きを表示(約 2,400 文字)
【請求項2】
請求項1に記載の測定装置において、
前記トークン管理部は、前記解除キーに基づいて前記機能の制限が解除された場合に、前記記憶部に記憶されている前記第1トークンを削除する
測定装置。
【請求項3】
請求項2に記載の測定装置において、
前記測定装置における時刻を管理する時刻管理部を更に有し、
前記解除キーは、前記機能の制限を解除可能な期間の終期を示す有効期限の情報である有効期限情報を含み、
前記機能管理部は、前記時刻管理部によって管理されている時刻が前記有効期限情報に基づく前記有効期限に到達した場合に、前記解除キーに基づいて制限を解除した前記機能を制限する
測定装置。
【請求項4】
請求項3に記載の測定装置において、
前記機能管理部は、前記時刻管理部によって管理されている時刻が変更された場合に、前記解除キーに基づいて制限を解除した前記機能を制限する
測定装置。
【請求項5】
請求項1に記載の測定装置において、
前記解除キーは、機器を識別するための情報である機器識別情報を含み、
前記記憶部は、前記測定装置自身を示す前記機器識別情報を記憶し、
前記判定部は、前記復号部によって復号された前記解除キーに含まれる前記機器識別情報が前記記憶部に記憶されている前記機器識別情報と一致するか否かを判定し、
前記機能管理部は、前記解除キーに含まれる前記機器識別情報が前記記憶部に記憶されている前記機器識別情報と一致し、且つ前記第2トークンが前記第1トークンと一致すると判定された場合に、前記解除キーに含まれる前記機能識別情報によって特定される前記機能の制限を解除する
測定装置。
【請求項6】
請求項1に記載の測定装置において、
前記トークン管理部は、外部から前記第1トークンの送信要求を受け取った場合に、前記記憶部に記憶されている前記第1トークンを読み出して前記外部に出力する
測定装置。
【請求項7】
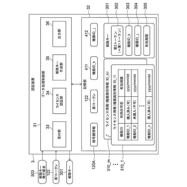
複数の機能を備えた測定装置の前記機能の制限の有無を管理する認証装置であって、
管理対象の機器を識別するための情報である機器識別情報と、前記機能ごとに付与され前記機能を識別するための情報である機能識別情報と、前記機能ごとに付与され前記機能が利用可能であるか否かを示す情報とが対応づけられた情報であるライセンス情報を記憶する記憶部と、
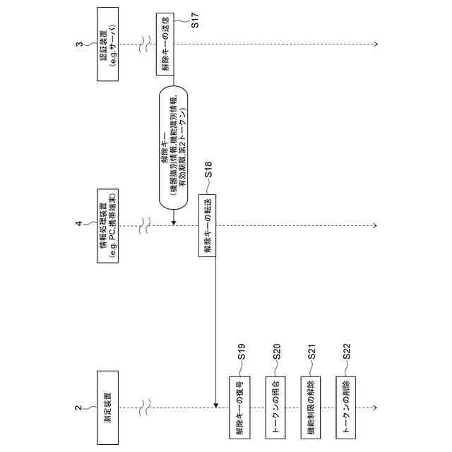
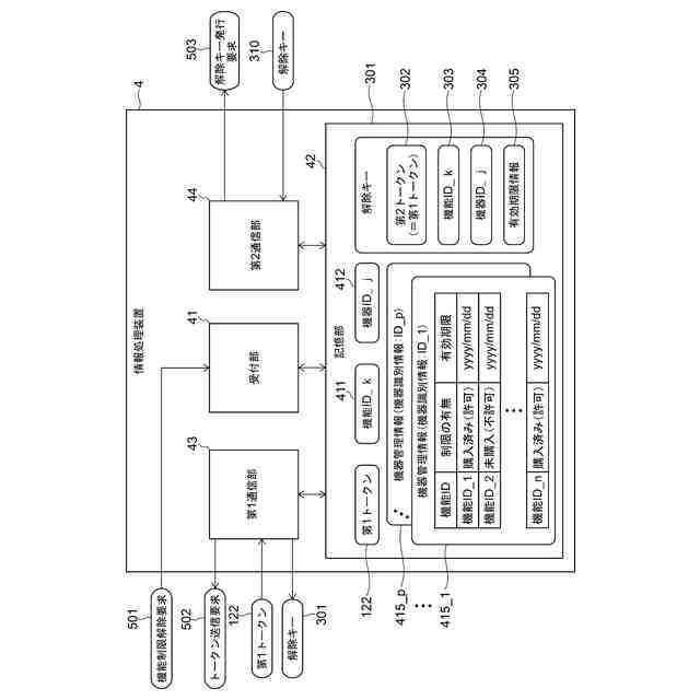
前記機能の制限を解除するための解除キーの発行を求める解除キー発行要求と、前記機能の制限の解除対象の前記測定装置を示す前記機器識別情報と、制限の解除対象である前記機能の前記機能識別情報と、認証に関する情報であるトークンとを受け付ける受付部と、
前記受付部が前記解除キー発行要求を受け付けた場合に、前記受付部が受け付けた前記機器識別情報によって特定される前記測定装置に対応する前記ライセンス情報を参照して、前記受付部が受け付けた前記機能識別情報によって特定される前記機能が利用可能であるか否かを判定するライセンス認証部と、
前記機能が利用可能と判定された場合に、制限の解除を許可する前記機能の前記機能識別情報と、前記受付部が受け付けた前記トークンとを少なくとも含むデータセットを所定の暗号化方式に基づいて暗号化することにより、前記解除キーを生成する解除キー生成部と、
前記解除キー生成部によって生成された前記解除キーを出力する出力部と、を有する
認証装置。
【請求項8】
請求項7に記載の認証装置において、
前記ライセンス情報は、前記機能の制限を解除可能な期間の終期を示す有効期限の情報である有効期限情報を含み、
前記データセットは、前記有効期限情報を更に含む
認証装置。
【請求項9】
請求項8に記載の認証装置において、
前記データセットは、前記機能の制限の解除対象の前記測定装置を示す前記機器識別情報を含む
認証装置。
【請求項10】
複数の機能を有する測定装置、および前記測定装置の前記機能の制限の有無を管理する認証装置と通信可能な情報処理装置であって、
前記複数の機能のうち前記測定装置において制限されている前記機能の制限の解除を求める機能制限解除要求を受け付ける受付部と、
前記機能制限解除要求を受け付けた場合に、前記機能の制限の解除対象である前記測定装置に対して、認証に関する情報であるトークンの送信を要求するトークン送信要求を送信するとともに、前記トークン送信要求に応じて前記測定装置から送信された前記トークンを受信する第1通信部と、
機器を識別するための情報である機器識別情報のうち前記機能の制限の解除対象である前記測定装置の前記機器識別情報と、前記機能ごとに付与され前記機能を識別するための情報である機能識別情報のうち制限の解除対象である前記機能の前記機能識別情報と、前記第1通信部によって受信した前記トークンとを記憶する記憶部と、
前記機能制限解除要求によって指定された前記機能の制限を解除するための解除キーの発行を要求する解除キー発行要求と、前記記憶部に記憶されている前記トークン、前記機器識別情報、および前記機能識別情報を前記認証装置に対して送信するとともに、前記解除キー発行要求に応じて前記認証装置から送信された前記解除キーを受信する第2通信部と、を有し、
前記第1通信部は、前記第2通信部が受信した前記解除キーを、前記トークンの発行元の前記測定装置に送信する
情報処理装置。
(【請求項11】以降は省略されています)
発明の詳細な説明
【技術分野】
【0001】
本発明は、測定装置、認証装置、情報処理装置、および認証方法に関する。
続きを表示(約 2,000 文字)
【背景技術】
【0002】
従来、電気機器、バッテリ、および電子部品等の測定対象物(DUT:Device Under Test)の電気的特性を測定する測定装置において、測定装置が予め有している種々の機能のうち出荷当初には有効になっていない機能(「拡張機能」とも称する。)を、ユーザが有料オプション(ライセンス)を追加で購入することにより、後から利用できるようにする仕組みが知られている(例えば、特許文献1参照)。
【0003】
例えば、先ず、測定装置を購入したユーザが、測定装置の製造業者等のサービス提供者から、測定装置が有している拡張機能を有効にするための有償オプションを購入する。サービス提供者は、購入された有償オプションに係る拡張機能を有効化するための解除キーを発行し、CD-ROM等の記憶媒体に書き込んだ上でユーザに発送する。ユーザは、受け取ったCD-ROM等に書き込まれた解除キーをUSBメモリ等の記憶媒体にコピーした上で、その記憶媒体を測定装置に接続する。測定装置は、接続された記憶媒体から解除キーを読み取り、解除キーで指定された拡張機能を有効化することにより、ユーザは、測定装置の拡張機能を利用できるようになる。
【先行技術文献】
【特許文献】
【0004】
特許第5791414号公報
【発明の概要】
【発明が解決しようとする課題】
【0005】
特許文献1等に代表される従来の測定装置における機能有効化の仕組みによれば、購入した測定装置をサービス提供者に改めて持ち込む等の手間をかけることなく、所望の拡張機能を後から利用することが可能となる。
【0006】
しかしながら、従来の測定装置における拡張機能の有効化の仕組みでは、測定装置の特定の拡張機能を一旦有効にした後に、サービス提供者側において実質的なライセンス管理を行うことができないため、解除キーの複製等の不正利用を防止することが困難である。例えば、解除キーを複製して他の測定装置に適用する等の不正利用を防止することが困難である。
【0007】
一方で、不正利用を防止するために、サービス提供者側のライセンスを管理するサーバと測定装置とをインターネット等の広域ネットワークを介して常時通信可能な状態にし、サーバ側で測定装置のライセンス状態を監視する手法も考えられる。しかしながら、測定装置はオフラインの環境で使用される場合が多いため、測定装置を常時通信可能な状態にしておくことは現実的ではない。
【0008】
本発明は、上述した課題に鑑みてなされたものであり、測定装置が備える機能の有効化の新たな仕組みを提供することを目的とする。
【課題を解決するための手段】
【0009】
本発明の代表的な実施の形態に係る測定装置は、複数の機能を備えた測定装置であって、前記機能を実現するためのプログラムと、所定の暗号化方式に対応する暗号鍵情報とを記憶する記憶部と、測定対象物に関する物理量を測定する測定部と、前記記憶部に記憶された前記プログラムを実行することにより前記測定部を制御するとともに、前記機能の制限と前記機能の制限の解除とを切り替えるデータ処理制御部と、を有し、前記データ処理制御部は、認証に関する情報である第1トークンをランダムに生成し、前記記憶部に記憶するトークン管理部と、前記機能を識別するための情報である機能識別情報のうち制限の解除が許可された前記機能の機能識別情報と、前記認証に関する情報である第2トークンとを少なくとも含み、前記所定の暗号化方式に基づいて暗号化された解除キーを取得するデータ取得部と、前記データ取得部によって取得した前記解除キーを前記暗号鍵情報に基づいて復号する復号部と、前記復号部によって復号された前記解除キーに含まれる前記第2トークンが前記記憶部に記憶されている前記第1トークンと一致するか否かを判定する判定部と、前記第2トークンが前記第1トークンと一致すると判定された場合に、前記解除キーに含まれる前記機能識別情報によって特定される前記機能の制限を解除し、前記第2トークンが前記第1トークンと一致しないと判定された場合に、前記解除キーに含まれる前記機能識別情報によって特定される前記機能の制限を解除しない機能管理部と、制限が解除された前記機能に対応する前記プログラムを実行し、制限された前記機能に対応する前記プログラムを実行しないことにより、前記測定部を制御する測定制御部と、を含むことを特徴とする。
【発明の効果】
【0010】
本発明に係る測定装置によれば、測定装置が備える機能の有効化の新たな仕組みを提供することが可能となる。
【図面の簡単な説明】
(【0011】以降は省略されています)
この特許をJ-PlatPat(特許庁公式サイト)で参照する
関連特許
日置電機株式会社
絶縁抵抗測定装置及び絶縁抵抗測定方法
15日前
日置電機株式会社
校正方法、測定装置、及びインダクタの検査方法
1か月前
日置電機株式会社
測定装置、認証装置、情報処理装置、および認証方法
1か月前
日置電機株式会社
分圧回路、測定装置及び基板回路、並びに分圧回路の製造方法
1か月前
日置電機株式会社
電流測定装置、インピーダンス測定装置、電流測定方法およびインピーダンス測定方法
15日前
日置電機株式会社
測定装置、測定方法、及びプログラム
2か月前
個人
詐欺保険
1か月前
個人
縁伊達ポイン
1か月前
個人
RFタグシート
26日前
個人
5掛けポイント
15日前
個人
職業自動販売機
8日前
個人
ペルソナ認証方式
23日前
個人
QRコードの彩色
1か月前
個人
地球保全システム
1か月前
個人
情報処理装置
18日前
個人
自動調理装置
25日前
個人
残土処理システム
1か月前
個人
農作物用途分配システム
1か月前
個人
タッチパネル操作指代替具
1か月前
個人
サービス情報提供システム
10日前
個人
インターネットの利用構造
22日前
個人
知的財産出願支援システム
1か月前
個人
携帯端末障害問合せシステム
1か月前
個人
スケジュール調整プログラム
1か月前
株式会社キーエンス
受発注システム
1か月前
個人
エリアガイドナビAIシステム
23日前
個人
食品レシピ生成システム
1か月前
株式会社キーエンス
受発注システム
1か月前
株式会社キーエンス
受発注システム
1か月前
個人
海外支援型農作物活用システム
2か月前
キヤノン株式会社
表示システム
1か月前
エッグス株式会社
情報処理装置
1か月前
個人
音声・通知・再配達UX制御構造
1か月前
キヤノン株式会社
印刷システム
1か月前
個人
帳票自動生成型SaaSシステム
1か月前
株式会社ワコム
電子ペン
17日前
続きを見る
他の特許を見る