TOP
|
特許
|
意匠
|
商標
特許ウォッチ
Twitter
他の特許を見る
10個以上の画像は省略されています。
公開番号
2025177391
公報種別
公開特許公報(A)
公開日
2025-12-05
出願番号
2024084188
出願日
2024-05-23
発明の名称
光無線通信システム
出願人
トヨタ自動車株式会社
代理人
弁理士法人高田・高橋国際特許事務所
主分類
H04B
10/80 20130101AFI20251128BHJP(電気通信技術)
要約
【課題】光無線通信の信号送信源の絶対座標系における位置を推定する光無線通信システムを提供する。
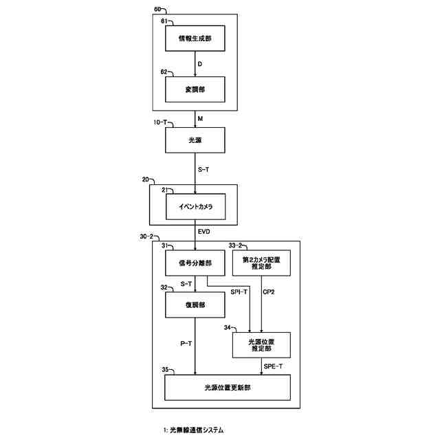
【解決手段】光無線通信システムは、光無線通信信号を送信する光源10-Tと、1以上の受信装置と、1以上の情報処理装置とを備え、受信装置20a、bの各々は、イベントカメラを通して光無線通信信号を受信し、第2情報処理装置30-2は、光源の絶対座標系における位置を推定する光源位置推定を実行する。各受信装置は、対象光無線通信信号を受信したときの、イベントカメラの絶対座標系における位置及び向きを示す第2カメラ推定配置を取得し、イベントカメラにより得られる画像の画像平面座標系における対象光無線通信信号の信号領域を特定することで、対象光源画像位置SPI-Tを取得し、第2カメラ推定配置CP2と対象光源画像位置とに基づいて、対象光源の絶対座標系における推定位置である光源推定位置SPE-Tを取得する。
【選択図】図6
特許請求の範囲
【請求項1】
対象光無線通信信号を送信するように構成された対象光源と、
1以上の受信装置と、
1以上の情報処理装置と
を備え、
前記1以上の受信装置の各々は、
イベントカメラを備え、
前記イベントカメラを通して前記対象光無線通信信号を受信するように構成され、
前記1以上の情報処理装置に含まれる第2情報処理装置は、前記対象光源の絶対座標系における位置を推定する光源位置推定を実行するように構成され、
前記光源位置推定は、
前記各々の受信装置が前記対象光無線通信信号を受信したときの、前記イベントカメラの前記絶対座標系における位置および向きを示す第2カメラ推定配置を取得することと、
前記イベントカメラにより得られる画像の画像平面座標系における前記対象光無線通信信号の信号領域を特定することで、前記対象光源が前記画像平面座標系に投影された位置である対象光源画像位置を取得することと、
前記第2カメラ推定配置と前記対象光源画像位置とに基づいて、前記対象光源の前記絶対座標系における推定位置である光源推定位置を取得することと
を含む
光無線通信システム。
続きを表示(約 980 文字)
【請求項2】
請求項1に記載の光無線通信システムであって、
前記1以上の受信装置は、前記対象光無線通信信号を異なる複数の配置において受信する
光無線通信システム。
【請求項3】
請求項1または2に記載の光無線通信システムであって、
前記絶対座標系における前記対象光源の前記位置を示す対象光源登録位置を格納する記憶装置をさらに備え、
前記第2情報処理装置は、前記光源推定位置と前記対象光源登録位置との間の差異が閾値以上である場合、前記光源推定位置で前記対象光源登録位置を更新するように構成された
光無線通信システム。
【請求項4】
請求項1に記載の光無線通信システムであって、
前記対象光源を含む複数の光源をさらに備え、
前記複数の光源の各々は、光無線通信信号を送信し、
前記光無線通信信号は、前記光無線通信信号の送信元の前記絶対座標系における位置を特定するための位置関連情報を含み、
前記1以上の情報処理装置に含まれる第1情報処理装置は、第1カメラ配置推定を実行するように構成され、
前記第1カメラ配置推定は、
前記イベントカメラにより得られる画像の前記画像平面座標系における前記光無線通信信号の信号領域を特定することで、前記各々の光源が前記画像平面座標系に投影された位置を示す光源画像位置を取得することと、
前記光無線通信信号に含まれる前記位置関連情報に基づいて、前記各々の光源の前記絶対座標系における位置を取得することと、
前記光源画像位置と前記各々の光源の前記絶対座標系における前記位置とに基づいて、前記イベントカメラの前記絶対座標系における位置および向きを示す第1カメラ推定配置を取得することと
を含む
光無線通信システム。
【請求項5】
請求項4に記載の光無線通信システムであって、
前記光源位置推定において、前記第2カメラ推定配置は、前記第1カメラ配置推定とは異なる手法により取得され、
前記第1カメラ推定配置と前記第2カメラ推定配置との間の誤差が閾値を超えた場合、前記第2情報処理装置は、前記光源位置推定を実行するように構成された
光無線通信システム。
発明の詳細な説明
【技術分野】
【0001】
本開示は、光無線通信信号を送信するように構成された光源の絶対位置を推定する光無線通信システムに関連する。
続きを表示(約 1,700 文字)
【背景技術】
【0002】
特許文献1には、可視光を利用して配信情報を配信する通信システムが開示されている。通信システムにおいて、ユーザは、ユーザ端末を可視光の送信源(光源)に向けることによって配信情報を取得する。また、送信源は、配信情報と共に、ユーザ端末の表示画面上における送信源の位置を識別しやすくするための光源特定情報を送信する。ユーザ端末は、光源特定情報を表示画面上に表示する。
【先行技術文献】
【特許文献】
【0003】
特開2014-155085号公報
【発明の概要】
【発明が解決しようとする課題】
【0004】
可視光を含む光無線通信において、信号送信源である光源の絶対座標系における位置が必要な場合がある。特許文献1に記載の通信システムでは、ユーザ端末の表示画面上における光源の位置は識別しやすくはなるが、絶対座標系における光源の位置は特定されていない。
【0005】
本開示の1つの目的は、光無線通信において、信号送信源である光源の絶対座標系における位置を推定する技術を提供することにある。
【課題を解決するための手段】
【0006】
第1の観点は、光無線通信システムに関連する。
光無線通信システムは、
対象光無線通信信号を送信するように構成された対象光源と、
1以上の受信装置と、
1以上の情報処理装置と
を備える。
1以上の受信装置の各々は、
イベントカメラを備え、
イベントカメラを通して対象光無線通信信号を受信するように構成される。
1以上の情報処理装置に含まれる第2情報処理装置は、対象光源の絶対座標系における位置を推定する光源位置推定を実行するように構成される。
光源位置推定は、
各々の受信装置が対象光無線通信信号を受信したときの、イベントカメラの絶対座標系における位置および向きを示す第2カメラ推定配置を取得することと、
イベントカメラにより得られる画像の画像平面座標系における対象光無線通信信号の信号領域を特定することで、対象光源が画像平面座標系に投影された位置である対象光源画像位置を取得することと、
第2カメラ推定配置と対象光源画像位置とに基づいて、対象光源の絶対座標系における推定位置である光源推定位置を取得することと
を含む。
【発明の効果】
【0007】
光無線通信システムでは、第2情報処理装置が光源位置推定を実行することで、対象光源の絶対位置を推定することができる。光源位置推定は、第2カメラ推定配置と光源画像位置とに基づいて実行される。
【図面の簡単な説明】
【0008】
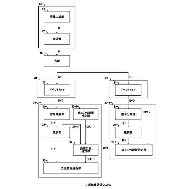
本実施の形態に係る光無線通信システムの概要を示す図である。
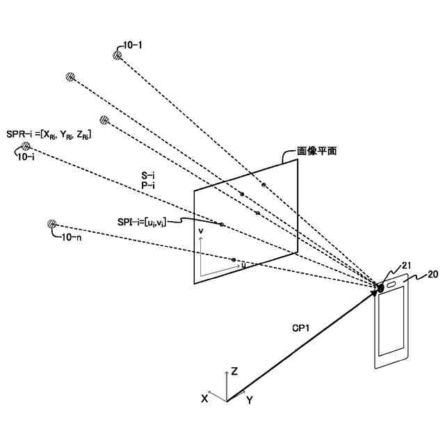
第1カメラ配置推定の概略図である。
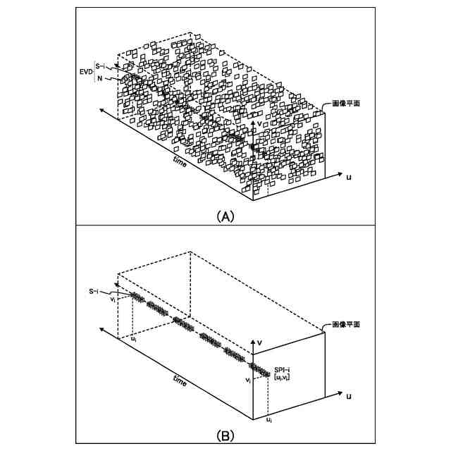
光源画像位置取得の過程を示す概略図である。
光信号およびノイズのデータ周波数を示すグラフである。
光源登録位置取得の例を示すブロック図である。
光源位置推定に関する概略図である。
光源位置推定と第1カメラ配置推定の関係性を示すブロック図である。
光無線通信システムの第1の構成例を示すブロック図である。
光無線通信システムの第2の構成例を示すブロック図である。
光無線通信システムの第3の構成例を示すブロック図である。
【発明を実施するための形態】
【0009】
添付図面を参照して、本開示の実施の形態を説明する。
【0010】
1.基本構成
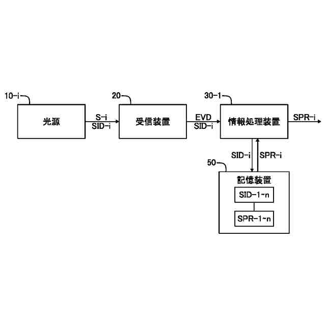
図1は、本実施の形態に係る光無線通信システム1の概要を示す図である。光無線通信システム1は、第1光源10-1と、1以上の受信装置20と、情報処理装置30-1とを含む。1以上の受信装置20は、イベントカメラ21を備える。以下、1以上の受信装置20は、単に、「受信装置20」と表記される。情報処理装置30-1は、第1情報処理装置30-1と呼ぶこともできる。
(【0011】以降は省略されています)
この特許をJ-PlatPat(特許庁公式サイト)で参照する
関連特許
トヨタ自動車株式会社
車両
16日前
トヨタ自動車株式会社
電池
16日前
トヨタ自動車株式会社
電池
22日前
トヨタ自動車株式会社
車両
2日前
トヨタ自動車株式会社
電池
8日前
トヨタ自動車株式会社
電池
8日前
トヨタ自動車株式会社
配管
17日前
トヨタ自動車株式会社
車両
17日前
トヨタ自動車株式会社
方法
1日前
トヨタ自動車株式会社
タンク
1日前
トヨタ自動車株式会社
電動車
17日前
トヨタ自動車株式会社
ロータ
17日前
トヨタ自動車株式会社
電動車
16日前
トヨタ自動車株式会社
蓄電装置
8日前
トヨタ自動車株式会社
蓄電装置
8日前
トヨタ自動車株式会社
エンジン
16日前
トヨタ自動車株式会社
制御装置
1日前
トヨタ自動車株式会社
蓄電装置
8日前
トヨタ自動車株式会社
蓄電装置
16日前
トヨタ自動車株式会社
エンジン
8日前
トヨタ自動車株式会社
蓄電装置
16日前
トヨタ自動車株式会社
蓄電装置
16日前
トヨタ自動車株式会社
反応容器
16日前
トヨタ自動車株式会社
制御装置
16日前
トヨタ自動車株式会社
判定装置
16日前
トヨタ自動車株式会社
制御装置
8日前
トヨタ自動車株式会社
処理装置
8日前
トヨタ自動車株式会社
蓄電装置
8日前
トヨタ自動車株式会社
蓄電装置
8日前
トヨタ自動車株式会社
蓄電装置
8日前
トヨタ自動車株式会社
制御装置
16日前
トヨタ自動車株式会社
制御装置
1日前
トヨタ自動車株式会社
塗工装置
8日前
トヨタ自動車株式会社
蓄電装置
8日前
トヨタ自動車株式会社
監視装置
22日前
トヨタ自動車株式会社
製造設備
22日前
続きを見る
他の特許を見る