TOP
|
特許
|
意匠
|
商標
特許ウォッチ
Twitter
他の特許を見る
公開番号
2025177343
公報種別
公開特許公報(A)
公開日
2025-12-05
出願番号
2024084083
出願日
2024-05-23
発明の名称
情報処理装置、情報処理装置の制御方法、及びプログラム
出願人
キヤノン株式会社
代理人
個人
主分類
H04N
5/91 20060101AFI20251128BHJP(電気通信技術)
要約
【課題】CG合成前の動画ファイルに対し、適用し得る全てのレンズ収差補正を適用することができる情報処理装置を提供する。
【解決手段】PC100は、取得した動画ファイルにCG合成を行う。PC100は、CG合成を行う前に、動画ファイルに対してレンズ収差を除去するレンズ収差補正を適用する。PC100は、動画ファイルの撮影時に設定されたレンズ収差補正の設定値を使用するか否かを切り替える。PC100は、レンズ収差補正の設定値を使用する場合、動画ファイルに対し、レンズ収差補正の設定値に基づいて特定された未適用のレンズ収差補正を適用し、レンズ収差補正の設定値を使用しない場合、動画ファイルに対して適用し得る全てのレンズ収差補正を適用する。
【選択図】図1
特許請求の範囲
【請求項1】
取得した動画ファイルにCG合成を行う情報処理装置であって、
前記CG合成を行う前に、前記動画ファイルに対してレンズ収差を除去するレンズ収差補正を適用する手段と、
前記動画ファイルの撮影時に設定されたレンズ収差補正の設定値を使用するか否かを切り替える手段とを備え、
前記適用する手段は、前記設定値を使用する場合、前記動画ファイルに対して当該設定値に基づいて特定された未適用のレンズ収差補正を適用し、前記設定値を使用しない場合、前記動画ファイルに対して適用し得る全てのレンズ収差補正を適用することを特徴とする情報処理装置。
続きを表示(約 2,000 文字)
【請求項2】
前記適用する手段は、前記設定値を使用する場合、CG合成済みの動画ファイルに対して付加し得る複数のレンズ収差の中から当該設定値に基づいて決定したレンズ収差を付加し、前記設定値を使用しない場合、前記CG合成済みの動画ファイルに対して付加し得る全てのレンズ収差を付加することを特徴とする請求項1に記載の情報処理装置。
【請求項3】
前記適用し得る全てのレンズ収差補正は、周辺光量補正、倍率色収差補正、歪曲収差補正、フォーカスブリージング補正であることを特徴とする請求項1に記載の情報処理装置。
【請求項4】
前記動画ファイルに含まれるメタデータに基づいて生成されたメタデータファイルを読み込む手段を更に備え、
前記切り替える手段は、前記メタデータファイルに含まれるフラグ情報に基づいて前記動画ファイルの撮影時に設定されたレンズ収差補正の設定値を使用するか否かを切り替え、
前記フラグ情報は、前記動画ファイルの撮影時に設定されたレンズ収差補正の設定値を使用するか否かを示すフラグ情報であり、前記情報処理装置を操作するユーザによって設定されることを特徴とする請求項1に記載の情報処理装置。
【請求項5】
前記動画ファイルから当該動画ファイルに適用された現像処理の種類を示す情報を取得する手段を更に備え、
前記切り替える手段は、前記取得した情報が前記動画ファイルを記録した撮像装置のメーカーから提供されたライブラリを用いた現像処理を示す場合、前記動画ファイルの撮影時に設定されたレンズ収差補正の設定値を使用することを決定し、前記取得した情報が前記ライブラリを用いた現像処理を示さない場合、前記動画ファイルの撮影時に設定されたレンズ収差補正の設定値を使用しないことを決定することを特徴とする請求項1に記載の情報処理装置。
【請求項6】
前記動画ファイルから当該動画ファイルを出力したシステムを示す情報を取得する手段を更に備え、
前記切り替える手段は、前記取得した情報が前記動画ファイルを記録した撮像装置のメーカーから提供されたシステムを示す場合、前記動画ファイルの撮影時に設定されたレンズ収差補正の設定値を使用することを決定し、前記取得した情報が前記動画ファイルを記録した撮像装置のメーカーから提供されたシステムを示さない場合、前記動画ファイルの撮影時に設定されたレンズ収差補正の設定値を使用しないことを決定することを特徴とする請求項1に記載の情報処理装置。
【請求項7】
前記動画ファイルに、当該動画ファイルを記録した撮像装置のメーカーから提供されたライブラリを用いた現像処理であることを特定するための電子透かしが含まれるか否かを判定する手段を更に備え、
前記切り替える手段は、前記動画ファイルに前記電子透かしが含まれる場合、前記動画ファイルの撮影時に設定されたレンズ収差補正の設定値を使用することを決定し、前記動画ファイルに前記電子透かしが含まれない場合、前記動画ファイルの撮影時に設定されたレンズ収差補正の設定値を使用しないことを決定することを特徴とする請求項1に記載の情報処理装置。
【請求項8】
前記動画ファイルが特定の撮像装置によって記録された動画ファイルであるか否かを判定する手段を更に備え、
前記切り替える手段は、前記動画ファイルが前記特定の撮像装置によって記録された動画ファイルであると判定された場合、前記動画ファイルの撮影時に設定されたレンズ収差補正の設定値を使用することを決定し、前記動画ファイルが前記特定の撮像装置によって記録された動画ファイルでないと判定された場合、前記動画ファイルの撮影時に設定されたレンズ収差補正の設定値を使用しないことを決定することを特徴とする請求項1に記載の情報処理装置。
【請求項9】
前記動画ファイルは、撮像装置によって記録されたRAW動画ファイルのファイル形式を別のファイル形式に変換した動画ファイルであることを特徴とする請求項1に記載の情報処理装置。
【請求項10】
取得した動画ファイルにCG合成を行う情報処理装置の制御方法であって、
前記CG合成を行う前に、前記動画ファイルに対してレンズ収差を除去するレンズ収差補正を適用する工程と、
前記動画ファイルの撮影時に設定されたレンズ収差補正の設定値を使用するか否かを切り替える工程とを有し、
前記適用する工程は、前記設定値を使用する場合、前記動画ファイルに対して当該設定値に基づいて特定された未適用のレンズ収差補正を適用し、前記設定値を使用しない場合、前記動画ファイルに対して適用し得る全てのレンズ収差補正を適用することを特徴とする情報処理装置の制御方法。
(【請求項11】以降は省略されています)
発明の詳細な説明
【技術分野】
【0001】
本発明は、情報処理装置、情報処理装置の制御方法、及びプログラムに関する。
続きを表示(約 2,900 文字)
【背景技術】
【0002】
バーチャルプロダクションにおけるコンピューターグラフィックス(以下、CG)合成のワークフローでは、実写映像とCGを合成する際、合成前に実写映像から、周辺光量収差や歪曲収差等のレンズ収差を除去するレンズ収差補正が行われる。CG側にはレンズ収差が一切存在しないため、CG合成前の実写映像には、全てのレンズ収差が除去された状態が望ましいとされる。また、CG合成後には、CG合成結果に対し実写映像のレンズ収差を付加することで、CG側にも実写の雰囲気を与える作業が行われている。
【0003】
近年では、RAW動画ファイルを記録可能なデジタルカメラが登場しており、撮影後の映像加工の自由度が高いことから、RAW動画ファイルはバーチャルプロダクションにも用いられている。RAW動画ファイルの記録時に、デジタルカメラに装着したレンズの収差を補正するためのレンズ収差補正データをRAW動画ファイルに関連付けて記録する撮像装置が知られている(例えば、特許文献1参照。)。RAW動画ファイルをCG合成に用いる際、CG合成前にRAW動画ファイル内のメタデータからレンズ収差補正データを取得し、このレンズ収差補正データを用いてレンズ収差を除去してからCG合成を行うことが可能となる。
【0004】
デジタルカメラでは、ユーザが撮影時にメニュー設定等で、どの種類のレンズ収差を補正(除去)するかを設定可能である。例えば、動画の記録時に、周辺光量補正は適用するが歪曲収差補正は適用しない、といった設定が可能である。MP4等の動画ファイルを記録する際には、デジタルカメラは、撮影時の設定に従ってレンズ収差補正を適用した結果の映像を動画ファイルとして記録する。一方、RAW動画ファイルを記録する際には、デジタルカメラは、レンズ収差補正を適用せず、撮影時に設定されたレンズ収差補正の設定値をRAW動画ファイル内のメタデータに記録することが一般的である。このようにすることで、RAW動画ファイルの現像時に、撮影時の設定に従ってレンズ収差補正を適用可能となる。
【0005】
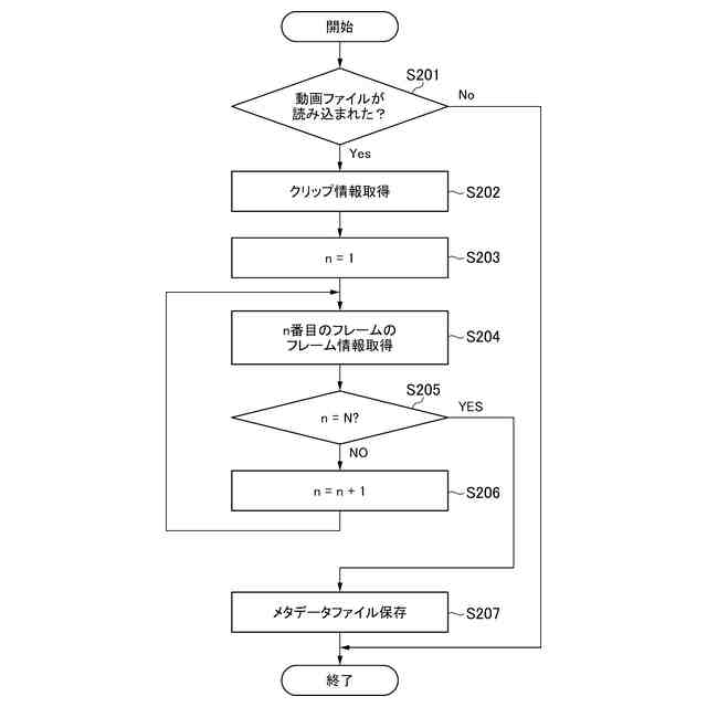
ところで、バーチャルプロダクションのワークフローでは、CG合成前に動画ファイルに対し、カット編集が行われることがある。このとき、動画ファイルはOpenEXR形式等の別のファイル形式に変換されることがある。動画ファイルが別のファイル形式に変換されると、動画ファイル内に格納された撮影時のメタデータが変換先のファイルに引き継がれないケースが多い。このため、ユーザは、カット編集の作業前に、カメラメーカー製のアプリケーションによって、動画ファイル内のメタデータを動画ファイルとは別のファイルであるメタデータファイルとして出力する作業を行う。このようなメタデータファイルを準備することにより、カット編集が行われて別のファイル形式に変換された動画ファイルの各フレーム画像に対し、CG合成前に、撮影時の設定に従ってレンズ収差補正を適用することができる。
【先行技術文献】
【特許文献】
【0006】
特開2014-23063号公報
【発明の概要】
【発明が解決しようとする課題】
【0007】
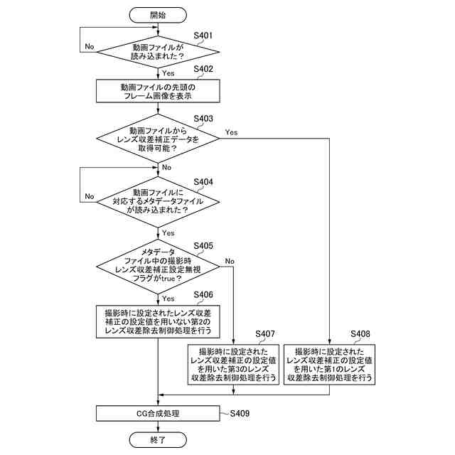
RAW動画ファイルの表示には現像処理が必要となるが、カメラメーカー製のアプリケーション以外にも、一般的な編集システムが各カメラメーカーのRAW動画現像に対応している場合がある。例えば、Blackmagic Design社のDaVinci Resolveでは、様々なカメラメーカーのRAW動画現像に対応している。ただし、編集システムは、RAW動画ファイルの現像処理において、カメラメーカー製のアプリケーションから出力されたメタデータファイルを解析できず、このメタデータファイル内のレンズ収差補正の設定値に従ってレンズ収差補正を適用できない場合がある。このため、ユーザが撮影時に或るレンズ収差補正を適用する設定を行っていても、編集システムによる現像結果ではこのレンズ収差補正だけでなく、他のレンズ収差補正も適用されない。これにより、メタデータファイルのレンズ収差補正の設定値と、編集システムによって出力された動画ファイルのレンズ収差補正の適用状態とが一致せず、CG合成前の動画ファイルを、全てのレンズ収差を除去した状態にすることができないという問題が生じる。
【0008】
一例として、歪曲収差補正を適用せず、それ以外のレンズ収差補正を適用するといった撮影時の設定に従って記録されたRAW動画ファイルと、当該RAW動画ファイルから出力されたメタデータファイルとを用いてCG合成を行う場合について説明する。このRAW動画ファイルを表示するための現像処理では、本来、メタデータファイルに含まれる上述した撮影時の設定に従って、歪曲収差補正以外のレンズ収差補正が適用される。また、このような現像処理済みの動画ファイルに対し、上述した撮影時の設定に従って未適用の歪曲収差補正を適用することで、この動画ファイルは、CG合成前に、全てのレンズ収差が除去された状態となる。しかし、このRAW動画ファイルを表示するための現像処理を編集システムが行った場合、編集システムは、このRAW動画ファイルから出力されたメタデータファイルを解釈できないので、このRAW動画ファイルに対して全てのレンズ収差補正を適用しない。このような現像処理済みの動画ファイルに対し、メタデータファイルに含まれる上述した撮影時の設定に従って未適用の歪曲収差補正を適用しても、歪曲収差補正以外のレンズ収差補正が適用されていない状態となる。つまり、この動画ファイルは、CG合成前に、一部のレンズ収差が除去されていない状態となってしまう。このように、従来の技術では、CG合成前の動画ファイルに対し、適用し得る全てのレンズ収差補正を適用することができないという問題が生じる。
【0009】
本発明は、CG合成前の動画ファイルに対し、適用し得る全てのレンズ収差補正を適用することができる情報処理装置、情報処理装置の制御方法、及びプログラムを提供することを目的とする。
【課題を解決するための手段】
【0010】
上記目的を達成するために、本発明の情報処理装置は、取得した動画ファイルにCG合成を行う情報処理装置であって、前記CG合成を行う前に、前記動画ファイルに対してレンズ収差を除去するレンズ収差補正を適用する手段と、前記動画ファイルの撮影時に設定されたレンズ収差補正の設定値を使用するか否かを切り替える手段とを備え、前記適用する手段は、前記設定値を使用する場合、前記動画ファイルに対して当該設定値に基づいて特定された未適用のレンズ収差補正を適用し、前記設定値を使用しない場合、前記動画ファイルに対して適用し得る全てのレンズ収差補正を適用することを特徴とする。
【発明の効果】
(【0011】以降は省略されています)
この特許をJ-PlatPat(特許庁公式サイト)で参照する
関連特許
キヤノン株式会社
トナー
1か月前
キヤノン株式会社
撮像装置
1か月前
キヤノン株式会社
撮像装置
3日前
キヤノン株式会社
表示装置
10日前
キヤノン株式会社
表示装置
10日前
キヤノン株式会社
表示装置
3日前
キヤノン株式会社
撮像装置
3日前
キヤノン株式会社
撮像装置
3日前
キヤノン株式会社
電子機器
1か月前
キヤノン株式会社
発光装置
10日前
キヤノン株式会社
記録装置
1か月前
キヤノン株式会社
撮像装置
18日前
キヤノン株式会社
電子機器
1か月前
キヤノン株式会社
撮像装置
3日前
キヤノン株式会社
撮像装置
3日前
キヤノン株式会社
定着装置
24日前
キヤノン株式会社
撮像装置
1か月前
キヤノン株式会社
記録装置
4日前
キヤノン株式会社
撮像装置
18日前
キヤノン株式会社
定着装置
24日前
キヤノン株式会社
記録装置
4日前
キヤノン株式会社
撮像装置
26日前
キヤノン株式会社
記録装置
24日前
キヤノン株式会社
定着装置
18日前
キヤノン株式会社
記録装置
1か月前
キヤノン株式会社
二次電池
5日前
キヤノン株式会社
撮像装置
10日前
キヤノン株式会社
定着装置
24日前
キヤノン株式会社
撮像装置
10日前
キヤノン株式会社
電子機器
26日前
キヤノン株式会社
電子機器
3日前
キヤノン株式会社
撮像装置
1か月前
キヤノン株式会社
撮像装置
12日前
キヤノン株式会社
定着装置
18日前
キヤノン株式会社
雲台装置
1か月前
キヤノン株式会社
測距装置
1か月前
続きを見る
他の特許を見る