TOP
|
特許
|
意匠
|
商標
特許ウォッチ
Twitter
他の特許を見る
公開番号
2025177116
公報種別
公開特許公報(A)
公開日
2025-12-05
出願番号
2024083660
出願日
2024-05-22
発明の名称
食品検査装置
出願人
シブヤ精機株式会社
代理人
個人
,
個人
主分類
G01N
21/359 20140101AFI20251128BHJP(測定;試験)
要約
【課題】 具材収容部を備えた食品の良否判定を正確に行う。
【解決手段】 食品検査装置2では具材収容部1aが設定されたおにぎり1(食品)を検査する。
モデルおにぎり1の具材収容部1aの範囲内に設定された検査領域を記憶する検査領域記憶部と、搬送手段3によって搬送されるモデルおにぎり1の上記検査領域を透過した透過近赤外光に基づいて作成したモデルスペクトルを記憶するモデルスペクトル記憶部と、上記搬送手段3によって搬送される被検査おにぎり1の検査領域を透過した透過近赤外光から検査スペクトルを作成する検査スペクトル作成部と、上記検査スペクトルと上記モデルスペクトルとを比較して当該被検査おにぎり1の良否を判定する判定部とを有する。
上記具材収容部1aに設定した検査領域を透過した透過近赤外光に基づいて検査スペクトルを作成するため、具材についての良否判定を正確に行うことができる。
【選択図】 図1
特許請求の範囲
【請求項1】
食品を搬送する搬送手段と、上記搬送手段によって搬送される食品に近赤外光を照射する照射手段と、上記食品を透過した透過近赤外光を受光する受光手段と、これらを制御する制御手段とを備えた食品検査装置において、
上記食品は内部の所要範囲に具材が収容された具材収容部を有し、
上記制御手段は、正常なモデル食品の上記具材収容部の範囲内に設定された検査領域を記憶する検査領域記憶部と、上記搬送手段によって搬送される上記モデル食品の上記検査領域を透過した透過近赤外光に基づいて作成したモデルスペクトルを記憶するモデルスペクトル記憶部と、上記搬送手段によって搬送される検査対象である被検査食品の上記検査領域を透過した透過近赤外光から検査スペクトルを作成する検査スペクトル作成部と、上記検査スペクトルと上記モデルスペクトルとを比較して当該被検査食品の良否を判定する判定部とを有することを特徴とする食品検査装置。
続きを表示(約 750 文字)
【請求項2】
上記食品はおにぎりであって、当該おにぎりの中央に上記具材収容部が設けられており、
上記モデルスペクトル記憶部は、所要の食材からなる具材を収容したおにぎりのモデルスペクトルを記憶し、
上記判定部は、上記検査スペクトルを上記モデルスペクトルと比較することで、被検査おにぎりに上記所要の具材が収容されているか否かを判定することを特徴とする請求項1に記載の食品検査装置。
【請求項3】
上記食品はおにぎりであって、当該おにぎりの中央に上記具材収容部が設けられており、
上記モデルスペクトル記憶部は、上記具材収容部に具材を収容していないおにぎりのモデルスペクトルを記憶し、
上記判定部は、上記検査スペクトルを上記モデルスペクトルと比較することにより、被検査おにぎりに具材が収容されているか否かを判定することを特徴とする請求項1に記載の食品検査装置。
【請求項4】
上記モデルスペクトルおよび検査スペクトルは、波長と透過近赤外光の吸光度の強度もしくは透過率との関係を示した連続した波形スペクトルであり、
上記判定部は、上記モデルスペクトルおよび検査スペクトルの波形スペクトルを比較して被検査食品の良否を判定することを特徴とする請求項1に記載の食品検査装置。
【請求項5】
上記判定部は、上記モデルスペクトルおよび検査スペクトルの波形スペクトルを比較する際、上記波形スペクトルを構成する複数の波長に比較ポイントを設定するとともに、これら比較ポイントにおける吸光度の差分の総和を算出し、
当該総和が所定の数値以下である場合に、被検査食品が正常であると判定することを特徴とする請求項4に記載の食品検査装置。
発明の詳細な説明
【技術分野】
【0001】
本発明は食品検査装置に関し、詳しくは近赤外光を食品に照射し、食品を透過した透過近赤外光を測定して良否判定を行う食品検査装置に関する。
続きを表示(約 3,100 文字)
【背景技術】
【0002】
従来、食品を搬送する搬送手段と、上記搬送手段によって搬送される食品に近赤外光を照射する照射手段と、上記食品を透過した透過近赤外光を測定する受光手段とを備え、受光した透過近赤外光に基づいて作成したスペクトルによって良否を判定する食品検査装置が知られている(特許文献1)。
上記特許文献1では、クリームが充填されたパンを透過した透過近赤外光に基づいて、クリームがパンの全体に充填されているか否かを検出するようになっている。
また特許文献2では、食品を透過した透過近赤外光を測定するとともに、これをあらかじめ作成した参照データと比較することで、複数の食品を識別するようになっている。
【先行技術文献】
【特許文献】
【0003】
特開2017-101966号公報
特許第6296883号公報
【発明の概要】
【発明が解決しようとする課題】
【0004】
ここで、上記食品として、例えばおにぎりやまんじゅうなど、所要の部分に具材が収容された具材収容部を有するものがあり、このような具材収容部についての良否判定をしたいとの要望がある。
この場合、特許文献1、2の食品検査装置では食品の全体に近赤外光を照射して良否判定を行うことから、具材収容部以外の部分を透過した透過近赤外光も良否判定の対象となり、具材収容部についての検査精度が落ちることとなる。
このような問題に鑑み、本発明は食品の具材収容部についての検査を正確に行うことが可能な食品検査装置を提供するものである。
【課題を解決するための手段】
【0005】
すなわち請求項1の発明にかかる食品検査装置は、食品を搬送する搬送手段と、上記搬送手段によって搬送される食品に近赤外光を照射する照射手段と、上記食品を透過した透過近赤外光を受光する受光手段と、これらを制御する制御手段とを備えた食品検査装置において、
上記食品は内部の所要範囲に具材が収容された具材収容部を有し、
上記制御手段は、正常なモデル食品の上記具材収容部の範囲内に設定された検査領域を記憶する検査領域記憶部と、上記搬送手段によって搬送される上記モデル食品の上記検査領域を透過した透過近赤外光に基づいて作成したモデルスペクトルを記憶するモデルスペクトル記憶部と、上記搬送手段によって搬送される検査対象である被検査食品の上記検査領域を透過した透過近赤外光から検査スペクトルを作成する検査スペクトル作成部と、上記検査スペクトルと上記モデルスペクトルとを比較して当該被検査食品の良否を判定する判定部とを有することを特徴としている。
【発明の効果】
【0006】
上記発明によれば、検査領域設定部が食品の具材収容部に検査領域を設定するとともに、検査スペクトル作成部は上記検査領域を透過した透過近赤外光から検査スペクトルを作成し、上記モデルスペクトル記憶部に記憶されたモデルスペクトルも正常なモデル食品の具材収容部を透過した透過近赤外光に基づいて作成したものとなっている。
したがって、これら検査スペクトルおよびモデルスペクトルはいずれも具材の収容された部分のスペクトルとなっており、具材を含まない部分のスペクトルを含まないことから、これら検査スペクトルおよびモデルスペクトルを比較すれば具材収容部についての検査結果を正確に得ることができる。
【図面の簡単な説明】
【0007】
本実施形態にかかる食品検査装置の正面図。
搬送手段を示す平面図。
制御手段の構成を説明する図。
おにぎりを透過した透過近赤外光についての連続スペクトル。
【発明を実施するための形態】
【0008】
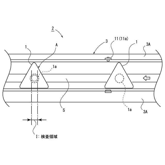
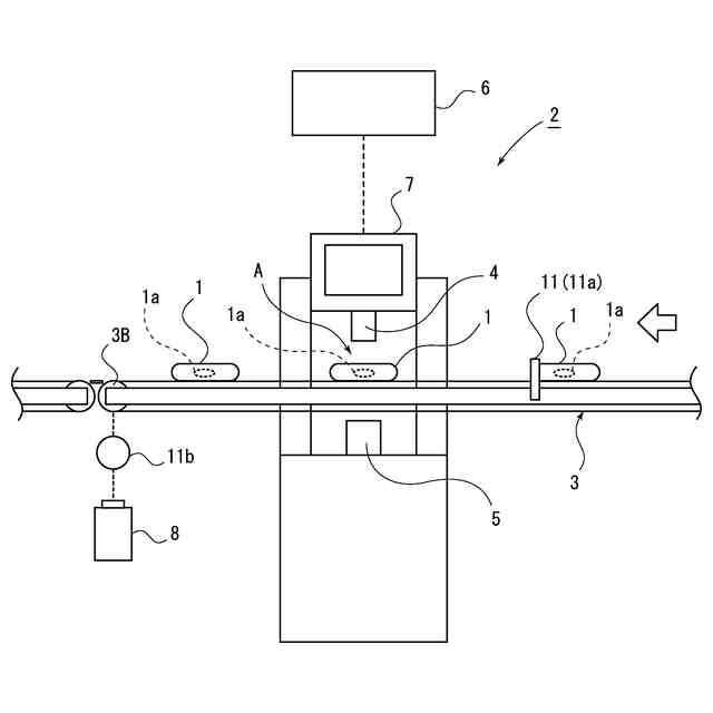
以下、図示実施形態について本発明を説明すると、図1は食品としてのおにぎり1を検査する食品検査装置2を示し、搬送手段3によって搬送されるおにぎり1に近赤外光を照射し、おにぎり1を透過した透過近赤外光に基づいておにぎり1の検査を行うものとなっている。
本実施形態の上記おにぎり1は、図2に示すように、炊いたお米を平面視において三角形に形成した食品となっており、その内部の略中央の所要範囲には例えば昆布、紅鮭、いくら等からなる具材が収容される具材収容部1aが設けられている。
なお、おにぎり1を構成するお米は白米でも炊き込みご飯でもよく、形状は三角形、丸、楕円などどのような形状であってもよい。さらに、おにぎり1の外部は海苔で覆われていても、いなくてもよい。
また、本実施形態で検査されるおにぎり1は樹脂フィルムなどからなる包装紙によって包装され、この包装紙にはおにぎり1に入れられた具材の名称や、その他原材料や賞味期限等が印刷されたラベルが貼付され、ないしはこれらの内容が包装紙に直接印字されたものとなっている。上記包装紙やラベルは近赤外光が透過可能な材質によって構成されている。
そして本実施形態の上記食品検査装置2では、上記包装紙に表示されている具材と、おにぎり1に入れられた具材が一致しているか否かを検出するとともに、具材の入れ忘れを検出するものとなっている。
【0009】
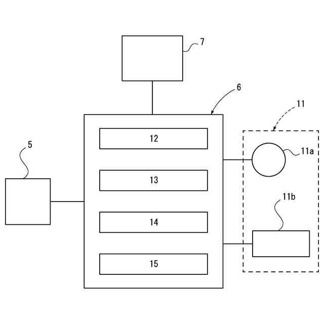
食品検査装置2は、おにぎり1を搬送する搬送手段3と、上記搬送手段3によって搬送されるおにぎり1に近赤外光を照射する照射手段4と、上記おにぎり1を透過した透過近赤外光を受光する受光手段5と、これらを制御する制御手段6と、作業者が所要の入力操作等を行うための操作パネル7とを備えている。
図2に示すように、上記搬送手段3は搬送方向に沿って並行に設けられた2本の無端状ベルト3A、3Aを備え、これら上記無端状ベルト3A、3Aの両端部には一対の回転ローラ3Bが設けられ、一方の回転ローラ3Bがモータ8によって駆動されるようになっている。
上記モータ8が制御手段6の指令によって駆動されると、回転ローラ3Bが回転され、2本の無端状ベルト3A、3Aが矢印方向に等速で循環走行されるようになっている。
また無端状ベルト3A、3Aの間には隙間Sが形成されており、上記おにぎり1は平面視において三角形と認識されるような姿勢で載置されるとともに、上記具材収容部1aが上記隙間Sを跨ぐように載置されるようになっている。
【0010】
図1に示すように、上記照射手段4は搬送手段3の上方に設けられており、上記受光手段5は搬送手段3を挟んで上記照射手段4の下方に設けられている。この照射手段4および受光手段5の設けられた位置をおにぎり1の検査位置Aとする。
上記照射手段4は400~3000nm程度の波長域の光を発光するハロゲンランプからなり、検査中は常時点灯されるようになっている。そのため、おにぎり1が検査位置Aを通過する際には、照射手段4からおにぎり1に向けて近赤外光が連続的に照射されるようになっている。なお、照射手段4としてはハロゲンランプに限らず、広帯域LEDやレーザーなどを採用しても良い。
上記受光手段5は受光素子や近赤外分光器等を備えており、上記照射手段4が照射した近赤外光は、上記おにぎり1を透過して透過近赤外光となり、その後搬送手段3の上記2本の無端状ベルト3A、3Aの隙間Sを通過して受光手段5に受光されるようになっている。
(【0011】以降は省略されています)
この特許をJ-PlatPat(特許庁公式サイト)で参照する
関連特許
シブヤ精機株式会社
食品検査装置
1日前
シブヤ精機株式会社
農産物の集出荷装置
1か月前
個人
視触覚センサ
1日前
個人
採尿及び採便具
1か月前
日本精機株式会社
検出装置
1か月前
個人
アクセサリー型テスター
1か月前
個人
計量機能付き容器
26日前
個人
高精度同時多点測定装置
1か月前
日本精機株式会社
発光表示装置
9日前
甲神電機株式会社
電流検出装置
1か月前
株式会社カクマル
境界杭
16日前
株式会社ミツトヨ
測定器
1か月前
株式会社トプコン
測量装置
8日前
ユニパルス株式会社
トルク変換器
1日前
ユニパルス株式会社
トルク変換器
1日前
ユニパルス株式会社
トルク変換器
1日前
アズビル株式会社
電磁流量計
1か月前
大成建設株式会社
風洞実験装置
26日前
個人
計量具及び計量機能付き容器
26日前
個人
非接触による電磁パルスの測定方法
29日前
大和製衡株式会社
組合せ計量装置
1か月前
日本特殊陶業株式会社
ガスセンサ
2日前
愛知電機株式会社
軸部材の外観検査装置
1か月前
個人
システム、装置及び実験方法
1か月前
日本特殊陶業株式会社
ガスセンサ
24日前
日本特殊陶業株式会社
ガスセンサ
1日前
日本特殊陶業株式会社
ガスセンサ
8日前
大和製衡株式会社
組合せ計量装置
1か月前
ローム株式会社
半導体装置
1か月前
ローム株式会社
半導体装置
1か月前
愛知時計電機株式会社
ガスメータ
1か月前
日本信号株式会社
距離画像センサ
29日前
双庸電子株式会社
誤配線検査装置
1か月前
日東精工株式会社
振動波形検査装置
1か月前
株式会社デンソー
電流センサ
1か月前
日本特殊陶業株式会社
センサ
1か月前
続きを見る
他の特許を見る