TOP
|
特許
|
意匠
|
商標
特許ウォッチ
Twitter
他の特許を見る
公開番号
2025177054
公報種別
公開特許公報(A)
公開日
2025-12-05
出願番号
2024083551
出願日
2024-05-22
発明の名称
加工補助具及び加工補助具の使用方法
出願人
株式会社カインズ
代理人
弁理士法人みなとみらい特許事務所
主分類
B27B
9/04 20060101AFI20251128BHJP(木材または類似の材料の加工または保存;釘打ち機またはステープル打ち機一般)
要約
【課題】丈夫で使用しやすく、様々な使用態様で加工の補助ができる加工補助具及びその使用方法を提供することを目的とする。
【解決手段】木材、プラスチック材、金属材の板材や角材が想定した材を加工するための工具の加工補助具Xであって、材の一面と水平に当接する水平板1を備え、水平板1は、クランプを受けるクランプ受け1Cを有し、クランプ受け1Cは凸起構造を含む加工補助具である。凸起構造は凹凸構造であってもよく、天面が平面状であってもよい。
【選択図】図1
特許請求の範囲
【請求項1】
材の加工に用いる工具と用いる加工補助具であって、
材の一面と水平に当接する水平板を備え、
前記水平板は、クランプを受けるクランプ受けを有し、
前記クランプ受けは、凸起構造を含む加工補助具。
続きを表示(約 810 文字)
【請求項2】
材の加工に用いる工具と用いる加工補助具であって、
材の一面と水平に当接する水平板を備え、
前記水平板は、クランプを受けるクランプ受けを有し、
前記クランプ受けは、凹凸構造を含む加工補助具。
【請求項3】
前記クランプ受けは、天面が平面状に設けられる請求項1に記載の加工補助具。
【請求項4】
前記水平板は、線状に突出する突出線を複数有し、
前記突出線は、前記クランプ受けが設けられる面に設けられている請求項1~3の何れかに記載の加工補助具。
【請求項5】
前記水平板は、前記突出線が突出しない側の面に、線状に突出する複数の裏突出線が設けられ、
前記裏突出線は前記突出線の裏面に配置されている請求項4に記載の加工補助具。
【請求項6】
前記水平板は、中心に中心孔を有し、
前記突出線は、前記中心孔の縁辺に沿って設けられている請求項4に記載の加工補助具。
【請求項7】
前記水平板は、前記クランプ受けが設けられない側の面に、線状に突出する複数の裏突出線を有し、
前記裏突出線の間には、前記裏突出線の突出高さよりも厚い摩擦材を有する請求項1~3の何れかに記載の加工補助具。
【請求項8】
前記水平板は、前記クランプ受けの中心を囲うように前記水平板から突出する円形突出線を含む請求項1~3の何れかに記載の加工補助具。
【請求項9】
前記水平板の縁辺には、前記水平板に垂直に垂直板が延在し、
前記垂直板には、垂直貫通孔が所定間隔で設けられている請求項1~3の何れかに記載の加工補助具。
【請求項10】
前記垂直貫通孔は、前記垂直板の縁辺に位置する半孔を含む請求項9に記載の加工補助具。
(【請求項11】以降は省略されています)
発明の詳細な説明
【技術分野】
【0001】
本発明は、板材や角材の加工作業に用いる補助具に関するものであり、特に丸ノコ等木材の切断加工と共に用いるものに関する。
続きを表示(約 1,600 文字)
【背景技術】
【0002】
丸ノコやジグソー、のこぎり等、主に板材や角材の切断に用いられる切断具は種々あるところ、これらの道具は使い慣れていなければ真っ直ぐに材を切断することが難しい。材を直線的にカットするために切断具と共に用いる補助具として、例えば特許文献1に記載の丸鋸用定規が知られている。
【先行技術文献】
【特許文献】
【0003】
特開2021-160038号公報
【発明の概要】
【発明が解決しようとする課題】
【0004】
特許文献1には、補助具の面を材に当接して用いる丸ノコ用のアタッチメントが記載されている。一方、当該文献に記載のアタッチメントでは、ある程度幅広の木材でなければ補助具をうまく固定できないことや、材の縁に対して垂直な方向以外に丸ノコを操作しにくく、使用の幅が狭い等の課題がある。
【0005】
本発明は、上記の課題に鑑み、丈夫で使用しやすく、様々な使用態様で加工の補助ができる加工補助具を提供すること及びそのための使用方法を提供することを目的とする。
【課題を解決するための手段】
【0006】
上記課題を解決する本発明は、材を切断する切削工具の加工補助具であって、材の一面と水平に当接する水平板を備え、前記水平板は、クランプを受けるクランプ受けを有し、前記クランプ受けは、凸起構造あるいは凹凸構造を含む加工補助具である。
このように、クランプ受けを水平板1に設けることで、クランプの取付向き等を変化させて様々な使用態様で使用することが可能となり、また、該クランプ受けは凸起構造あるいは凹凸構造を含むことで、耐久性を高めている。
【0007】
また、上記課題を解決する本発明は、材を切断する切削工具の加工補助具の使用方法であって、前記加工補助具は、材の一面と水平に当接する水平板を備え、前記水平板は、クランプを受けるクランプ受けを有し、前記クランプ受けは、凹凸構造を含み、前記クランプ受けにクランプを保持させる保持工程を含む加工補助具の使用方法である。
このように、凸起構造を有する丈夫なクランプ受けにクランプを様々な向きで取り付けられるようになり、使用性能が向上する。
【発明の効果】
【0008】
上記課題を解決する本発明は、丈夫で使用しやすく、様々な使用態様で加工の補助ができる加工補助具及びその使用方法を提供することができる。
【図面の簡単な説明】
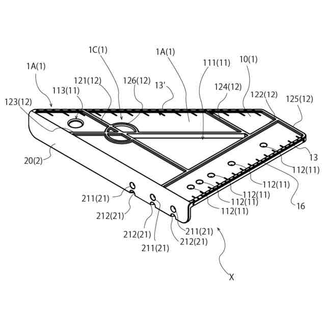
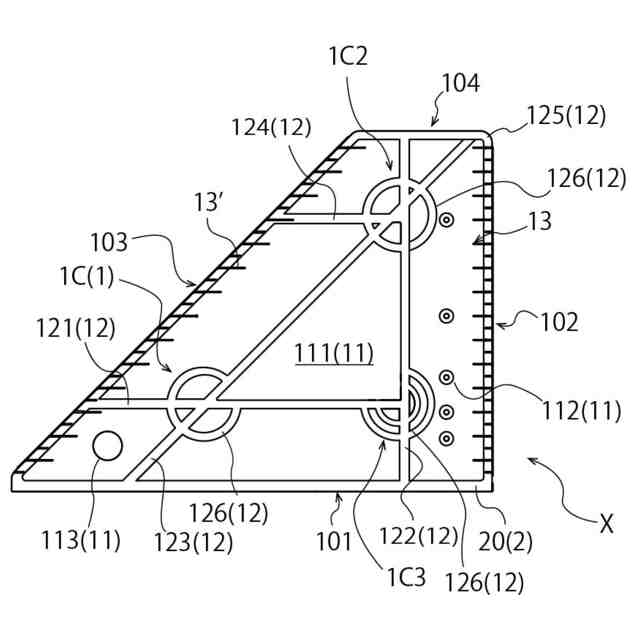
【0009】
本発明の実施形態に係る、加工補助具の表面を表す斜視図である。
本発明の実施形態に係る、加工補助具の裏面を表す斜視図である。
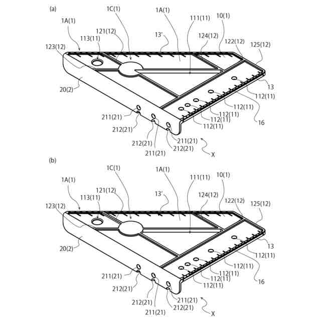
本発明の実施形態に係る、加工補助具の表面を表す斜視図である。
本発明の実施形態に係る、加工補助具を様々な面からみた図である。
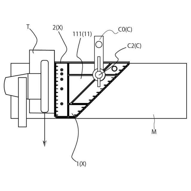
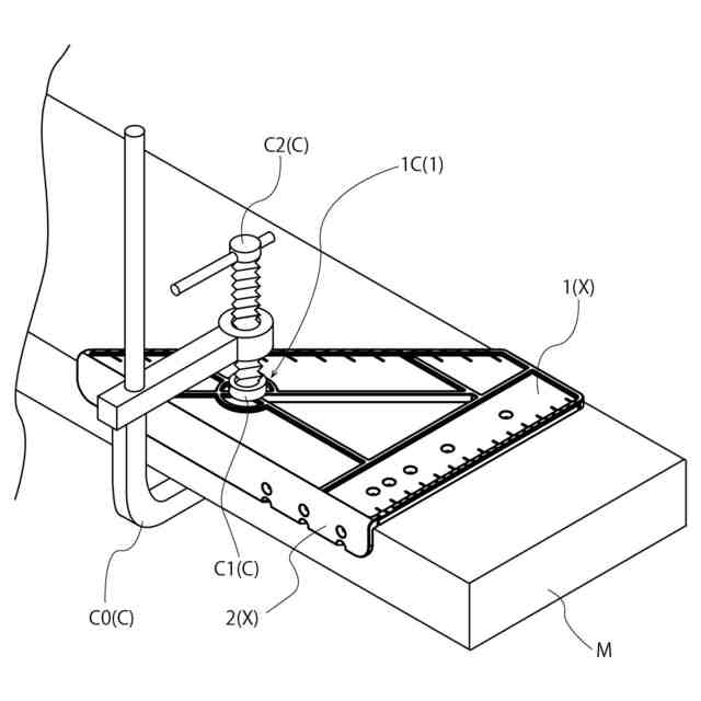
本発明の実施形態に係る、加工補助具の使用時の状態を表す斜視図である。
本発明の実施形態に係る、加工補助具の使用時の状態を表す説明図である。
本発明の変更例に係る、加工補助具の斜視図である。
本発明の変更例に係る、加工補助具の平面図である。
【発明を実施するための形態】
【0010】
以下、図面を用いて、本発明の各実施形態に係る切断加工補助具について説明する。説明は、実施形態の構成、実施の方法、変更例の順に詳述する。
なお、以下に示す実施形態は本発明の一例であり、本発明を以下の各実施形態に限定するものではない。また、出願書類中の「略」は、その後に続く形状に面取りや丸め加工がなされていること、また形状を構成する要素がその構成の目的を阻害しない範囲内で変形や長さ変更されているものを含むことを意味する概念である。
(【0011】以降は省略されています)
この特許をJ-PlatPat(特許庁公式サイト)で参照する
関連特許
株式会社カインズ
容器
1日前
株式会社カインズ
容器
1日前
株式会社カインズ
台車
2か月前
株式会社カインズ
台車
2か月前
株式会社カインズ
販売システム
1日前
株式会社カインズ
樹脂サンダル
2か月前
株式会社カインズ
キャリーケース
1日前
株式会社カインズ
掛け寝具および寝具カバー
16日前
王子ホールディングス株式会社
什器
1日前
株式会社カインズ
加工補助具及び加工補助具の使用方法
1日前
個人
鋸
2か月前
個人
木材精密加工用ジグ
8か月前
個人
貼付装置及び貼付方法
6か月前
丸大株式会社
竹粉製造装置
8か月前
個人
電動ボードカッターのブレード
3か月前
株式会社 川上製作所
木材の連結構造
2か月前
個人
跳ね上げ式ガイドクランプ
6か月前
株式会社岡田金属工業所
ブレード
7か月前
コニシ株式会社
集成材の製造方法
3か月前
NKE株式会社
トリマー治具
6か月前
大建工業株式会社
焼杉風化粧板とその製造方法
8か月前
清水建設株式会社
ビス打ち装置
8か月前
トヨタ自動車株式会社
木粉の熱圧縮成形方法
10か月前
清水建設株式会社
自動ビス打ち機
8か月前
株式会社大林組
ドリルおよびドリル装置
1日前
株式会社大林組
木質板材の加工方法
9か月前
トヨタエンジニアリング有限会社
竹割機
5か月前
トヨタエンジニアリング有限会社
竹割機
6か月前
有限会社太悦鉄工
ヤニ取り装置および木材切断用鋸盤
4か月前
株式会社大林組
ドリル装置
1か月前
株式会社マキタ
携帯用切断機
5か月前
セイコーエプソン株式会社
シート製造装置
9日前
株式会社マキタ
ソーチェーン
2か月前
大建工業株式会社
人工突板の製造方法
8か月前
清水建設株式会社
防火積層体及びその製造方法
1か月前
トヨタT&S建設株式会社
桂剥き装置
7か月前
続きを見る
他の特許を見る