TOP
|
特許
|
意匠
|
商標
特許ウォッチ
Twitter
他の特許を見る
公開番号
2025177259
公報種別
公開特許公報(A)
公開日
2025-12-05
出願番号
2024083909
出願日
2024-05-23
発明の名称
什器
出願人
王子ホールディングス株式会社
,
株式会社カインズ
代理人
弁理士法人谷・阿部特許事務所
主分類
A47B
47/00 20060101AFI20251128BHJP(家具;家庭用品または家庭用設備;コーヒーひき;香辛料ひき;真空掃除機一般)
要約
【課題】軽量な素材で且つ丈夫な複数層以上の段ボールシートを使用し、ネジや工具等が不要で容易に組み付けることができ、処分が簡単でリサイクルできる什器を提供する。
【解決手段】本発明は、表ライナ1aと、裏ライナ1bと、少なくとも2つの中芯1cと、少なくとも1つの中間ライナ1dとからなる段ボールシート1eで構成される什器1であって、前記什器1は、矩形の背板11と、前記背板11の対向する一対の縁辺L1からそれぞれ直角に折り曲がって対向する一対の側板12と、前記一対の側板12に両端部が位置固定された少なくとも1つのコの字状の棚板20と、を備え、前記一対の側板12には、少なくとも一対の孔部100が対向するように設けられており、前記一対の孔部100が対向する方向における前記棚板20の前記両端部には、前記少なくとも一対の孔部100に係合可能な少なくとも一対の突起部200が設けられている。
【選択図】図1
特許請求の範囲
【請求項1】
表ライナと、裏ライナと、少なくとも2つの中芯と、少なくとも1つの中間ライナとからなる段ボールシートで構成される什器であって、
前記什器は、矩形の背板と、前記背板の対向する一対の縁辺からそれぞれ直角に折り曲がって対向する一対の側板と、前記一対の側板に両端部が位置固定された少なくとも1つのコの字状の棚板と、を備え、
前記一対の側板には、少なくとも一対の孔部が対向するように設けられており、
前記一対の孔部が対向する方向における前記棚板の前記両端部には、前記少なくとも一対の孔部に係合可能な少なくとも一対の突起部が設けられていることを特徴とする什器。
続きを表示(約 430 文字)
【請求項2】
前記少なくとも一対の孔部は、前記什器の正面側に位置する一対の第1孔部、前記背板側に位置する一対の第2孔部、および前記第1孔部と前記第2孔部の間に位置する一対の第3孔部を含み、
前記少なくとも一対の突起部は、前記一対の第1孔部と係合可能な一対の第1突起部、前記一対の第2孔部と係合可能な一対の第2突起部、および前記一対の第3孔部と係合可能な一対の第3突起部を含み、
前記一対の第1突起部はそれぞれ、鉤状を有していることを特徴とする請求項1に記載の什器。
【請求項3】
前記背板には、POP取付部として機能するように一対の折曲片および切欠きが形成されていることを特徴とする請求項1に記載の什器。
【請求項4】
前記段ボールシートは、表ライナと、裏ライナと、3つの中芯と、前記3つの中芯の間にそれぞれ挟まる2つの中間ライナとからなることを特徴とする請求項1から請求項3のいずれか一項に記載の什器。
発明の詳細な説明
【技術分野】
【0001】
本発明は、段ボールシートで構成される什器に関する。
続きを表示(約 1,700 文字)
【背景技術】
【0002】
従来、商品陳列棚など棚板を取り付けた什器がさまざまな分野で使用されており、スチールなどの金属製のものや樹脂製や木製のものが広く用いられている。
【発明の概要】
【発明が解決しようとする課題】
【0003】
しかしながら、金属製や樹脂製・木製の什器では、部品それぞれに重量があることが多く扱いにいため組み立てに時間が掛かったり、それらを組み付けるためにネジや専用の工具等を用意する必要があったりすることが考えられる。また、廃棄処分時についても、上記したように重量があったり、留めていたネジを外す必要があったりするため解体にも手間が掛かることが予想される。
【0004】
本発明の目的は、軽量な素材で且つ丈夫な複数層以上の段ボールシートを使用し、ネジや工具等が不要で容易に組み付けることができ、処分が簡単でリサイクルできる什器を提供することにある。
【課題を解決するための手段】
【0005】
本発明に係る什器の第1形態は、表ライナと、裏ライナと、少なくとも2つの中芯と、少なくとも1つの中間ライナとからなる段ボールシートで構成される什器であって、前記什器は、矩形の背板と、前記背板の対向する一対の縁辺からそれぞれ直角に折り曲がって対向する一対の側板と、前記一対の側板に両端部が位置固定された少なくとも1つのコの字状の棚板と、を備え、前記一対の側板には、少なくとも一対の孔部が対向するように設けられており、前記一対の孔部が対向する方向における前記棚板の前記両端部には、前記少なくとも一対の孔部に係合可能な少なくとも一対の突起部が設けられていることを特徴とするものである。
【0006】
本発明に係る什器の第2形態は、前記少なくとも一対の孔部が、前記什器の正面側に位置する一対の第1孔部、前記背板側に位置する一対の第2孔部、および前記第1孔部と前記第2孔部の間に位置する一対の第3孔部を含み、前記少なくとも一対の突起部が、前記一対の第1孔部と係合可能な一対の第1突起部、前記一対の第2孔部と係合可能な一対の第2突起部、および前記一対の第3孔部と係合可能な一対の第3突起部を含み、前記一対の第1突起部がそれぞれ、鉤状を有していることを特徴とする第1形態として記載のものである。
【0007】
本発明に係る什器の第3形態は、前記背板には、POP取付部として機能するように一対の折曲片および切欠きが形成されていることを特徴とする第1形態として記載のものである。
【0008】
本発明に係る什器の第4形態は、前記段ボールシートが、表ライナと、裏ライナと、3つの中芯と、前記3つの中芯の間にそれぞれ挟まる2つの中間ライナとからなることを特徴とする第1形態から第3形態のいずれか一形態として記載のものである。
【発明の効果】
【0009】
本発明に係る什器によれば、軽量な素材で且つ丈夫な複数層以上の段ボールシートで構成され、当該シートを折り曲げて孔部に棚板の突起を係合すれば組み付け可能なので、容易に組み立てることが可能となり、また、リサイクル可能で簡単に処分が可能となる。
【図面の簡単な説明】
【0010】
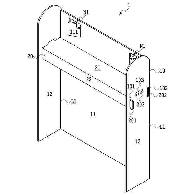
本発明の一実施形態に係る什器の斜視図である。
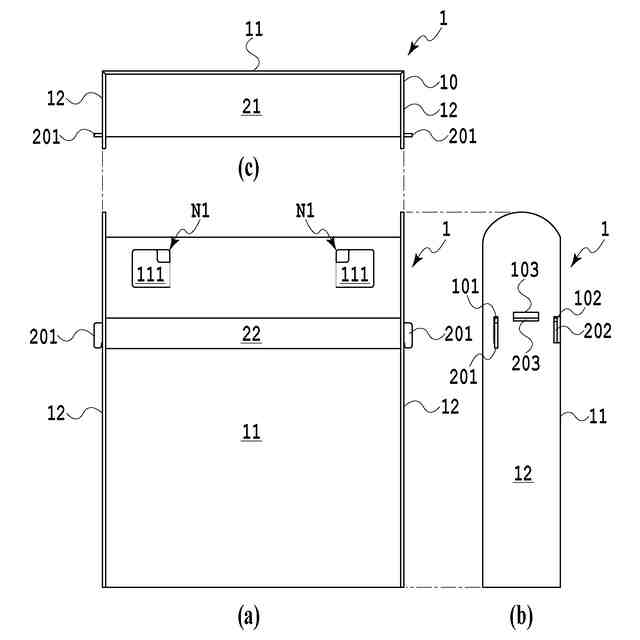
本発明の一実施形態に係る什器の平面図であり、(a)は正面図、(b)は側面図、(c)は上面図を示す。
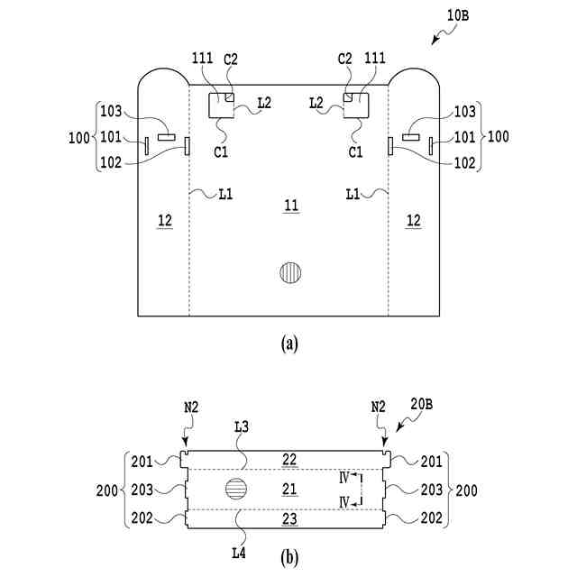
本発明の一実施形態に係る什器の各構成部材の平面図であり、(a)は支柱部のブランクを表し、(b)は棚板のブランクを表す。
本発明の一実施形態に係る什器の各構成部材の素材である段ボールシートを部分的に分解した斜視図であり、図3(b)のIV-IV方向断面図である。
本発明の一実施形態に係る什器のPOP取付部にPOP板を取り付けた状態を示す全体斜視図である。
【発明を実施するための形態】
(【0011】以降は省略されています)
この特許をJ-PlatPat(特許庁公式サイト)で参照する
関連特許
個人
箸
1か月前
個人
家具
5か月前
個人
椅子
3か月前
個人
自助箸
7か月前
個人
掃除機
9か月前
個人
掃除用具
4か月前
個人
屋外用箒
7か月前
個人
体洗い具
11か月前
個人
枕
9か月前
個人
ソファー
2か月前
個人
掃除道具
9か月前
個人
多用途紐
1か月前
個人
枕
6か月前
個人
耳拭き棒
11か月前
個人
ハンガー
7か月前
個人
開閉トング
6か月前
個人
物品
3か月前
個人
片手代替具
12か月前
個人
省煙消臭器
9か月前
個人
掃除シート
10か月前
個人
組立式棚板
8か月前
個人
ゴミ袋保持枠
7か月前
個人
経典表示装置
5か月前
個人
洗面台
11か月前
個人
靴ベラ
2か月前
個人
紙コップ 蓋
2か月前
個人
中身のない枕
8か月前
個人
シャワー装置
6か月前
個人
バターナイフ
1か月前
個人
転倒防止装置
5か月前
個人
受け皿
6か月前
個人
簡易防災トイレ
2か月前
個人
補助寝具
8か月前
個人
ホバー掃除機。
6か月前
個人
展示装置
18日前
個人
コーナーシール
10か月前
続きを見る
他の特許を見る