TOP
|
特許
|
意匠
|
商標
特許ウォッチ
Twitter
他の特許を見る
10個以上の画像は省略されています。
公開番号
2025171244
公報種別
公開特許公報(A)
公開日
2025-11-20
出願番号
2024076377
出願日
2024-05-09
発明の名称
掛け寝具および寝具カバー
出願人
株式会社カインズ
,
安徽華興羽絨制品有限公司
,
有限会社エルーチーリビング
代理人
弁理士法人三枝国際特許事務所
主分類
A47G
9/02 20060101AFI20251113BHJP(家具;家庭用品または家庭用設備;コーヒーひき;香辛料ひき;真空掃除機一般)
要約
【課題】位置ずれを防止することができる寝具カバーおよび掛け寝具を提供する。
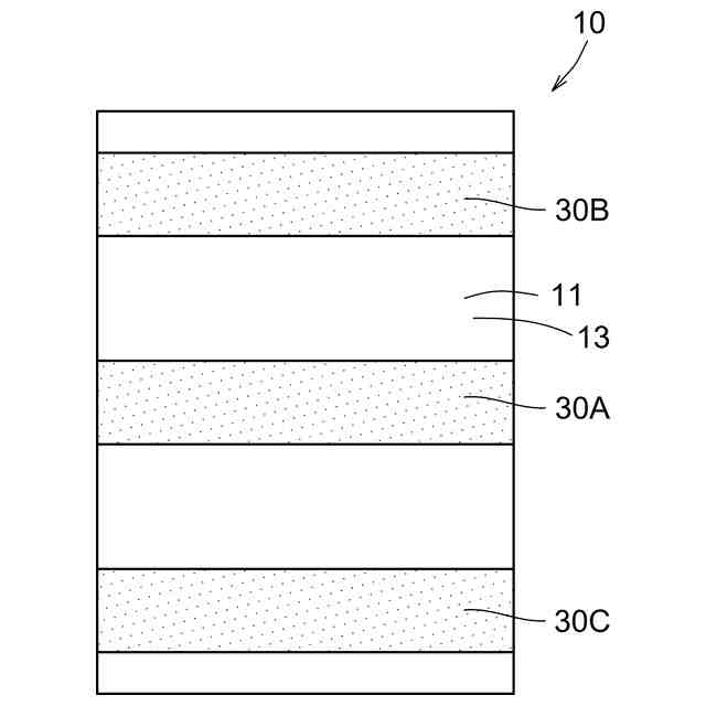
【解決手段】表面11及び裏面12を有する掛け寝具であって、表面11及び裏面12の少なくとも一方に滑り止め領域30を備え、滑り止め領域30の摩擦係数が0.8以上である、掛け寝具。
【選択図】図1
特許請求の範囲
【請求項1】
表面及び裏面を有する掛け寝具であって、
前記表面及び前記裏面の少なくとも一方に滑り止め領域を備え、
前記滑り止め領域の摩擦係数が0.8以上である、掛け寝具。
続きを表示(約 1,500 文字)
【請求項2】
前記表面の面積及び前記裏面の面積の合計の面積に対する前記滑り止め領域の面積が占める割合が20%以上である、請求項1に記載の掛け寝具。
【請求項3】
前記表面の面積または前記裏面の面積に対する前記滑り止め領域の面積が占める割合が40%以上である、請求項1に記載の掛け寝具。
【請求項4】
前記掛け寝具は平面からみた形状が矩形状であり、
前記滑り止め領域の配置は、以下の配置A~Fのいずれかである、請求項1に記載の掛け寝具。
配置A:前記滑り止め領域は平面からみた形状が帯状であり、前記掛け寝具の幅方向に沿って、前記掛け寝具の長さ方向の中央部と、中央部を挟んだ長さ方向両側に、間隔を空けて設けられている。
配置B:前記滑り止め領域は平面からみた形状が帯状であり、前記掛け寝具の長さ方向に沿って、前記掛け寝具の幅方向の中央部と、中央部を挟んだ幅方向両側に、間隔を空けて設けられている。
配置C:前記滑り止め領域は平面からみた形状が帯状であり、前記掛け寝具の幅方向に沿って、前記掛け寝具の長さ方向の両側に設けられている。
配置D:前記滑り止め領域は平面からみた形状が帯状であり、前記掛け寝具の長さ方向に沿って、前記掛け寝具の幅方向の両側に設けられている。
配置E:前記滑り止め領域は平面からみた形状が帯状であり、前記掛け寝具の周縁部に設けられている。
配置F:前記滑り止め領域は平面からみた形状が矩形状であり、前記掛け寝具の少なくとも中央部に設けられている。
【請求項5】
内部に寝具が収容される寝具カバーであって、
前記寝具の表面及び裏面に対向する第1の内面及び第2の内面の少なくとも一方に滑り止め領域を備え、
前記滑り止め領域の摩擦係数が0.8以上である、寝具カバー。
【請求項6】
前記第1の内面の面積及び前記第2の内面の面積の合計の面積に対する前記滑り止め領域の面積が占める割合が20%以上である、請求項5に記載の寝具カバー。
【請求項7】
前記第1の内面の面積または前記第2の内面の面積に対する前記滑り止め領域の面積が占める割合が40%以上である、請求項5に記載の寝具カバー。
【請求項8】
前記寝具カバーは平面からみた形状が矩形状であり、
前記滑り止め領域の配置は、以下の配置A~Fのいずれかである、請求項5に記載の寝具カバー。
配置A:前記滑り止め領域は平面からみた形状が帯状であり、前記寝具カバーの幅方向に沿って、前記寝具カバーの長さ方向の中央部と、中央部を挟んだ長さ方向両側に、間隔を空けて設けられている。
配置B:前記滑り止め領域は平面からみた形状が帯状であり、前記寝具カバーの長さ方向に沿って、前記寝具カバーの幅方向の中央部と、中央部を挟んだ幅方向両側に、間隔を空けて設けられている。
配置C:前記滑り止め領域は平面からみた形状が帯状であり、前記掛け寝具の幅方向に沿って、前記掛け寝具の長さ方向の両側に設けられている。
配置D:前記滑り止め領域は平面からみた形状が帯状であり、前記掛け寝具の長さ方向に沿って、前記掛け寝具の幅方向の両側に設けられている。
配置E:前記滑り止め領域は平面からみた形状が帯状であり、前記寝具カバーの周縁部に設けられている。
配置F:前記滑り止め領域は平面からみた形状が矩形状であり、前記寝具カバーの少なくとも中央部に設けられている。
発明の詳細な説明
【技術分野】
【0001】
本発明は、掛け寝具および寝具カバーに関するものである。
続きを表示(約 1,200 文字)
【背景技術】
【0002】
カバーが掛けられた掛け布団の使用時には、掛け布団がカバーの中で位置ずれることがある。このため、例えば特許文献1に記載の掛け布団カバーが提案されている。特許文献1に記載の掛け布団カバーは、表布と裏布とを袋状に縫い合わせたものであり、掛け布団を出し入れするための開口を有し、内部に掛け布団に結びつけるための結び紐を設けたものである。結び紐は、掛け布団カバーの周縁に複数設けられている。
【0003】
また、特許文献2には、結び紐を用いない掛け布団カバーが提案されている。この掛け布団カバーは、カバー本体の上面に、その周縁に沿って四角形状の開口部を形成し、該開口部の各角部に直角三角形状の布片が縫着されている。各布片の斜辺両端部は互いに重ね合わされ、各布片の斜辺で中央部に菱形、四角形の布団の挿脱孔が形成される。各斜辺部に弾性材を装着し、該斜辺を伸縮自在している。
【先行技術文献】
【特許文献】
【0004】
実用新案登録第3199806号公報
実開平7-30835号公報
【発明の概要】
【発明が解決しようとする課題】
【0005】
しかし、掛け布団に特許文献1の掛け布団カバーを取り付ける際には、結び紐を布団に結びつけなくてはならず、手間がかかる。さらに、掛け布団カバーの開口から離れた位置に設けられた結び紐は開口から手が届きにくく、布団と結び紐を結びつける作業が行いにくかった。
【0006】
また、引用文献2の掛け布団カバーにおいては、挿脱孔を形成する布片の斜辺に設けられた弾性材により内部の掛け布団を掛け布団カバーと密着させて位置ずれを防いでいる。しかし、弾性材を設けただけでは十分に掛け布団を掛け布団カバーと密着させることができず、位置ずれを十分に防止することができなかった。
【0007】
本発明は前記問題に鑑みてなされたものであり、簡単に掛け布団などの掛け寝具に寝具カバーを取り付けることができ、位置ずれを防止することができる掛け寝具および寝具カバーを提供することを課題としている。
【課題を解決するための手段】
【0008】
上記目的を達成するため、本発明は、次の項に記載の主題を包含する。
【0009】
項1:表面及び裏面を有する掛け寝具であって、
前記表面及び前記裏面の少なくとも一方に滑り止め領域を備え、
前記滑り止め領域の摩擦係数が0.8以上である、掛け寝具。
【0010】
項2:前記表面の面積及び前記裏面の面積の合計の面積に対する前記滑り止め領域の面積が占める割合が20%以上である、項1に記載の掛け寝具。
(【0011】以降は省略されています)
この特許をJ-PlatPat(特許庁公式サイト)で参照する
関連特許
株式会社カインズ
容器
6日前
株式会社カインズ
容器
6日前
株式会社カインズ
販売システム
6日前
株式会社カインズ
樹脂サンダル
2か月前
株式会社カインズ
キャリーケース
6日前
株式会社カインズ
掛け寝具および寝具カバー
21日前
王子ホールディングス株式会社
什器
6日前
株式会社カインズ
加工補助具及び加工補助具の使用方法
6日前
個人
箸
1か月前
個人
家具
5か月前
個人
椅子
3か月前
個人
自助箸
7か月前
個人
掃除機
9か月前
個人
耳拭き棒
11か月前
個人
枕
9か月前
個人
掃除道具
9か月前
個人
ソファー
2か月前
個人
屋外用箒
8か月前
個人
多用途紐
1か月前
個人
ハンガー
7か月前
個人
枕
6か月前
個人
掃除用具
4か月前
個人
体洗い具
11か月前
個人
物品
3か月前
個人
片手代替具
12か月前
個人
組立式棚板
8か月前
個人
開閉トング
7か月前
個人
掃除シート
10か月前
個人
省煙消臭器
9か月前
個人
転倒防止装置
5か月前
個人
中身のない枕
8か月前
個人
靴ベラ
3か月前
個人
洗面台
11か月前
個人
ゴミ袋保持枠
7か月前
個人
受け皿
6か月前
個人
紙コップ 蓋
3か月前
続きを見る
他の特許を見る