TOP
|
特許
|
意匠
|
商標
特許ウォッチ
Twitter
他の特許を見る
10個以上の画像は省略されています。
公開番号
2025176709
公報種別
公開特許公報(A)
公開日
2025-12-04
出願番号
2025084315
出願日
2025-05-20
発明の名称
人工多能性幹細胞の製造方法
出願人
公益財団法人京都大学iPS細胞研究財団
代理人
弁理士法人京都七条特許事務所
主分類
C12N
5/10 20060101AFI20251127BHJP(生化学;ビール;酒精;ぶどう酒;酢;微生物学;酵素学;突然変異または遺伝子工学)
要約
【課題】従来のマイクロキャリアの問題を軽減し得る新たな足場材を用いた、iPS細胞の新たな製造方法、および、該製造方法によって得られたiPS細胞を用いた分化細胞の製造方法を提供すること。
【解決手段】体細胞に初期化因子を接触させ、ポリマー材料を含む面を少なくとも片側の主面として有するシート状片の存在下で、人工多能性幹細胞を樹立する。
【選択図】図1
特許請求の範囲
【請求項1】
人工多能性幹細胞の製造方法であって、以下:
体細胞に初期化因子を接触させる工程(s1)と、
前記体細胞から、ポリマー材料を含む面を少なくとも片側の主面として有するシート状片の存在下、人工多能性幹細胞を樹立する工程(s2)とを、
含む、前記方法。
続きを表示(約 960 文字)
【請求項2】
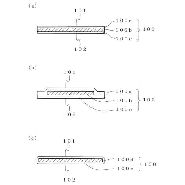
前記シート状片の片側の主面の面積が0.007~80mm
2
であり、該シート状片の厚さが0.005~3mmである、請求項1に記載の方法。
【請求項3】
前記シート状片の全体の形状が、円板状であるか、円板状の一方の主面が全体的に湾曲した形状であるか、または、円板状の一方の主面が直径部分で2つに折れ曲がった形状である、請求項1または2に記載の方法。
【請求項4】
前記シート状片が、前記ポリマー材料からなる単層構造を有する、請求項1または2に記載の方法。
【請求項5】
前記ポリマー材料がポリエチレンテレフタレートである、請求項1または2に記載の方法。
【請求項6】
前記シート状片の少なくともポリマー材料からなる面が、さらに細胞外マトリックスを含む、請求項1または2に記載の方法。
【請求項7】
前記工程(s2)の後に、該工程(s2)において樹立した人工多能性幹細胞を拡大培養する工程(s3)をさらに有する、請求項1または2に記載の方法。
【請求項8】
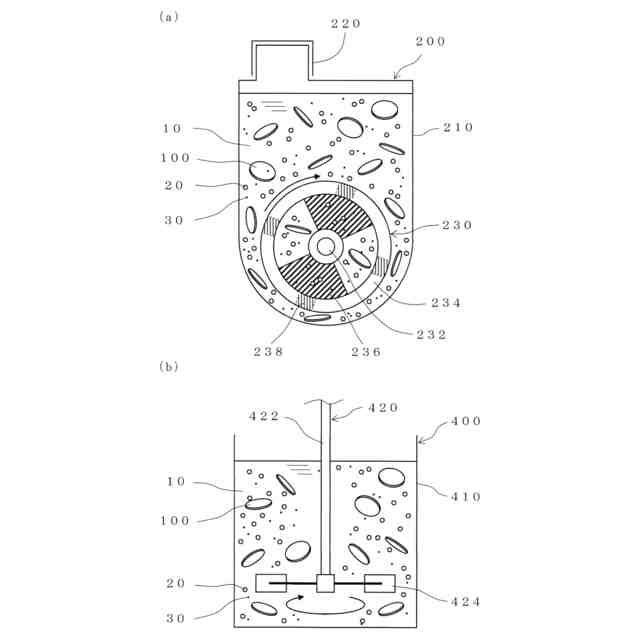
前記工程(s3)が、前記シート状片に接着した人工多能性幹細胞が存在する液体培地中で、攪拌により該シート状片から人工多能性幹細胞を剥離する工程、および該剥離された人工多能性幹細胞を拡大培養する工程を含む、請求項7に記載の方法。
【請求項9】
前記攪拌により剥離する工程が、攪拌翼を回転させ、該攪拌翼に前記シート状片が衝突したときの衝撃によって、または、該攪拌翼によって引き起こされた液体培地の流れによって行われる、請求項8に記載の方法。
【請求項10】
前記工程(s3)の拡大培養が、前記シート状片に接着した人工多能性幹細胞が存在する液体培地中に、新たなシート状片を投入し、前記人工多能性幹細胞が接着したシート状片(a1)と新たに投入されたシート状片(a2)とを沈降させて互いに接触させ、シート状片(a1)上で増殖した人工多能性幹細胞をシート状片(a2)に移らせて、該シート状片(a2)上でも人工多能性幹細胞を増殖させることで行われる、請求項7に記載の方法。
(【請求項11】以降は省略されています)
発明の詳細な説明
【技術分野】
【0001】
本発明は、人工多能性幹細胞の製造方法、および、該製造方法を用いた分化細胞の製造方法に関する。
続きを表示(約 2,000 文字)
【背景技術】
【0002】
近年、人工多能性幹細胞(induced pluripotent stem cell:以下、iPS細胞ともいう)由来の分化細胞を用いた再生医療の研究がさかんに行われている。とりわけ、患者の体細胞(例えば、末梢血単核球など)からiPS細胞を樹立し、さらに、該iPS細胞から分化誘導される種々の分化細胞やオルガノイドを該患者に移植(自家移植)するような治療法は、拒絶反応のリスクを低減し得る治療法として注目されている(非特許文献1および2)。このような中、iPS細胞の接着性の観点等から、該細胞の培養等を企図して、いくつかの足場材が開発されている(特許文献1~6)。
【先行技術文献】
【特許文献】
【0003】
国際公開第2023/037986号公報
国際公開第2009/116951号公報
国際公開第2011/077035号公報
国際公開第2020/080561号公報
国際公開第2021/108243号公報
国際公開第2021/180781号公報
【非特許文献】
【0004】
Shinsuke Yoshida., et al., CLINICAL AND TRANSLATIONAL RESOURCE AND TECHNOLOGY INSIGHTS VOLUME 4, ISSUE 1, P51-66.E10, JANUARY 13, 2023
Madrid, M., et al., Current Protocols,1, e88. doi: 10.1002/cpzl.88
【発明の概要】
【発明が解決しようとする課題】
【0005】
上述したようにiPS細胞は、足場への接着を必要とする細胞(いわゆる、接着細胞または足場依存性細胞)であり、iPS細胞の樹立の際にも細胞を浮遊させながら樹立する場合以外は足場材が必要となる。
【0006】
よって、体細胞に初期化因子を導入しiPS細胞を樹立する方法としては、主として、次の(a)および/または(b)の方法が考えられる:
(a)培養容器の内面(底面や側壁面など)を足場材として利用する方法;
(b)液体培地中に微小な足場材(マイクロキャリア、または、より大きいものはマクロキャリアなどと呼ばれる)を分散させる方法。
【0007】
前記(a)のような培養容器の内面を足場材として利用する方法では、iPS細胞を大量に樹立するためには、極めて多数の培養容器を用いるか、または、容器内の総面積がより大きくなるように複雑な内部構造(多段棚など)を持った培養容器を用いる必要がある。しかしながら、多数の培養容器を用いる方法では、スペース効率が悪いといった問題がある。また、複雑な内部構造を持った培養容器を用いる方法では、ハンドリングが難しい、作業性が悪いといった問題がある。
【0008】
一方、前記(b)のように微小な足場材を用いてiPS細胞を樹立する方法では、利用可能な足場材として、マイクロビーズ、不織布片(ESCO社製のBioNOC IIなど)、アテロコラーゲン(特許文献1)などが挙げられるが、発明者の知る限り、実際にiPS細胞の樹立が報告されている足場材は、アテロコラーゲンだけである。
【0009】
本発明者らの研究によれば、マイクロビーズや不織布片といった足場材には、iPS細胞を顕微鏡で観察する際の障害物になり、精細な観察を妨げるという問題がある。また、マイクロビーズには、材料によっては攪拌などで砕けるという問題がある。また、不織布片には、攪拌などによって繊維がほぐれて崩壊し、多数の構成繊維が液体培地中に放出されるという問題がある。また、不織布片をiPS細胞の拡大培養に用いると、増殖したiPS細胞の一部が構成繊維同士の間に入り込み、該不織布片からiPS細胞を剥離することが困難になるという問題もある。
【0010】
また、特許文献2~6には、iPS細胞の培養等に用いる足場材が記載されているが、足場材をiPS細胞の樹立のために用いることについての記載はない。その理由は、例えば、末梢血単核細胞由来のiPS細胞を樹立する場合、該末梢血単核細胞は非接着性であり、かつ、iPS細胞は樹立してから(少なくとも、初期化因子導入から数日後に)足場材に接着するので、iPS細胞の樹立前に細胞懸濁液に足場材を入れる(樹立時に足場材を利用する)という発想が当業者にはなかったからである。また、これらの特許文献2~6に記載されたそれぞれの足場材は、いずれも上記した問題のいずれかを有する。
(【0011】以降は省略されています)
この特許をJ-PlatPat(特許庁公式サイト)で参照する
関連特許
個人
抗遺伝子劣化装置
3か月前
個人
細胞内探査とその利用
3か月前
三洋化成工業株式会社
細胞培養用担体
8日前
雪国アグリ株式会社
単糖類の製造方法
1か月前
株式会社タクマ
バイオマス処理装置
4か月前
株式会社東洋新薬
経口組成物
3か月前
株式会社タクマ
バイオマス処理装置
4か月前
テルモ株式会社
吐出デバイス
2か月前
テルモ株式会社
容器蓋デバイス
2か月前
東ソー株式会社
pH応答性マイクロキャリア
3か月前
島根県
油吸着材とその製造方法
1か月前
宝酒造株式会社
アルコール飲料
2か月前
大陽日酸株式会社
培養装置
3か月前
大陽日酸株式会社
培養装置
3か月前
トヨタ自動車株式会社
バイオ燃料製造方法
2か月前
月桂冠株式会社
低プリン体清酒
1か月前
個人
有機フッ素化合物を分解する廃液処理法
1か月前
株式会社豊田中央研究所
細胞励起装置
2か月前
テルモ株式会社
採取組織細切補助デバイス
2か月前
株式会社カクサスバイオ
新規免疫抑制方法
24日前
株式会社シャローム
スフィンゴミエリン製造方法
3か月前
新東工業株式会社
培養システム
1か月前
横河電機株式会社
藻類培養装置
2か月前
株式会社村田製作所
濾過装置および濾過方法
1か月前
株式会社今宮
瓶詰ビールの加熱殺菌方法および装置
3か月前
公立大学法人北九州市立大学
微生物の検知方法
3か月前
株式会社ショウワ
キトサンオリゴマー分画方法
2か月前
住友金属鉱山株式会社
連続発酵方法及び連続発酵装置
3か月前
東ソー株式会社
免疫グロブリン結合性タンパク質の製造方法
29日前
東ソー株式会社
免疫学的測定法
1か月前
株式会社日本触媒
スフェロイドの輸送方法
2か月前
フジッコ株式会社
エリナシンAの産生方法
1か月前
個人
酒粕パウダーの製造方法
16日前
NTN株式会社
細胞配置の制御方法
2か月前
住友ベークライト株式会社
培養キット
3か月前
酒ハックプロジェクト株式会社
カクテルスモーカー
3日前
続きを見る
他の特許を見る