TOP
|
特許
|
意匠
|
商標
特許ウォッチ
Twitter
他の特許を見る
10個以上の画像は省略されています。
公開番号
2025176569
公報種別
公開特許公報(A)
公開日
2025-12-04
出願番号
2024082813
出願日
2024-05-21
発明の名称
昇降ラック、及び、昇降ラックセット
出願人
株式会社大林組
代理人
個人
,
個人
主分類
B66F
7/02 20060101AFI20251127BHJP(巻上装置;揚重装置;牽引装置)
要約
【課題】エレベータを効率的に利用できるようにすることができる。
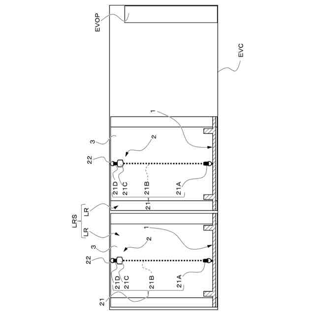
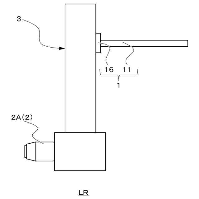
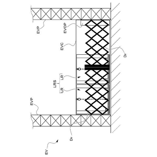
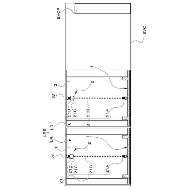
【解決手段】本開示の昇降ラックLRは、エレベータEV内に撤去可能に設置される昇降ラックLRであって、昇降ラックLRは、積載部1と、積載部1を昇降させる昇降部2と、積載部1の動きを昇降方向にガイドするガイド部3と、を備えている。そして、例えば、昇降部2は、複数のチェーンブロック21を備え、ガイド部3は、エレベータEVの天井側で離間して設けられ、対応するチェーンブロック21をエレベータEVの天井側に取り付ける天井側取付部を備えている。
【選択図】図2
特許請求の範囲
【請求項1】
エレベータ内に撤去可能に設置される昇降ラックであって、
前記昇降ラックは、
積載部と、
前記積載部を昇降させる昇降部と、
前記積載部の動きを昇降方向にガイドするガイド部と、を備えている昇降ラック。
続きを表示(約 750 文字)
【請求項2】
前記昇降部は、複数のチェーンブロックを備え、
前記ガイド部は、前記エレベータの天井側で離間して設けられ、対応する前記チェーンブロックを前記エレベータの天井側に取り付ける天井側取付部を備えている請求項1に記載の昇降ラック。
【請求項3】
前記ガイド部は、前記積載部を昇降方向にガイドする複数のガイド溝を備え、
前記積載部は、
積載台と、
前記積載台に対して回転可能に設けられ、対応する前記ガイド溝に挿入されるローラと、を備え、
前記ローラが、前記積載台に対して、対応する前記ガイド溝毎に前記ガイド溝に沿って離間して複数設けられている請求項2に記載の昇降ラック。
【請求項4】
前記積載部は、
前記積載台に設けられ、対応する前記チェーンブロックを前記積載台に取り付ける積載台取付部と、
前記積載台に形成され、前記積載台取付部を収容する収容凹部と、
前記収容凹部内に固定され、前記積載台取付部を前記積載台に対して回動可能に取り付ける回動取付部と、を備えている前記請求項3に記載の昇降ラック。
【請求項5】
前記積載部は、前記ガイド部に設けられ、昇降方向に可動する可動部を備え、
前記昇降部は、前記ガイド部に設けられ、昇降方向に前記可動部を可動させる駆動機構を備えている請求項1に記載の昇降ラック。
【請求項6】
エレベータ内に撤去可能に設置される昇降ラックセットであって、
前記昇降ラックセットは、複数の昇降ラックを備え、
前記昇降ラックが、請求項1から請求項5のいずれか1項に記載の昇降ラックから選ばれる昇降ラックセット。
発明の詳細な説明
【技術分野】
【0001】
本開示は、エレベータ内に撤去可能に設置される昇降ラック、及び、昇降ラックセットに関する。
続きを表示(約 1,000 文字)
【背景技術】
【0002】
例えば、建築物の工事現場では、建築物の階層を移動するための工事用エレベータ(仮設エレベータ)が設置され、資機材等の搬送が行われる(特許文献1参照)。
【先行技術文献】
【特許文献】
【0003】
特開2024-39218号公報
【発明の概要】
【発明が解決しようとする課題】
【0004】
ところで、資機材等の外形によっては、仮設エレベータの最大積載重量に達していないにもかかわらず、それ以上、資機材等を載せることができない場合がある。
【0005】
そうすると、重量的には、仮設エレベータに、さらに、別の資機材等を載せることが可能であるにもかかわらず、仮設エレベータを稼働させることになり、仮設エレベータによる効率的な資機材等の運搬が行えない。
【0006】
例えば、それほど重量のない長尺物の資機材の場合、その資機材を仮設エレベータに載せても仮設エレベータの最大積載重量には至らない。
【0007】
しかしながら、例えば、一例として、その長尺物の資機材等が、その上に別の物を置いてはいけない資機材等の場合、仮設エレベータの上側に、資機材等を配置可能な空間が残っていたとしても、長尺物の資機材等の上に、別の資機材を重ねて載せることができないため、それ以上、仮設エレベータに、別の資機材等を載せることができないことがある。
【0008】
また、外形が積み重ねやすい外形である資機材等であれば、重ねて配置することで、無駄な空間を残さないように、仮設エレベータに載せることができるが、積み重ねると荷崩れを起こすような外形の資機材等の場合には、安全面の問題で仮設エレベータの上側に、資機材等を配置可能な空間が残っていたとしても、その空いている空間に、積み重ねるように、別の資機材等を配置できない場合もある。
【0009】
このような場合、重量的にも、空間的にも仮設エレベータに別の資機材等を載せる余裕があるにもかかわらず、別の資機材等を載せないまま、仮設エレベータを稼働させることになる。
【0010】
この結果、仮設エレベータの稼働回数が多くなり、資機材等の運搬に必要な時間が多くなるといった問題がある。
(【0011】以降は省略されています)
この特許をJ-PlatPat(特許庁公式サイト)で参照する
関連特許
株式会社大林組
減衰機構
8日前
株式会社大林組
減衰機構
8日前
株式会社大林組
減衰機構
8日前
株式会社大林組
測定方法
2か月前
株式会社大林組
接合構造
2か月前
株式会社大林組
開封装置
1か月前
株式会社大林組
加熱装置
1か月前
株式会社大林組
飛込み台
2か月前
株式会社大林組
接合構造
1か月前
株式会社大林組
操縦装置
1か月前
株式会社大林組
接続構造
1か月前
株式会社大林組
仮設建築物
2か月前
株式会社大林組
建物の構造
2か月前
株式会社大林組
ドリル装置
1か月前
株式会社大林組
耐火被覆構造
2か月前
株式会社大林組
スロープ構造
1か月前
株式会社大林組
ルーバー構造
3か月前
株式会社大林組
折畳み構造物
1か月前
株式会社大林組
災害時支援装置
27日前
株式会社大林組
床板の設置方法
2か月前
株式会社大林組
梁筋の配筋方法
27日前
株式会社大林組
構造物形成装置
6日前
株式会社大林組
可搬式充電設備
2か月前
株式会社大林組
鋼矢板の圧入方法
2か月前
株式会社大林組
リフトアップ装置
2か月前
株式会社大林組
リフトアップ装置
6日前
株式会社大林組
リフトアップ装置
2か月前
株式会社大林組
運搬管理システム
7日前
株式会社大林組
リフトアップ装置
6日前
株式会社大林組
大梁胴縁接続構造
29日前
株式会社大林組
進捗管理システム
14日前
株式会社大林組
建築物及び建築方法
2か月前
株式会社大林組
電動式運搬補助装置
1か月前
株式会社大林組
袋体付き排水パイプ
2か月前
株式会社大林組
繊維材供給システム
1か月前
株式会社大林組
構造物及び施工方法
27日前
続きを見る
他の特許を見る