TOP
|
特許
|
意匠
|
商標
特許ウォッチ
Twitter
他の特許を見る
公開番号
2025176568
公報種別
公開特許公報(A)
公開日
2025-12-04
出願番号
2024082812
出願日
2024-05-21
発明の名称
用途決定装置、用途表示装置、排出情報送信装置、用途決定表示システム、用途決定装置の制御方法、用途表示装置の制御方法、および排出情報送信装置の制御方法
出願人
株式会社イトーキ
代理人
弁理士法人 HARAKENZO WORLD PATENT & TRADEMARK
主分類
G06Q
50/10 20120101AFI20251127BHJP(計算;計数)
要約
【課題】コーヒー滓の再利用を効率的に行うことを可能にする。
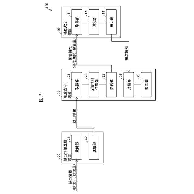
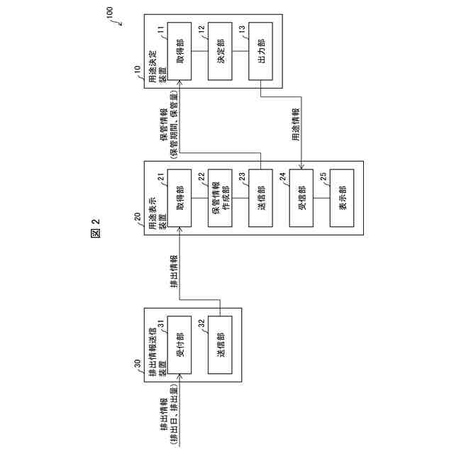
【解決手段】用途決定装置(10)は、保管場所で保管されているコーヒー滓について、コーヒー滓の保管期間および保管量を取得する取得部(11)と、保管期間および保管量に応じて、コーヒー滓の用途を決定する決定部(12)と、決定部(12)の決定結果である用途を示す用途情報を出力する出力部(13)とを備える。
【選択図】図2
特許請求の範囲
【請求項1】
保管場所で保管されているコーヒー滓について、前記コーヒー滓の保管期間および保管量を取得する取得部と、
前記保管期間および保管量に応じて、前記コーヒー滓の用途を決定する決定部と、
前記決定部の決定結果である用途を示す用途情報を出力する出力部と、を備える用途決定装置。
続きを表示(約 1,300 文字)
【請求項2】
前記決定部は、前記コーヒー滓を什器の素材として用いるか、または、畜産農業分野における環境改善資材として用いるかを決定する、請求項1に記載の用途決定装置。
【請求項3】
前記決定部は、前記保管期間が閾値を超えるか否かにより、前記用途を決定するものであり、
前記閾値は、季節によって異なる、請求項1に記載の用途決定装置。
【請求項4】
保管場所に保管されているコーヒー滓の保管期間および保管量を示す保管情報を送信する送信部と、
前記保管情報に基づいて決定された前記コーヒー滓の用途を示す用途情報を受信する受信部と、
前記用途情報が示す用途を表示する表示部と、を備える用途表示装置。
【請求項5】
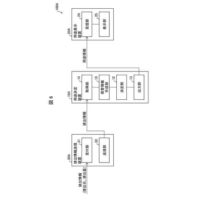
店舗より排出するコーヒー滓について、排出日および排出量を示す排出情報の入力を受け付ける受付部と、
前記排出情報を外部装置に送信する送信部と、を備える排出情報送信装置。
【請求項6】
請求項1に記載の用途決定装置と、
請求項4に記載の用途表示装置と、含み、
前記用途表示装置から送信した保管情報は、前記用途決定装置で取得され、
前記用途決定装置は、前記保管情報に含まれる前記保管期間および前記保管量に基づいて前記用途を決定し、
前記用途決定装置から出力した用途情報は、前記用途表示装置で取得され、
前記用途表示装置は、前記用途情報が示す用途を表示する、用途決定表示システム。
【請求項7】
請求項5に記載の排出情報送信装置を含み、
前記用途表示装置は、前記排出情報送信装置から送信された前記排出情報を取得し、取得した前記排出情報を用いて、前記コーヒー滓の保管期間および保管量を算出する、請求項6に記載の用途決定表示システム。
【請求項8】
コーヒー滓の用途を決定する用途決定装置の制御方法であって、
取得部が、保管場所で保管されているコーヒー滓について、前記コーヒー滓の保管期間および保管量を取得する取得ステップと、
決定部が、前記保管期間および保管量に応じて、前記コーヒー滓の用途を決定する決定ステップと、
出力部が、前記決定部の決定結果である用途を示す用途情報を出力する出力ステップと、を含む用途決定装置の制御方法。
【請求項9】
コーヒー滓の用途を表示する用途表示装置の制御方法であって、
送信部が、保管場所に保管されているコーヒー滓の保管期間および保管量を示す保管情報を送信する送信ステップと、
受信部が、前記保管情報に基づいて決定された前記コーヒー滓の用途を示す用途情報を受信する受信ステップと、
表示部が、前記用途情報が示す用途を表示する表示ステップと、を含む用途表示装置の制御方法。
【請求項10】
排出情報送信装置の制御方法であって、
受付部が、店舗より排出するコーヒー滓について、排出日および排出量を示す排出情報の入力を受け付ける受付ステップと、
送信部が、前記排出情報を外部装置に送信する送信ステップと、を含む排出情報送信装置の制御方法。
発明の詳細な説明
【技術分野】
【0001】
本発明は、コーヒー滓についての用途決定装置、用途表示装置、排出情報送信装置、用途決定表示システム、用途決定装置の制御方法、用途表示装置の制御方法、および排出情報送信装置の制御方法に関する。
続きを表示(約 1,400 文字)
【背景技術】
【0002】
国連で採択された持続可能な開発目標(SDGs)では目標12に掲げる「つくる責任つかう責任」の中の目標として廃棄物の管理又は削減といった内容が盛り込まれている。例えば、コーヒーは、世界三大嗜好品の1つとされるほど多くの人に愛飲されており、コーヒーを淹れた後のコーヒー滓を有効に再利用していくことについては、上述のSDGsへの貢献を初めとして大きな社会的意義がある。
【0003】
そこで、例えば、特許文献1には、飲料の残渣を基材とする複合板材を製造する方法が記載されている。
【先行技術文献】
【特許文献】
【0004】
特開2024-12072号公報
【発明の概要】
【発明が解決しようとする課題】
【0005】
コーヒー等の飲料の残渣の再利用方法については、様々に検討されているところであり、その仕組みが出来上がっているとは言えない。よって、より効率的な仕組みができることが望ましい。本開示は上記の問題に鑑みてなされたものであり、その目的は、コーヒー滓のような飲料の残渣の再利用を効率的に行うことを可能にする用途決定装置等を実現することにある。
【課題を解決するための手段】
【0006】
前記の課題を解決するために、本開示の一態様に係る用途決定装置は、保管場所で保管されているコーヒー滓について、前記コーヒー滓の保管期間および保管量を取得する取得部と、前記保管期間および保管量に応じて、前記コーヒー滓の用途を決定する決定部と、前記決定部の決定結果である用途を示す用途情報を出力する出力部と、を備える。
【0007】
前記の課題を解決するために、本開示の一態様に係る用途表示装置は、保管場所に保管されているコーヒー滓の保管期間および保管量を示す保管情報を送信する送信部と、前記保管情報に基づいて決定された前記コーヒー滓の用途を示す用途情報を受信する受信部と、前記用途情報が示す用途を表示する表示部とを備える。
【0008】
前記の課題を解決するために、本開示の一態様に係る排出情報送信装置は、店舗より排出するコーヒー滓について、排出日および排出量を示す排出情報の入力を受け付ける受付部と、前記排出情報を外部装置に送信する送信部とを備える。
【0009】
前記の課題を解決するために、本開示の一態様に係る用途決定表示システムは、前記用途決定装置と、前記用途表示装置と、含み、前記用途表示装置から送信した保管情報は、前記用途決定装置で取得され、前記用途決定装置は、前記保管情報に含まれる前記保管期間および前記保管量に基づいて前記用途を決定し、前記用途決定装置から出力した用途情報は、前記用途表示装置で取得され、前記用途表示装置は、前記用途情報が示す用途を表示する。
【0010】
前記の課題を解決するために、本開示の一態様に係る用途決定装置の制御方法は、コーヒー滓の用途を決定する用途決定装置の制御方法であって、取得部が、保管場所で保管されているコーヒー滓について、前記コーヒー滓の保管期間および保管量を取得する取得ステップと、決定部が、前記保管期間および保管量に応じて、前記コーヒー滓の用途を決定する決定ステップと、出力部が、前記決定部の決定結果である用途を示す用途情報を出力する出力ステップとを含む。
(【0011】以降は省略されています)
この特許をJ-PlatPat(特許庁公式サイト)で参照する
関連特許
株式会社イトーキ
家具システム
1か月前
株式会社イトーキ
開き型おむつ
1か月前
株式会社イトーキ
什器システムおよび会議システム
27日前
株式会社イトーキ
ボード、ボードの製造方法、及びテーブル
27日前
株式会社イトーキ
搬送車設置装置、自動倉庫システム及び自動倉庫の製造方法
1日前
株式会社イトーキ
積層合板及びそれを用いた椅子ならびに積層合板の製造方法
1か月前
株式会社イトーキ
介護用ベッド
1か月前
株式会社イトーキ
介護用ロボット
1か月前
株式会社イトーキ
パネル付き椅子ユニット
1か月前
株式会社イトーキ
用途決定装置、用途表示装置、排出情報送信装置、用途決定表示システム、用途決定装置の制御方法、用途表示装置の制御方法、および排出情報送信装置の制御方法
今日
個人
詐欺保険
1か月前
個人
縁伊達ポイン
1か月前
個人
RFタグシート
1か月前
個人
職業自動販売機
20日前
個人
5掛けポイント
27日前
個人
QRコードの彩色
1か月前
個人
地球保全システム
2か月前
個人
ペルソナ認証方式
1か月前
個人
自動調理装置
1か月前
個人
情報処理装置
1か月前
個人
為替ポイント伊達夢貯
3か月前
個人
冷凍食品輸出支援構造
3か月前
個人
農作物用途分配システム
1か月前
個人
残土処理システム
1か月前
個人
表変換編集支援システム
2か月前
個人
知的財産出願支援システム
1か月前
個人
タッチパネル操作指代替具
1か月前
個人
インターネットの利用構造
1か月前
個人
知財出願支援AIシステム
3か月前
個人
サービス情報提供システム
22日前
NISSHA株式会社
入力装置
今日
個人
スケジュール調整プログラム
1か月前
個人
パスワード管理支援システム
2か月前
個人
学習用データ生成装置
1日前
個人
行動時間管理システム
2か月前
個人
携帯端末障害問合せシステム
1か月前
続きを見る
他の特許を見る