TOP
|
特許
|
意匠
|
商標
特許ウォッチ
Twitter
他の特許を見る
10個以上の画像は省略されています。
公開番号
2025175854
公報種別
公開特許公報(A)
公開日
2025-12-03
出願番号
2024082161
出願日
2024-05-20
発明の名称
搬送車設置装置、自動倉庫システム及び自動倉庫の製造方法
出願人
株式会社イトーキ
代理人
個人
,
個人
主分類
B65G
1/04 20060101AFI20251126BHJP(運搬;包装;貯蔵;薄板状または線条材料の取扱い)
要約
【課題】搬送車を、自動倉庫の水平レール上に容易に設置できるようにすることを目的とする。
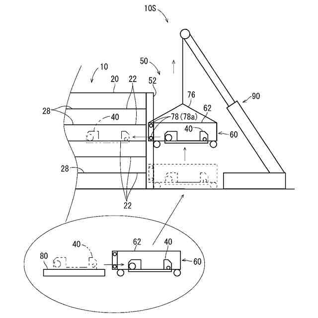
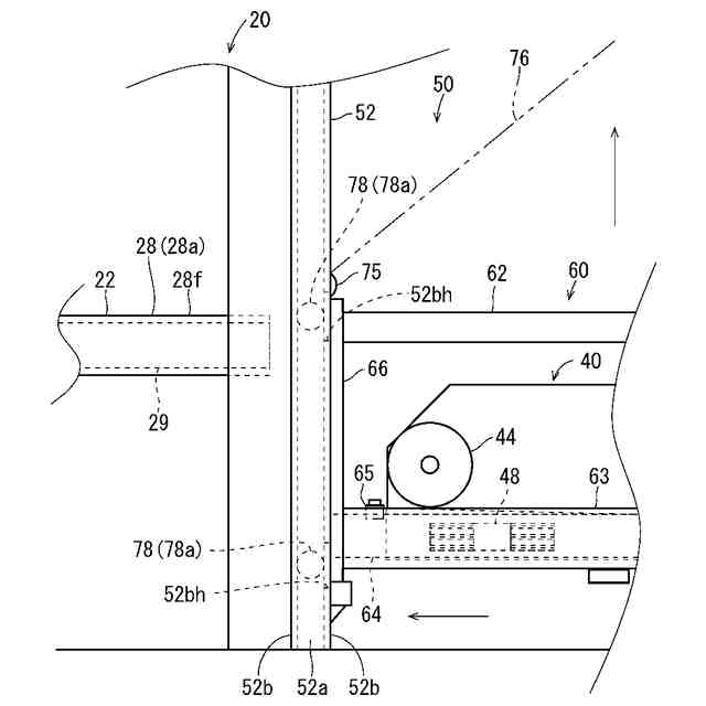
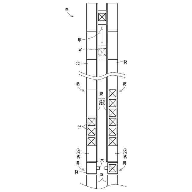
【解決手段】搬送車設置装置50は、複数段の棚22と、昇降装置と、段に関連づけられて上下に並んで配置され、棚に隣接して水平方向に沿って延びるように配置される複数の水平レール28と、対応する水平レール上を走行し、昇降装置と棚との間で物品を搬送する複数の搬送車40と、を有する自動倉庫10において、使用される。搬送車設置装置は、搬送車を支持する搬送車支持体62と、搬送車支持体に設けられた被ガイド体78と、を含む搬送車設置補助具60と、被ガイド体を昇降移動可能に支持する昇降ガイドレール52と、を備える。昇降ガイドレール52は、複数の水平レールを上下に跨ぐように延びる。
【選択図】図3
特許請求の範囲
【請求項1】
複数段の棚と、
入庫される物品を入庫用の高さ位置から格納箇所に対応する前記段の高さ位置に移動させる入庫処理、および出庫される物品を格納箇所に対応する前記段の高さ位置から出庫用の高さ位置に移動させる出庫処理、の少なくとも一方を行う昇降装置と、
前記段に関連づけられて上下に並んで配置され、前記棚に隣接して水平方向に沿って延びるように配置される複数の水平レールと、
対応する前記水平レール上を走行し、前記昇降装置と前記棚との間で物品を搬送する複数の搬送車と、
を有する自動倉庫において、使用される搬送車設置装置であって、
前記搬送車を支持する搬送車支持体と、前記搬送車支持体に設けられた被ガイド体と、を含む搬送車設置補助具と、
前記被ガイド体を昇降移動可能に支持する昇降ガイドレールと、
を備え、
前記昇降ガイドレールは、複数の前記水平レールを上下に跨ぐように延びる、搬送車設置装置。
続きを表示(約 1,400 文字)
【請求項2】
請求項1に記載の搬送車設置装置であって、
前記昇降ガイドレールは、前記水平レールの長手方向において、前記水平レールの一端の外側に位置する、搬送車設置装置。
【請求項3】
請求項1又は請求項2に記載の搬送車設置装置であって、
前記被ガイド体は、前記搬送車支持体の一端側に位置し、
前記被ガイド体が前記昇降ガイドレールに昇降移動可能に支持された状態で、前記搬送車支持体が片持ち状に支持される、搬送車設置装置。
【請求項4】
請求項1又は請求項2に記載の搬送車設置装置であって、
前記搬送車設置補助具は、前記搬送車の車輪を転動可能に支持する補助レールを含み、
前記被ガイド体が前記昇降ガイドレールでガイドされた状態で、前記補助レールが、前記水平レールの一端の外側延長上に配置される、搬送車設置装置。
【請求項5】
請求項1又は請求項2に記載の搬送車設置装置であって、
前記搬送車設置補助具は、前記搬送車支持体に支持された前記搬送車が前記搬送車支持体外に出ること抑制する規制部をさらに含み、
前記規制部が前記搬送車支持体に着脱可能である、搬送車設置装置。
【請求項6】
請求項1又は請求項2に記載の搬送車設置装置であって、
前記自動倉庫は、前記水平レールの走行面の下方で、前記搬送車の受電部に接触して前記搬送車に給電するための給電線を有し、
前記搬送車設置補助具は、前記給電線の外側延長上で、前記受電部を前記給電線に向けてガイドする受電部補助ガイドを含む、搬送車設置装置。
【請求項7】
請求項6に記載の搬送車設置装置であって、
前記受電部補助ガイドの一端から前記給電線に向って延びて前記受電部を前記給電線に向けてガイドする介在ガイド部材をさらに備える、搬送車設置装置。
【請求項8】
請求項1又は請求項2に記載の搬送車設置装置と、
前記自動倉庫と、
を備える自動倉庫システム。
【請求項9】
請求項8に記載の自動倉庫システムであって、
前記搬送車設置補助具を吊下げる吊下装置をさらに備える、自動倉庫システム。
【請求項10】
複数段の棚と、
入庫される物品を入庫用の高さ位置から格納箇所に対応する前記段の高さ位置に移動させる入庫処理、および出庫される物品を格納箇所に対応する前記段の高さ位置から出庫用の高さ位置に移動させる出庫処理、の少なくとも一方を行う昇降装置と、
前記段に関連づけられて上下に積層され、前記棚に隣接して水平方向に沿って延びるように配置される複数の水平レールと、
対応する前記水平レール上を走行し、前記昇降装置と前記棚との間で物品を搬送する複数の搬送車と、
を有する自動倉庫を、施工場所にて製造する自動倉庫の製造方法であって、
昇降ガイドレールを、複数の前記水平レールを上下に跨ぐように設置し、
前記搬送車を搬送車設置補助具で支持し、
前記搬送車設置補助具の一端を前記昇降ガイドレールで支持しつつ上昇移動させて、前記搬送車設置補助具を、複数の前記水平レールのいずれかに対応する位置で停止させ、
前記搬送車設置補助具を停止させた状態で、前記搬送車設置補助具上の前記搬送車を、前記水平レールに移載する、自動倉庫の製造方法。
発明の詳細な説明
【技術分野】
【0001】
この開示は、搬送車設置装置、自動倉庫システム及び自動倉庫の製造方法に関する。
続きを表示(約 1,400 文字)
【背景技術】
【0002】
特許文献1は、一対の収納棚に跨るように配置された支持部材を備える自動倉庫を開示している。支持部材は、搬送台車を吊り下げる第1吊り下げ装置を支持する第1支持部と、搬送台車を吊り下げる第2吊り下げ装置を支持する第2支持部とを備えている。
【0003】
特許文献1には、第1吊り下げ装置及び第2吊り下げ装置により吊り下げられた搬送台車を、一対のレール部の間を通して下方に取出すことが容易となることが開示されている。
【先行技術文献】
【特許文献】
【0004】
特開2019-142668号公報
【発明の概要】
【発明が解決しようとする課題】
【0005】
搬送車を、自動倉庫の水平レール上に容易に設置できるようにすることが望まれる。
【0006】
そこで、本開示は、搬送車を、自動倉庫の水平レール上に容易に設置できるようにすることを目的とする。
【課題を解決するための手段】
【0007】
搬送車設置装置は、複数段の棚と、入庫される物品を入庫用の高さ位置から格納箇所に対応する前記段の高さ位置に移動させる入庫処理、および出庫される物品を格納箇所に対応する前記段の高さ位置から出庫用の高さ位置に移動させる出庫処理、の少なくとも一方を行う昇降装置と、前記段に関連づけられて上下に並んで配置され、前記棚に隣接して水平方向に沿って延びるように配置される複数の水平レールと、対応する前記水平レール上を走行し、前記昇降装置と前記棚との間で物品を搬送する複数の搬送車と、を有する自動倉庫において、使用される搬送車設置装置であって、前記搬送車を支持する搬送車支持体と、前記搬送車支持体に設けられた被ガイド体と、を含む搬送車設置補助具と、前記被ガイド体を昇降移動可能に支持する昇降ガイドレールと、を備え、前記昇降ガイドレールは、複数の前記水平レールを上下に跨ぐように延びる、搬送車設置装置である。
【0008】
自動倉庫システムは、上記搬送車設置装置と、前記自動倉庫と、を備える。
【0009】
自動倉庫の製造方法は、複数段の棚と、入庫される物品を入庫用の高さ位置から格納箇所に対応する前記段の高さ位置に移動させる入庫処理、および出庫される物品を格納箇所に対応する前記段の高さ位置から出庫用の高さ位置に移動させる出庫処理、の少なくとも一方を行う昇降装置と、前記段に関連づけられて上下に積層され、前記棚に隣接して水平方向に沿って延びるように配置される複数の水平レールと、対応する前記水平レール上を走行し、前記昇降装置と前記棚との間で物品を搬送する複数の搬送車と、を有する自動倉庫を、施工場所にて製造する自動倉庫の製造方法であって、昇降ガイドレールを、複数の前記水平レールを上下に跨ぐように設置し、前記搬送車を搬送車設置補助具で支持し、前記搬送車設置補助具の一端を前記昇降ガイドレールで支持しつつ上昇移動させて、前記搬送車設置補助具を、複数の前記水平レールのいずれかに対応する位置で停止させ、前記搬送車設置補助具を停止させた状態で、前記搬送車設置補助具上の前記搬送車を、前記水平レールに移載する、自動倉庫の製造方法である。
【発明の効果】
【0010】
本開示によると、搬送車を、自動倉庫の水平レール上に容易に設置できる。
【図面の簡単な説明】
(【0011】以降は省略されています)
この特許をJ-PlatPat(特許庁公式サイト)で参照する
関連特許
株式会社イトーキ
家具システム
1か月前
株式会社イトーキ
開き型おむつ
1か月前
株式会社イトーキ
什器システムおよび会議システム
27日前
株式会社イトーキ
ボード、ボードの製造方法、及びテーブル
27日前
株式会社イトーキ
搬送車設置装置、自動倉庫システム及び自動倉庫の製造方法
1日前
株式会社イトーキ
積層合板及びそれを用いた椅子ならびに積層合板の製造方法
1か月前
株式会社イトーキ
介護用ベッド
1か月前
株式会社イトーキ
介護用ロボット
1か月前
株式会社イトーキ
パネル付き椅子ユニット
1か月前
株式会社イトーキ
用途決定装置、用途表示装置、排出情報送信装置、用途決定表示システム、用途決定装置の制御方法、用途表示装置の制御方法、および排出情報送信装置の制御方法
今日
個人
収容箱
4か月前
個人
束ね具
23日前
個人
コンベア
6か月前
個人
段ボール箱
8か月前
個人
ゴミ収集器
8か月前
個人
容器
10か月前
個人
段ボール箱
8か月前
個人
バンド
3か月前
個人
宅配システム
8か月前
個人
テープ引出機
23日前
個人
楽ちんハンド
6か月前
個人
土嚢運搬器具
9か月前
個人
角筒状構造体
6か月前
個人
廃棄物収容容器
3か月前
個人
コード類収納具
9か月前
個人
棒状体収容容器
27日前
個人
閉塞装置
11か月前
個人
お薬の締結装置
7か月前
個人
包装容器
2か月前
株式会社和気
包装用箱
1か月前
個人
蓋閉止構造
5か月前
個人
蓋閉止構造
5か月前
個人
積み重ね用補助具
4か月前
個人
貯蔵サイロ
8か月前
株式会社和気
包装用箱
10か月前
個人
ゴミ処理機
10か月前
続きを見る
他の特許を見る