TOP
|
特許
|
意匠
|
商標
特許ウォッチ
Twitter
他の特許を見る
10個以上の画像は省略されています。
公開番号
2025159028
公報種別
公開特許公報(A)
公開日
2025-10-17
出願番号
2025131286,2025518855
出願日
2025-08-06,2024-12-19
発明の名称
介護用ロボット
出願人
株式会社イトーキ
代理人
個人
,
個人
主分類
A61F
5/44 20060101AFI20251009BHJP(医学または獣医学;衛生学)
要約
【課題】排泄処理にかかる身体的又は心理的な負担を下げることが可能な介護用装置を提供できるようにすることを目的とする。
【解決手段】介護用ロボットは、被介護者のオムツの取り付けを行う。介護用ロボットは、前記オムツを把持するハンドと、前記オムツを把持した前記ハンドを移動させるアームと、前記ハンド及び前記アームを制御する制御部と、を備える。前記制御部は、前記ハンドが前記被介護者の股の間を通過するように前記アームによって前記ハンドを移動させる。
【選択図】図35
特許請求の範囲
【請求項1】
被介護者のオムツの取り付けを行う介護用ロボットであって、
前記オムツを把持するハンドと、
前記オムツを把持した前記ハンドを移動させるアームと、
前記ハンド及び前記アームを制御する制御部と、
を備え、
前記制御部は、前記ハンドが前記被介護者の股の間を通過するように前記アームによって前記ハンドを移動させる、介護用ロボット。
続きを表示(約 800 文字)
【請求項2】
請求項1に記載の介護用ロボットであって、
前記ハンドは、前記オムツの腹側部を把持する第1のハンドを含み、
前記制御部は、前記被介護者の臀部よりも下に位置する前記オムツの前記腹側部を把持した前記第1のハンドが前記被介護者の股の間を通過するように前記アームによって前記第1のハンドを移動させる、介護用ロボット。
【請求項3】
請求項2に記載の介護用ロボットであって、
前記ハンドは、前記オムツの背側部のうち左側部分を把持する第2のハンドと、前記オムツの前記背側部のうち右側部分を把持する第3のハンドとを含み、
前記制御部は、前記被介護者の臀部よりも下に位置する前記オムツの前記背側部を把持した前記第2のハンド及び前記第3のハンドが前記被介護者の腹よりも上まで移動するように前記アームによって前記第2のハンド及び前記第3のハンドを移動させる、介護用ロボット。
【請求項4】
請求項1から請求項3のいずれか1項に記載の介護用ロボットであって、
前記アームを支持する支持部が、前記被介護者の臀部よりも下側の底壁に支持される、介護用ロボット。
【請求項5】
請求項4に記載の介護用ロボットであって、
前記支持部が、第1位置と、前記第1位置よりも前記被介護者の足側の第2位置との間でスライド可能である、介護用ロボット。
【請求項6】
請求項1から請求項3のいずれか1項に記載の介護用ロボットであって、
前記アームを支持する支持部が、立壁又は天井に支持される、介護用ロボット。
【請求項7】
請求項6に記載の介護用ロボットであって、
前記支持部が、第1位置と、前記第1位置よりも前記被介護者の足側の第2位置との間でスライド可能である、介護用ロボット。
発明の詳細な説明
【技術分野】
【0001】
この開示は、介護用ロボットに関する。
続きを表示(約 3,300 文字)
【背景技術】
【0002】
特許文献1は、大部屋を準個室化するための収納・仕切り兼備式家具装置及び医療・介護施設を開示している。
【先行技術文献】
【特許文献】
【0003】
特開2007-319186号公報
【発明の概要】
【発明が解決しようとする課題】
【0004】
介護行動の一つに排泄処理がある。排泄処理は、介護者及び被介護者にとって、重労働かつデリケートな介護である。排泄処理にかかる身体的又は心理的な負担を下げることが望まれている。
【0005】
そこで本開示は、排泄処理にかかる身体的又は心理的な負担を下げることが可能な介護用装置を提供できるようにすることを目的とする。
【課題を解決するための手段】
【0006】
上記課題を解決するため、介護用ロボットは、被介護者のオムツの取り付けを行う介護用ロボットであって、前記オムツを把持するハンドと、前記オムツを把持した前記ハンドを移動させるアームと、前記ハンド及び前記アームを制御する制御部と、を備え、前記制御部は、前記ハンドが前記被介護者の股の間を通過するように前記アームによって前記ハンドを移動させる。
【発明の効果】
【0007】
この介護用ロボットによると、ロボットがオムツを把持して被介護者の股の間を通過させることができるため、排泄処理にかかる身体的又は心理的な負担を下げることができる。
【図面の簡単な説明】
【0008】
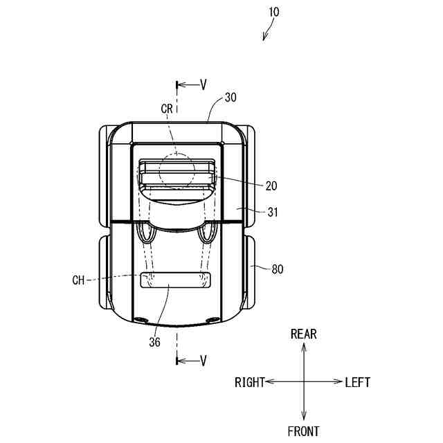
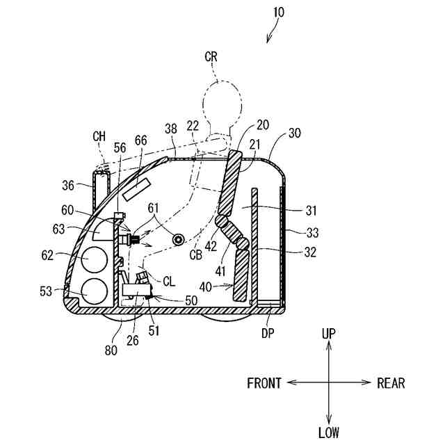
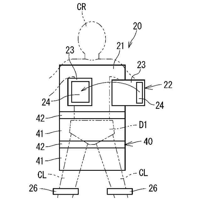
図1は実施形態1にかかる介護用装置を示す斜視図である。
図2は実施形態1にかかる介護用装置を示す平面図である。
図3は実施形態1にかかる介護用装置を示す正面図である。
図4は実施形態1にかかる介護用装置を示す側面図である。
図5は図2のV-V線に沿った断面図である。
図6は支持部を説明する図である。
図7は防水部を説明する図である。
図8は介護用装置を用いて排泄処理を行っている様子を示す図である。
図9は介護用装置を用いて排泄処理を行っている様子を示す図である。
図10は介護用装置を用いて排泄処理を行っている様子を示す図である。
図11は介護用装置の第1変形例を示す図である。
図12は介護用装置の第2変形例を示す図である。
図13は介護用装置の第3変形例を示す図である。
図14は介護用装置の第3変形例を示す図である。
図15は介護用装置の第4変形例を示す図である。
図16は介護用装置の第5変形例を示す図である。
図17は介護用装置の第6変形例を示す図である。
図18は介護用装置の第6変形例を示す図である。
図19は実施形態2にかかる介護用装置の内部構成を示す概略側面図である。
図20は実施形態2にかかる介護用装置の内部構成を示す概略平面図である。
図21は実施形態2にかかる介護用装置のシンク下の構成を示す概略平面図である。
図22は実施形態2にかかる介護用装置のロボットハンドを示す概略斜視図である。
図23は実施形態2にかかる介護用装置を示す概略断面図である。
図24は実施形態2にかかる介護用装置を示す概略断面図である。
図25は介護用装置において前処理工程を行っている様子を示す図である。
図26は介護用装置において前処理工程を行っている様子を示す図である。
図27は介護用装置を用いて前処理工程を行っている様子を示す図である。
図28は介護用装置を用いて前処理工程を行っている様子を示す図である。
図29は介護用装置を用いて前処理工程を行っている様子を示す図である。
図30は介護用装置を用いて前処理工程を行っている様子を示す図である。
図31は介護用装置を用いてオムツ交換処理を行っている様子を示す図である。
図32はオムツ及びカートリッジを示す平面図である。
図33はロボットハンドがオムツを取り付けている様子を示す図である。
図34はロボットハンドがオムツを取り付けている様子を示す図である。
図35はロボットハンドがオムツを取り付けている様子を示す図である。
図36はロボットハンドがオムツを取り付けている様子を示す図である。
図37は下肢用エアクッションの変形例を示す図である。
図38は下水タンクの変形例を示す図である。
図39は変形例にかかるカートリッジを示す図である。
図40はカートリッジの動作例を示す図である。
図41はカートリッジの動作例を示す図である。
図42はカートリッジを用いたオムツ装着の動作例を示す図である。
図43はカートリッジを用いたオムツ装着の動作例を示す図である。
図44はカートリッジを用いたオムツ装着の動作例を示す図である。
図45は実施形態3に係る介護用装置を示す概略斜視図である。
図46は座位モードの介護用装置を示す概略斜視図である。
図47は臥位モードの介護用装置を示す概略斜視図である。
図48は介護用装置の変形例を示す概略斜視図である。
図49は立壁部を示す平面図である。
図50は介護用装置の内部構成を示す概略側面図である。
図51は装着ユニットを示す概略平面図である。
図52は介護用装置を用いてオムツ交換処理を行っている様子を示す図である。
図53は介護用装置を用いてオムツ交換処理を行っている様子を示す図である。
図54は介護用装置を用いてオムツ交換処理を行っている様子を示す図である。
図55は介護用装置を用いてオムツ交換処理を行っている様子を示す図である。
図56は介護用装置を用いてオムツ交換処理を行っている様子を示す図である。
図57は介護用装置を用いてオムツ交換処理を行っている様子を示す図である。
図58は介護用装置を用いてオムツ交換処理を行っている様子を示す図である。
図59は介護用装置を用いてオムツ交換処理を行っている様子を示す図である。
図60は介護用装置を用いてオムツ交換処理を行っている様子を示す図である。
【発明を実施するための形態】
【0009】
[実施形態1]
以下、実施形態1に係る介護用装置について説明する。図1は実施形態1にかかる介護用装置10を示す斜視図である。図2は実施形態1にかかる介護用装置10を示す平面図である。図3は実施形態1にかかる介護用装置10を示す正面図である。図4は実施形態1にかかる介護用装置10を示す側面図である。図5は図2のV-V線に沿った断面図である。図6は支持部20を説明する図である。図7は防水部38を説明する図である。
【0010】
介護用装置10は、被介護者CRの排泄処理を行うための装置である。排泄処理は、例えば、被介護者CRに装着されたオムツDの取り外しと、被介護者CRへの新しいオムツDの取り付けとのうち少なくとも一方を含む。排泄処理は、必要に応じて、被介護者CRの陰部を含む臀部CB周りの洗浄などを含みうる。なお、以下では、オムツDに関して区別が必要な場合、被介護者CRに装着された状態で交換対象のものをオムツD1と呼び、当該オムツD1が被介護者CRから取り外されて廃棄対象となったものをオムツD2と呼び、被介護者CRに新たに取り付けられるものをオムツD3と呼ぶことがある。オムツDは、テープタイプであってもよいし、パンツタイプであってもよいし、新たなシート状の巻き付けタイプであってもよい。
(【0011】以降は省略されています)
この特許をJ-PlatPat(特許庁公式サイト)で参照する
関連特許
株式会社イトーキ
家具システム
1か月前
株式会社イトーキ
開き型おむつ
1か月前
株式会社イトーキ
什器および什器システム
今日
株式会社イトーキ
什器システムおよび会議システム
28日前
株式会社イトーキ
ボード、ボードの製造方法、及びテーブル
28日前
株式会社イトーキ
搬送車設置装置、自動倉庫システム及び自動倉庫の製造方法
2日前
株式会社イトーキ
積層合板及びそれを用いた椅子ならびに積層合板の製造方法
1か月前
株式会社イトーキ
介護用ベッド
1か月前
株式会社イトーキ
コンベア支持装置、自動倉庫システム、及び、コンベア移動方法
今日
株式会社イトーキ
介護用ロボット
1か月前
株式会社イトーキ
パネル付き椅子ユニット
1か月前
株式会社イトーキ
用途決定装置、用途表示装置、排出情報送信装置、用途決定表示システム、用途決定装置の制御方法、用途表示装置の制御方法、および排出情報送信装置の制御方法
1日前
個人
貼付剤
1か月前
個人
簡易担架
21日前
個人
健康器具
9か月前
個人
足踏み器具
28日前
個人
腋臭防止剤
21日前
個人
短下肢装具
4か月前
個人
歯茎みが品
10か月前
個人
鼾防止用具
9か月前
個人
排尿補助器具
1か月前
個人
白内障治療法
8か月前
個人
脈波測定方法
9か月前
個人
マッサージ機
10か月前
個人
前腕誘導装置
4か月前
個人
脈波測定方法
9か月前
個人
導電香
10か月前
個人
洗井間専家。
8か月前
個人
嚥下鍛錬装置
5か月前
個人
矯正椅子
6か月前
個人
水分吸収性物品
今日
個人
アイマスク装置
3か月前
個人
ウォート指圧法
1か月前
個人
バッグ式オムツ
5か月前
個人
胸骨圧迫補助具
3か月前
個人
汚れ防止シート
2か月前
続きを見る
他の特許を見る