TOP
|
特許
|
意匠
|
商標
特許ウォッチ
Twitter
他の特許を見る
公開番号
2025163633
公報種別
公開特許公報(A)
公開日
2025-10-29
出願番号
2024067097
出願日
2024-04-17
発明の名称
開き型おむつ
出願人
株式会社イトーキ
代理人
個人
,
個人
主分類
A61F
13/42 20060101AFI20251022BHJP(医学または獣医学;衛生学)
要約
【課題】開き型でありながらおむつらしさの外観が払拭されたおむつを提供する。
【解決手段】おむつは、リア部1とサイド部2と左右第1フロント部3,4とロア部5と第2フロント部6とを有している。左右の第1フロント部3,4を連結してから、第2フロント部6を巻きあげて第1フロント部3,4に固定することにより、パンツ状に保持される。各部1~6の股ぐり部7に、使用者の大腿部を被包する股下部8を設けている。おむつは、開き型でありながらトランクス型の外観を呈する。従って、おむつらしさが払拭されて下着に近い外観を呈する。このため、使用者の気持ちを前向きにして自己肯定感を高めることに貢献できる。
【選択図】図1
特許請求の範囲
【請求項1】
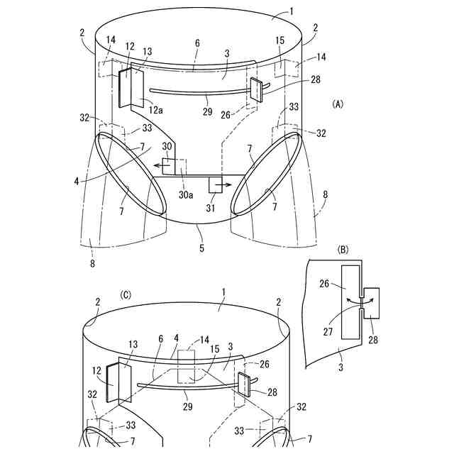
使用者の腰部裏面に重なるリア部と、
前記リア部と連続しつつ使用者の腰部側面に重なる左右のサイド部と、
前記サイド部と連続しつつ使用者の腹部に重なる左右の第1フロント部と、
前記リア部に一体と連続しつつ使用者の股部に重なるロア部と、
前記ロア部に連続しつつ使用者の腹部に重なる第2フロント部と、を有しており、
使用者が着用する前の状態で、前記左右の第1フロント部及び前記第2フロント部はそれぞれ自由端になった先端部を有しており、
使用者が着用した状態で、前記左右の第1フロント部と前記第2フロント部とが重なり合った状態に連結されることにより、使用者の大腿部の付け根に巻き付く股ぐり部が形成されるようになっていて、前記股ぐり部は伸縮性を有している開きタイプの介護用おむつであって、
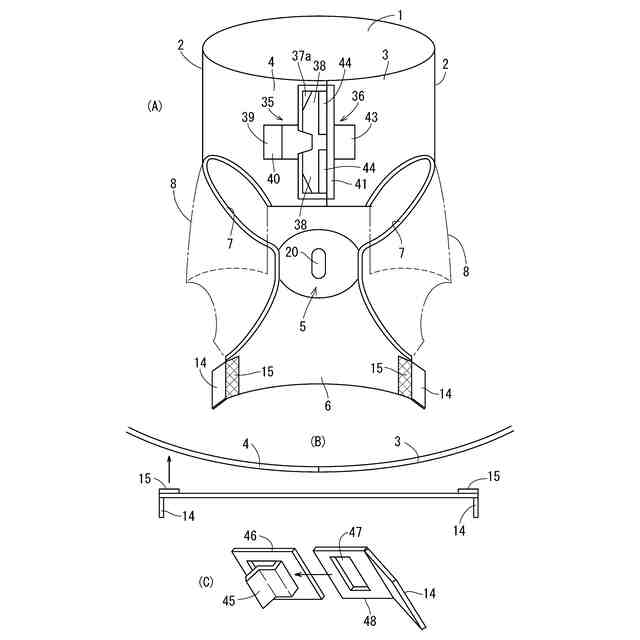
前記股ぐり部が形成された部に、使用者の大腿部の上部を囲う股下部が前記股ぐり部を覆った状態で設けられている、
開き型おむつ。
続きを表示(約 1,400 文字)
【請求項2】
前記ロア部の内面を中心にした部位に白色の排泄物吸収部が配置されており、
前記排泄物吸収部を除いた部位の少なくとも外面は、黒系又は他の暗色に設定されている、
請求項1に記載した開き型おむつ。
【請求項3】
前記股ぐり部は使用者の鼠蹊部に沿うように形成されていて、前記リア部とサイド部とフロント部とロア部とで構成された胴周り部と前記股下部との境界が前記股ぐり部になっており、
前記胴周り部の内面は全体又は大部分が白又は白系統の色の素材からなっている一方、
前記胴周り部の外面と前記股下部の外面とは、その全体に有彩色の単色又は同一模様が施されているか、若しくは胴周り部の外面と股下部の外面とが異なる外観を呈しており、
前記胴周り部の外面と股下部の外面とが異なる外観として、両方とも異なる有彩色である場合と、両方とが異なる模様である場合と、一方は単一有彩色で他方は模様である場合、とを含んでおり、
かつ、前記単一色の違いには同じ色での濃淡の違いも含んでいる、
請求項1に記載した開き型おむつ。
【請求項4】
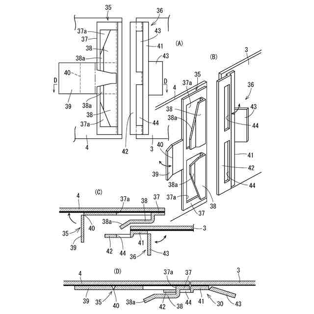
前記股下部に、筒状に保持するための接続手段を設けている、
請求項1~3のうちのいずれかに記載した開き型おむつ。
【請求項5】
着用状態において、前記股ぐり部は、表面側において使用者の鼠蹊部に沿って延びるように切れ上がっており、前記股下部の上下幅を前記ロア部から遠ざかるに従って大きくすることにより、前記股下部の下端がほぼ同じ高さに揃っている、
請求項1~3のうちのいずれかに記載した開き型おむつ。
【請求項6】
使用者が着用した状態で、前記第1フロント部と前記に第2フロント部とが部分的に重複するように設定されており、前記股下部も、使用者が着用した状態で、前記第1フロント部に設けた部分と前記第2フロント部に設けた部分とが、使用者の鼠蹊部に沿って部分的に重複するように設定されている、
請求項1~3のうちのいずれかに記載した開き型おむつ。
【請求項7】
前記左右の第1フロント部には、当該第1フロント部を連結するための第1係合手段が設けられて、前記左右の第1フロント部又は前記左右のサイド部と前記第2フロント部の左右両端部とには、前記第2フロント部を第1フロント部又はサイド部に連結する第2係合手段が設けられている、
請求項1~3のうちのいずれかに記載した開き型おむつ。
【請求項8】
前記第1連結手段は、前記左右の第1フロント部を部分的に重ねて押圧・剥離することで係脱する面ファスナ方式又は粘着テープ方式である、
請求項7に記載した開き型おむつ。
【請求項9】
前記巻き上げ重合部の上端部の左右中間部と前記第1フロント部とに、押圧・剥離にて係脱する面ファスナ方式又は粘着テープ方式の第3連結手段を設けている、
請求項8に記載した開き型おむつ。
【請求項10】
前記第1係合手段は、前記左右の第1フロント部の先端部にそれぞれ設けた第1摘み片付きの第1係合体を有して、前記左右の第1摘み片を左右動させることによって係脱可能になっている、
請求項7に記載した開き型おむつ。
発明の詳細な説明
【技術分野】
【0001】
本願発明は、介護用に好適な開き型おむつに関するものである。
続きを表示(約 1,700 文字)
【背景技術】
【0002】
我が国を初めとして多くの国で高齢化が進んでおり、これに伴って要介護者の数も増大している。要介護のレベルには段階があるが、使用者の多くがおむつを使用している。おむつは、使用者が股ぐり部に足(脚)を挿入して穿くパンツ型(例えば特許文献1,2)と、左右に開かれた状態に形成されていて左右のテープで固定する開き型とに大別され、使用者が寝たきりの場合は、交換(着脱)の容易性から開き型が多用されている。
【0003】
付言すると、開き型のおむつの交換に際しては、介護者は、使用者の身体を仰向けに寝た状態や右向きに寝た状態、左向きに寝た状態と姿勢を変えながら、古いおむつの取り外しと新しいおむつの装着、そして陰部等の洗浄を一連に行っている。
【0004】
さて、開き型のおむつについて更に述べると、おむつは、使用者の腰部背面から腰部の左右側面を経由して使用者の腹部に延びる胴周り部と、胴周り部に連続して使用者の腹部に巻き上げられる巻き上げ重合部とを有しており、胴周り部のうち使用者の腹部に重なるフロント部(前身頃)が左右に分離した形態になっている。
【0005】
そして、巻き上げ重合部を使用者の腹部に重ねてから、巻き上げ重合部に対して左右のフロント部を重ねてテープで固定する方式と、胴周り部を構成する左右のフロント部をベルト状部に形成して、左右のベルト状部を面ファスナや粘着テープなどで固定してから、巻き上げ重合部をベルト状部に対して粘着テープ等で固定する方式(例えば特許文献3,4)とがある。前者の方式は、文献を提示するまでもなく広く使用されている。
【0006】
寝たきりの人のおむつ交換は細かい作業の連続であるため人手に頼っているが、おむつの交換において使用者は陰部を曝して介護者の作業に委ねるため、介護者にとって重労働であるだけでなく、使用者の羞恥心や介護者の心苦しさなどがあって、使用者と介護者との双方にとって心理的負担を感じる問題もある。我が国において、介護の大半は家庭での介護(在宅介護)が占めているが、家庭での介護は特定の人に犠牲が強いられる側面があるため、特に、福祉政策において直視すべき問題である。
【0007】
従って、おむつ交換に関して、介護者及び使用者の双方の肉体的・心理的負担を軽減できる技術が要請されているといえるが、本願出願人はこのような要請に応えるべく、特許文献5において、寝たきりの使用者のおむつ交換を可能にするロボットシステムを開示した。
【先行技術文献】
【特許文献】
【0008】
特開2008-253290号公報
特開2010-227505号公報
特許第6103920号公報
特開平3-136652号公報
特許第7349038号公報
【発明の概要】
【発明が解決しようとする課題】
【0009】
さて、介護用のおむつは、我が国において数百万人が使用しているが、進んで使用している人の数は皆無に近く、できることなら使用したくないが、止むを得ずに使用している(或いは使用させられている)人が殆どである。そして、人としての基本機能である排泄を自分でコントロールできずにおむつを使用せざるを得ない状況は、自尊心の低下や自己否定感の増大を惹起し、結果として、ADL(日常基礎動作機能)の低下をもたらしていると云える。
【0010】
従って、おむつを使用せざるを得ない実情は是としつつ、使用者の不快感を軽減できると共に介護者の負担を軽減できる技術の開発や、介護現場のサポートが要請されていると云える。本願出願人が提案した特許文献5の介護ロボットはこのような社会的要請に技術面から応えるものであるが、更に、本願発明者たちは、使用者の視点に立って考察し、デザイン面での改良の必要性を見出すに至った。
(【0011】以降は省略されています)
この特許をJ-PlatPat(特許庁公式サイト)で参照する
関連特許
株式会社イトーキ
家具システム
1か月前
株式会社イトーキ
開き型おむつ
1か月前
株式会社イトーキ
什器システムおよび会議システム
27日前
株式会社イトーキ
ボード、ボードの製造方法、及びテーブル
27日前
株式会社イトーキ
搬送車設置装置、自動倉庫システム及び自動倉庫の製造方法
1日前
株式会社イトーキ
積層合板及びそれを用いた椅子ならびに積層合板の製造方法
1か月前
株式会社イトーキ
介護用ベッド
1か月前
株式会社イトーキ
介護用ロボット
1か月前
株式会社イトーキ
パネル付き椅子ユニット
1か月前
株式会社イトーキ
用途決定装置、用途表示装置、排出情報送信装置、用途決定表示システム、用途決定装置の制御方法、用途表示装置の制御方法、および排出情報送信装置の制御方法
今日
個人
貼付剤
1か月前
個人
簡易担架
20日前
個人
腋臭防止剤
20日前
個人
短下肢装具
4か月前
個人
足踏み器具
27日前
個人
排尿補助器具
1か月前
個人
洗井間専家。
8か月前
個人
白内障治療法
8か月前
個人
前腕誘導装置
4か月前
個人
嚥下鍛錬装置
5か月前
個人
アイマスク装置
3か月前
個人
テスト肺
1日前
個人
矯正椅子
6か月前
個人
ホバーアイロン
7か月前
個人
汚れ防止シート
2か月前
個人
胸骨圧迫補助具
3か月前
個人
腰ベルト
1か月前
個人
ウォート指圧法
1か月前
個人
歯の修復用材料
5か月前
個人
バッグ式オムツ
5か月前
個人
排尿排便補助器具
22日前
個人
湿布連続貼り機。
3か月前
個人
陣痛緩和具
5か月前
三生医薬株式会社
錠剤
8か月前
個人
車椅子持ち上げ器
8か月前
個人
歯の保護用シール
6か月前
続きを見る
他の特許を見る