TOP
|
特許
|
意匠
|
商標
特許ウォッチ
Twitter
他の特許を見る
10個以上の画像は省略されています。
公開番号
2025148547
公報種別
公開特許公報(A)
公開日
2025-10-07
出願番号
2025120301,2023222040
出願日
2025-07-17,2017-01-30
発明の名称
パネル付き椅子ユニット
出願人
株式会社イトーキ
代理人
個人
,
個人
主分類
A47B
83/02 20060101AFI20250930BHJP(家具;家庭用品または家庭用設備;コーヒーひき;香辛料ひき;真空掃除機一般)
要約
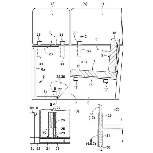
【課題】作業性に優れていると共にクローズド性とオープン性とが調和した複合家具を提
供する。
【解決手段】家具は、座1と背もたれ2から成る椅子部3と、椅子部3を囲うサイドパネ
ル4,5とバックパネル6とを有している。一方のサイドパネル4,5の手前にフロント
パネル7が配置されており、フロントパネル7に、前後回動式の支柱8を介してテーブル
板9が前後位置調節可能に取り付けられている。各パネル4,5,6,8には、薄い囲い
板11,12を設けている。テーブル板9は前後位置を調節できるため、姿勢等に応じて
ノートパソコン等を適切に位置において使用できる。囲い板11で囲いつつ使用者の前方
は開口しているため、クローズド性とオープン性とが調和した環境を実現できる。
【選択図】図1
特許請求の範囲
【請求項1】
座及び背もたれを有する椅子部と、前記椅子部の手前に配置されたテーブル板とを備え
ており、
前記椅子部の左右外側のうち少なくとも片側に、着座した人の肘程度の高さかそれ以上
の高さのサイドパネルが配置されており、前記サイドパネルに、前記椅子部の手前側に突
出したフロントパネルを一体に又は別体に設けて、前記フロントパネル又はこれに連結さ
れた部材に、前記テーブル板が前後位置変更可能に取り付けられている、
椅子部及びテーブル板付き複合家具。
続きを表示(約 1,200 文字)
【請求項2】
前記テーブル板は、前記椅子部から最も遠くに離れた状態では略水平姿勢で、水平に対
して後傾しながら前記椅子部に近づくように設定されている、
請求項1に記載した椅子部及びテーブル板付き複合家具。
【請求項3】
前記フロントパネルの内側面に、上下に長い支柱が、その下端部を支点にして前後に回
動するように取り付けられていて、前記支柱の上端に前記テーブル板が取り付けられてお
り、前記テーブル板は、側面視姿勢を変えつつ前後移動するようになっている、
請求項2に記載した椅子部及びテーブル板付き複合家具。
【請求項4】
前記支柱の回動支点は、前記テーブル板の前端よりも後ろに位置している、
請求項3に記載した椅子部及びテーブル板付き複合家具。
【請求項5】
前記テーブル板は、前記フロントパネル又はこれに連結された部材に対して、前後動自
在及び回動可能に取付けられている、
請求項1に記載した椅子及びテーブル板付き複合家具。
【請求項6】
前記椅子部の左右両側にはサイドパネルが配置されて、前記椅子部の後ろにはバックパ
ネルが配置されており、これら左右サイドパネルとバックパネルとは一体に連続しており
、片方のサイドパネルの前端面に、別部材として前記フロントパネルが取り付けられてい
る、
請求項1~5のうちのいずれかに記載した椅子部及びテーブル板付き複合家具。
【請求項7】
前記サイドパネルとバックパネルとフロントパネルとは着座した人の肘が載る程度の高
さであって、前記各パネルに薄い囲い板を立設しており、かつ、前記左右サイドパネル及
びフロントパネルでは、前記囲い板は左右外側寄りにずらして配置されており、前記サイ
ドパネル及びフロントパネルの上面を、前記囲い板の内側に人の肘を載せ得る面積が残る
ような左右横幅に設定している、
請求項6に記載した椅子部及びテーブル板付き複合家具。
【請求項8】
前記フロントパネルの前端部に、最も手前に配置された状態でのテーブル板の前端の近
傍に位置した前幕板が連結されている、
請求項1~7のうちのいずれかに記載した椅子部及びテーブル板付き複合家具。
【請求項9】
前記前幕板の下端に、床に接地する底板を一体に設けている、
請求項8に記載した椅子部及びテーブル板付き複合家具。
【請求項10】
前記サイドパネルは、人の肘を載せ得る程度の左右幅を有しており、前記サイドパネル
に、前記椅子部に向けて開口した物品収納用の空洞部を形成している、
請求項1~9のうちのいずれかに記載した椅子部及びテーブル板付き複合家具。
(【請求項11】以降は省略されています)
発明の詳細な説明
【技術分野】
【0001】
本願発明は、椅子部とテーブル板とを備えた執務用複合家具に関するものである。
続きを表示(約 1,700 文字)
【背景技術】
【0002】
従来、オフィスでの執務用家具としては、一般に机と椅子がセットで使用されており、
例えば、一人用又は複数人用の机を左右に並べて、多数人が一列に並んで執務を行うスタ
イルが多かった。机の列を背中合わせに配置することもよく行われている。これらの伝統
的なワーキングスタイルでは、特定の人が特定の席を使用するという固定アドレス方式が
一般的である。
【0003】
しかし、近年、オフィスでのワーキングスタイルが大きく変貌しつつある。例えば、特
定の席を持たずに、好きな席について仕事をするフリーアドレス方式(ノンテリトアル方
式)や、1人用に独立した席で執務するスタイル、或いは、複数人が使用できる席が固ま
っているグループワーキングスタイルなどである。
【0004】
これらのワーキングスタイルの変化の背景の一つとして、作業ツールとしてのノートパ
ソコンやタブレット端末などの情報機器の小型化がある。つまり、これらノートパソコン
やタブレット端末などは持ち運び自在であるため、特定の席で執務する必要性が無くなり
、その結果、フリーアドレス方式が大きく進展している。
【0005】
他の背景として、ワーカーの創作能力を引き出すための環境作りが進んだことが挙げら
れる。すなわち、ワーカーの創作能力を高めて知的生産性を上げるには、思索に集中でき
る環境やリラックスできる環境、或いは、同僚等と討議等して知的刺激を受けることが容
易な環境が必要であり、そこで、席の独立化やグループ化が進展している。従って、目的
に応じて席を選択できるようにするのが好ましい。
【0006】
ワーカーの集中力やリラックス性との関係では、ワーカーを取り巻く環境のクローズド
性とオープン性とのバランスが重要である。例えば、完全な個室であると、外からの刺激
が薄れ過ぎて緊張感が無くなり、却って生産性が落ちてしまうことが多い。他方、広いフ
ロアーに点在しているテーブルを使用して1人で執務する場合のように、過度にオープン
な環境であると、他人の動きや会話で気が散ったり他人の視線が気になったりするため、
思索に集中し難いのみならず、他人に遠慮してリラックスした姿勢(例えば背伸びや瞑想
)も取りづらいと云える。
【0007】
更に、知的生産性には、ノートパソコンのような機器の操作容易性も密接に関連してい
る。すなわち、ノートパソコンのような機器を手足のように扱いやすい環境であると仕事
もはかどるが、機器を使いにくいと、操作に気を取られて肝心の思索が疎かになってしま
うのみならず、身体(例えば腕)の負担増を引き起こして疲労を促進することにもなり兼
ねない。
【0008】
そこで、実際の家具(什器)に眼をやると、オープン性の高い家具として、例えば特許
文献1,2がある。すなわち、特許文献1,2は、ソファタイプの椅子に折り畳み式のテ
ーブル板を取り付けたものであり、テーブル板を水平姿勢にすると、ノートパソコンを使
用することができる。
【0009】
他方、クローズド性が高い執務用家具として、例えば特許文献3がある。この特許文献
3は、平面視卍形の間仕切りで空間を仕切って4つの作業空間を形成したものであり、各
作業空間には、天板が、その背面を間仕切壁に当てた状態で取り付けられている。従って
、人は、間仕切壁に向いて作業を行うことになる。
【先行技術文献】
【特許文献】
【0010】
特開2011-125616号公報
特開2002-58564号公報
実開平05-29368号のCD-ROM
【発明の概要】
【発明が解決しようとする課題】
(【0011】以降は省略されています)
この特許をJ-PlatPat(特許庁公式サイト)で参照する
関連特許
株式会社イトーキ
家具システム
1か月前
株式会社イトーキ
開き型おむつ
1か月前
株式会社イトーキ
什器システムおよび会議システム
27日前
株式会社イトーキ
ボード、ボードの製造方法、及びテーブル
27日前
株式会社イトーキ
搬送車設置装置、自動倉庫システム及び自動倉庫の製造方法
1日前
株式会社イトーキ
積層合板及びそれを用いた椅子ならびに積層合板の製造方法
1か月前
株式会社イトーキ
介護用ベッド
1か月前
株式会社イトーキ
介護用ロボット
1か月前
株式会社イトーキ
パネル付き椅子ユニット
1か月前
株式会社イトーキ
用途決定装置、用途表示装置、排出情報送信装置、用途決定表示システム、用途決定装置の制御方法、用途表示装置の制御方法、および排出情報送信装置の制御方法
今日
個人
箸
1か月前
個人
椅子
3か月前
個人
家具
4か月前
個人
自助箸
7か月前
個人
掃除機
9か月前
個人
掃除用具
4か月前
個人
枕
5か月前
個人
多用途紐
1か月前
個人
耳拭き棒
11か月前
個人
掃除道具
9か月前
個人
枕
9か月前
個人
ソファー
2か月前
個人
屋外用箒
7か月前
個人
ハンガー
7か月前
個人
体洗い具
10か月前
個人
片手代替具
11か月前
個人
開閉トング
6か月前
個人
掃除シート
10か月前
個人
省煙消臭器
9か月前
個人
組立式棚板
7か月前
個人
物品
3か月前
個人
経典表示装置
5か月前
個人
バターナイフ
1か月前
個人
ゴミ袋保持枠
7か月前
個人
シャワー装置
6か月前
個人
靴ベラ
2か月前
続きを見る
他の特許を見る