TOP
|
特許
|
意匠
|
商標
特許ウォッチ
Twitter
他の特許を見る
10個以上の画像は省略されています。
公開番号
2025176537
公報種別
公開特許公報(A)
公開日
2025-12-04
出願番号
2024082758
出願日
2024-05-21
発明の名称
基板押圧装置、フラックス塗布装置、ローラ清掃装置、および基板押圧方法
出願人
パナソニックIPマネジメント株式会社
代理人
弁理士法人河崎特許事務所
主分類
H05K
3/34 20060101AFI20251127BHJP(他に分類されない電気技術)
要約
【課題】半田プリコートへの異物付着を抑制する。
【解決手段】開示される基板押圧装置10は、複数の半田プリコートが形成された第1主面80aおよびその反対側の第2主面80bを有する基板80の第2主面80bを下方から支持する基板支持部24と、基板支持部24に支持された基板80を第1主面80a側から押圧するローラ32と、ローラ32の表面を清掃するローラ清掃装置50と、を備える。
【選択図】図1
特許請求の範囲
【請求項1】
複数の半田プリコートが形成された第1主面およびその反対側の第2主面を有する基板の前記第2主面を下方から支持する基板支持部と、
前記基板支持部に支持された前記基板を前記第1主面側から押圧するローラと、
前記ローラの表面を清掃するローラ清掃装置と、
を備える、基板押圧装置。
続きを表示(約 1,000 文字)
【請求項2】
前記ローラ清掃装置は、前記ローラの表面に接触する清掃部材を有する、請求項1に記載の基板押圧装置。
【請求項3】
前記ローラは、その回転軸に沿って延びる形状を有し、
前記ローラ清掃装置は、前記清掃部材を、前記ローラの長手方向の一部に接触させた状態で前記長手方向に沿って移動させる清掃部材移動部を有する、請求項2に記載の基板押圧装置。
【請求項4】
前記ローラ清掃装置は、前記ローラを、前記清掃部材に接触させた状態で回転させるローラ回転部を有する、請求項2または3に記載の基板押圧装置。
【請求項5】
複数の半田プリコートが形成された第1主面およびその反対側の第2主面を有する基板の前記第2主面を下方から支持する基板支持部と、
前記基板支持部に支持された前記基板を前記第1主面側から押圧するローラと、
前記ローラで押圧された前記基板の前記複数の半田プリコートにフラックスを塗布するフラックス塗布部と、
前記ローラの表面を清掃するローラ清掃装置と、
を備える、フラックス塗布装置。
【請求項6】
前記ローラ清掃装置は、前記フラックス塗布部が前記複数の半田プリコートにフラックスを塗布している間に、前記ローラの表面を清掃する、請求項5に記載のフラックス塗布装置。
【請求項7】
前記ローラ清掃装置は、前記ローラの表面に接触する清掃部材を有する、請求項5または6に記載のフラックス塗布装置。
【請求項8】
前記ローラは、その回転軸に沿って延びる形状を有し、
前記ローラ清掃装置は、前記清掃部材を、前記ローラの長手方向の一部に接触させた状態で前記長手方向に沿って移動させる清掃部材移動部を有する、請求項7に記載のフラックス塗布装置。
【請求項9】
前記ローラ清掃装置は、前記ローラを、前記清掃部材に接触させた状態で回転させるローラ回転部を有する、請求項7に記載のフラックス塗布装置。
【請求項10】
複数の半田プリコートが形成された基板の前記複数の半田プリコートを押圧するローラを備える基板押圧装置から取り外された前記ローラを清掃するローラ清掃装置であって、
前記ローラが着脱自在に取り付けられるローラ取付部と、
前記ローラ取付部に取り付けられた前記ローラの表面を清掃するローラ清掃部と、
を備える、ローラ清掃装置。
(【請求項11】以降は省略されています)
発明の詳細な説明
【技術分野】
【0001】
本開示は、基板押圧装置、フラックス塗布装置、ローラ清掃装置、および基板押圧方法に関する。
続きを表示(約 2,000 文字)
【背景技術】
【0002】
従来、基板のランドに半田プリコートを形成した後、半田プリコートにツール(例えば、ローラ)を押し当てる技術が知られている(例えば、特許文献1)。特許文献1には、「基板のランドに電子部品の端子を半田付けする実装基板製造方法であって、前記ランドに半田ペーストを配置するペースト配置工程と、前記半田ペーストを溶融および固化させて前記ランド上に半田のプリコート部を作る溶融固化工程と、前記プリコート部にツールを押し当てることにより前記プリコート部の表面を覆う残渣を破壊する破壊工程と、前記プリコート部にフラックスを配置するフラックス配置工程と、前記電子部品の端子を前記プリコート部に位置合わせした状態で前記電子部品を前記基板に搭載する部品搭載工程と、前記基板を加熱して前記プリコート部を溶融させて前記端子を前記ランドに半田付けするリフロー工程と、を備える、実装基板製造方法」が開示されている。
【先行技術文献】
【特許文献】
【0003】
国際公開第2022/054384号
【発明の概要】
【発明が解決しようとする課題】
【0004】
半田プリコートにローラを押し付ける工程を繰り返し行う場合、半田プリコートの表面から剥がれた異物(例えば、フラックス残渣や半田かす)がローラに付着し、それが次回以降に処理する基板の半田プリコートに付着することがある。半田プリコートに異物が付着すると、部品を適切に搭載することが難しくなったり、短絡現象によって不良品が発生したりするおそれがある。このような状況において、本開示は、半田プリコートへの異物付着を抑制することを目的の1つとする。
【課題を解決するための手段】
【0005】
本開示に係る一局面は、基板押圧装置に関する。前記基板押圧装置は、複数の半田プリコートが形成された第1主面およびその反対側の第2主面を有する基板の前記第2主面を下方から支持する基板支持部と、前記基板支持部に支持された前記基板を前記第1主面側から押圧するローラと、前記ローラの表面を清掃するローラ清掃装置と、を備える。
【0006】
本開示に係る別の一局面は、フラックス塗布装置に関する。前記フラックス塗布装置は、複数の半田プリコートが形成された第1主面およびその反対側の第2主面を有する基板の前記第2主面を下方から支持する基板支持部と、前記基板支持部に支持された前記基板を前記第1主面側から押圧するローラと、前記ローラで押圧された前記基板の前記複数の半田プリコートにフラックスを塗布するフラックス塗布部と、前記ローラの表面を清掃するローラ清掃装置と、を備える。
【0007】
本開示に係る別の一局面は、ローラ清掃装置に関する。前記ローラ清掃装置は、複数の半田プリコートが形成された基板の前記複数の半田プリコートを押圧するローラを備える基板押圧装置から取り外された前記ローラを清掃するローラ清掃装置であって、前記ローラが着脱自在に取り付けられるローラ取付部と、前記ローラ取付部に取り付けられた前記ローラの表面を清掃するローラ清掃部と、を備える。
【0008】
本開示に係る別の一局面は、基板押圧方法に関する。前記基板押圧方法は、複数の半田プリコートが形成された第1主面およびその反対側の第2主面を有する基板の前記第2主面を下方から支持する基板支持工程と、前記支持された前記基板を前記第1主面側からローラで押圧する押圧工程と、前記ローラの表面を清掃するローラ清掃工程と、を備える。
【発明の効果】
【0009】
本開示によれば、半田プリコートへの異物付着を抑制することができる。
【図面の簡単な説明】
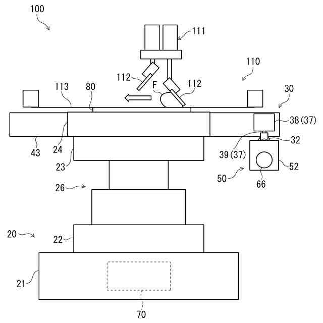
【0010】
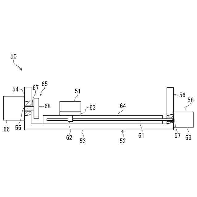
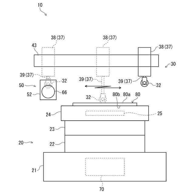
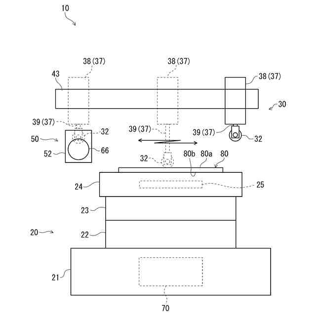
実施形態1の基板押圧装置の構成を概略的に示す正面図である。
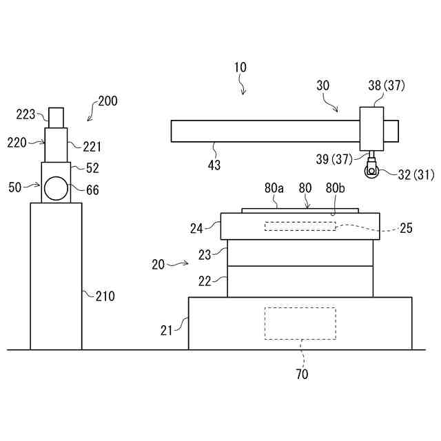
押圧ユニットの構成を概略的に示す側面図である。
清掃ユニットの構成を概略的に示す側面図である。
清掃ユニットの動作を説明するための概略側面図である。
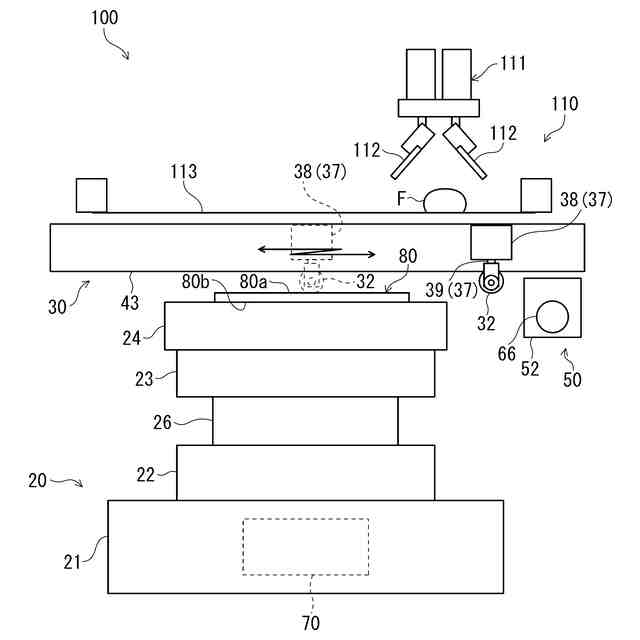
実施形態2のフラックス塗布装置の構成を概略的に示す正面図である。
フラックス塗布装置の動作を説明するための概略正面図である。
実施形態3の基板押圧装置およびローラ清掃装置の構成を概略的に示す正面図である。
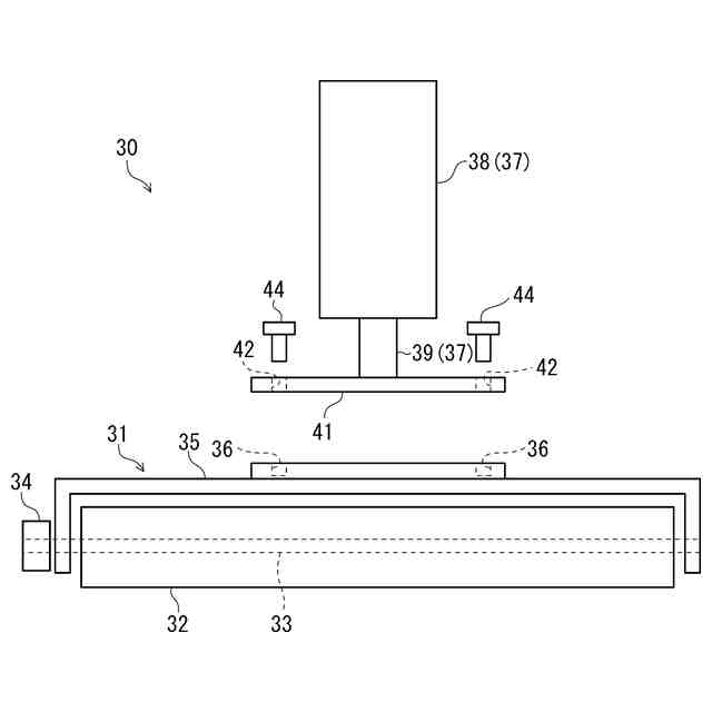
押圧ユニットの構成を概略的に示す側面図である。
押圧ユニットの分解側面図である。
ローラユニットが取り付けられた状態の清掃ユニットを示す概略側面図である。
清掃ユニットの動作を説明するための概略側面図である。
【発明を実施するための形態】
(【0011】以降は省略されています)
この特許をJ-PlatPat(特許庁公式サイト)で参照する
関連特許
個人
電子部品の実装方法
2か月前
個人
非衝突型ガウス加速器
3か月前
日本精機株式会社
回路基板
2か月前
愛知電機株式会社
装柱金具
1か月前
個人
電気式バーナー
1か月前
日星電気株式会社
面状ヒータ
20日前
日本放送協会
基板固定装置
2か月前
キヤノン株式会社
電子機器
2か月前
イビデン株式会社
配線基板
1か月前
アイホン株式会社
電気機器
2か月前
メクテック株式会社
配線基板
3か月前
個人
静電気中和除去装置
1か月前
東レ株式会社
霧化状活性液体供給装置
3か月前
サクサ株式会社
開き角度規制構造
1か月前
株式会社レクザム
剥離装置
1か月前
イビデン株式会社
プリント配線板
2か月前
イビデン株式会社
配線基板
3か月前
サクサ株式会社
筐体の壁掛け構造
3か月前
FDK株式会社
基板
2か月前
シャープ株式会社
加熱機器
1か月前
株式会社デンソー
電子装置
28日前
株式会社デンソー
電子装置
1か月前
株式会社デンソー
電子装置
6日前
富士フイルム株式会社
積層体
1か月前
新電元工業株式会社
電子装置
2か月前
株式会社レゾナック
冷却装置
2か月前
日産自動車株式会社
電子機器
14日前
オムロン株式会社
端子折り曲げ治具
2か月前
日産自動車株式会社
電子部品
2か月前
タイガー魔法瓶株式会社
加熱器
2か月前
株式会社デンソー
電子制御装置
27日前
日本特殊陶業株式会社
配線基板
3か月前
日本無線株式会社
電子機器用密閉構造
3か月前
新光電気工業株式会社
配線基板
2か月前
富士電子工業株式会社
誘導加熱コイル
1か月前
富士電子工業株式会社
誘導加熱コイル
1か月前
続きを見る
他の特許を見る