TOP
|
特許
|
意匠
|
商標
特許ウォッチ
Twitter
他の特許を見る
公開番号
2025176447
公報種別
公開特許公報(A)
公開日
2025-12-04
出願番号
2024082618
出願日
2024-05-21
発明の名称
空調接続構造及び接続方法
出願人
フジモリ産業株式会社
代理人
弁理士法人湧泉特許事務所
主分類
F24F
13/02 20060101AFI20251127BHJP(加熱;レンジ;換気)
要約
【課題】建物の空調設備において、ガラリチャンバーと梁との間が狭隘であっても、空調ダクトとガラリチャンバーとを容易かつ確実に接続可能な空調接続構造を提供する。
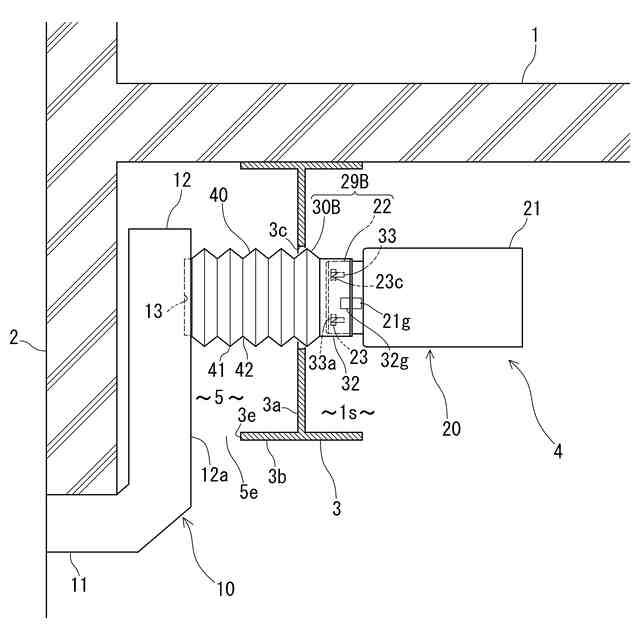
【解決手段】建物1の屋外に臨むガラリチャンバー10に伸縮接続管30を取り付け、該伸縮接続管30を、ガラリチャンバー10の屋内側に近接する梁3の貫通穴3cよりも屋外側に引っ込んだ収縮状態から、貫通穴3cを通して、梁3の屋内側へ突出させた伸長状態へ伸長させる。伸縮接続管30における屋内側を向く端部に設けられたダクト接続部32と、空調ダクト21の端部の接続端管22とを接続する。
【選択図】図3
特許請求の範囲
【請求項1】
建物の屋外に臨むガラリチャンバーと空調ダクトとを、前記ガラリチャンバーの屋内側に近接して架設された梁を通して接続する空調接続構造であって、
前記ガラリチャンバーに取り付けられ、前記梁の貫通穴よりも屋外側に引っ込んだ収縮状態から前記貫通穴を通して前記梁の屋内側へ突出された伸長状態へ伸長可能な伸縮接続管と、
前記伸縮接続管における屋内側を向く端部に設けられ、前記空調ダクトの端部と接続されるダクト接続部と
を備えたことを特徴とする空調接続構造。
続きを表示(約 340 文字)
【請求項2】
前記伸縮接続管が、複数段の入れ子状の筒体を含む請求項1に記載の空調接続構造。
【請求項3】
前記伸縮接続管が、蛇腹管を含む請求項1に記載の空調接続構造。
【請求項4】
建物の屋外に臨むガラリチャンバーと空調ダクトとを、前記ガラリチャンバーの屋内側に近接して架設された梁を通して接続する空調接続方法であって、
前記ガラリチャンバーに取り付けられた伸縮接続管を、前記梁の貫通穴よりも屋外側に引っ込んだ収縮状態から前記貫通穴を通して前記梁の屋内側へ突出させた伸長状態へ伸長させ、
前記伸縮接続管における屋内側を向く端部に設けられたダクト接続部と、前記空調ダクトの端部とを接続することを特徴とする空調接続方法。
発明の詳細な説明
【技術分野】
【0001】
本発明は、建物の空調設備における屋外に臨むガラリチャンバーと空調ダクトとの接続構造及び接続方法に関し、特に、ガラリチャンバーの屋内側に近接して梁が架設された建物構造に適した空調接続構造及び接続方法に関する。
続きを表示(約 1,700 文字)
【背景技術】
【0002】
例えば、特許文献1には、高層オフィスビル等の建物の屋外に臨むように設置されたガラリチャンバーと、屋内に配管された空調ダクトを有する建物用空調設備が記載されている。ガラリチャンバーの屋内側に近接して、鉄骨梁が架設されている。空調ダクトの端部が、鉄骨梁の貫通孔に通されて、ガラリチャンバーの接続管と接続されている。
【先行技術文献】
【特許文献】
【0003】
実用新案登録第3232481号公報(図1)
【発明の概要】
【発明が解決しようとする課題】
【0004】
通常、ガラリチャンバーと鉄骨梁との間には、作業者が空調ダクトとガラリチャンバーとの接続作業を行なうのに十分な開口幅が確保されている。作業者は、ガラリチャンバーと梁との間に体を入れて、空調ダクトの端部を支えながら、接続作業を行なう。
しかし、近年の高層オフィスビル等の建物においては、ガラリチャンバーと梁との間が狭隘で作業者が体を入れにくいケースも増えている。
本発明は、かかる事情に鑑み、ガラリチャンバーと梁との間が狭隘であっても、空調ダクトとガラリチャンバーとを容易かつ確実に接続可能な空調接続構造を提供することを目的とする。
【課題を解決するための手段】
【0005】
前記課題を解決するため、本発明は、建物の屋外に臨むガラリチャンバーと空調ダクトとを、前記ガラリチャンバーの屋内側に近接して架設された梁を通して接続する空調接続構造であって、
前記ガラリチャンバーに取り付けられ、前記梁の貫通穴よりも屋外側に引っ込んだ収縮状態から前記貫通穴を通して前記梁の屋内側へ突出された伸長状態へ伸長可能な伸縮接続管と、
前記伸縮接続管における屋内側を向く端部に設けられ、前記空調ダクトの端部と接続されるダクト接続部と
を備えたことを特徴とする。
【0006】
伸縮接続管を先付けしたガラリチャンバーを建物に設置する際、又は建物に設置したガラリチャンバーに伸縮接続管を後付けする際は、伸縮接続管を収縮状態としておく。これによって、伸縮接続管が梁と干渉するのを回避できる。
ガラリチャンバーと空調ダクトとを接続する際は、伸縮接続管を伸長させて梁の貫通穴を通して梁の屋内側へ突出させる。該伸縮接続管のダクト接続部と空調ダクトの端部とを、梁の屋内側空間で接続する。したがって、ガラリチャンバーと梁との間が狭隘であっても、空調ダクトとガラリチャンバーとを容易かつ確実に接続することができる。
【0007】
好ましくは、前記伸縮接続管が、複数段の入れ子状の筒体を含む。複数段の筒体を互いに出し入れすることによって伸縮接続管が伸縮される。
【0008】
また好ましくは、前記伸縮接続管が、蛇腹管を含む。好ましくは、蛇腹管には、大径環状の山部と小径環状の谷部が管軸に沿って交互に形成されている。山部及び谷部が、管軸方向に膨縮されることによって、伸縮接続管が伸縮される。
【0009】
本発明方法は、建物の屋外に臨むガラリチャンバーと空調ダクトとを、前記ガラリチャンバーの屋内側に近接して架設された梁を通して接続する空調接続方法であって、
前記ガラリチャンバーに取り付けられた伸縮接続管を、前記梁の貫通穴よりも屋外側に引っ込んだ収縮状態から前記貫通穴を通して前記梁の屋内側へ突出させた伸長状態へ伸長させ、
前記伸縮接続管における屋内側を向く端部に設けられたダクト接続部と、前記空調ダクトの端部とを接続することを特徴とする。
【発明の効果】
【0010】
本発明によれば、建物の空調設備において、ガラリチャンバーと梁との間が狭隘であっても、空調ダクトとガラリチャンバーとを容易かつ確実に接続することができる。
【図面の簡単な説明】
(【0011】以降は省略されています)
この特許をJ-PlatPat(特許庁公式サイト)で参照する
関連特許
フジモリ産業株式会社
煙突
1か月前
フジモリ産業株式会社
煙突管理システム
14日前
フジモリ産業株式会社
空調接続構造及び接続方法
今日
個人
集熱器具
27日前
株式会社トヨトミ
五徳
1か月前
株式会社コロナ
空調装置
1か月前
株式会社コロナ
空調装置
1か月前
個人
UFO型空気清浄機
15日前
株式会社コロナ
空調装置
3か月前
株式会社コロナ
空調装置
2か月前
株式会社コロナ
空調装置
2か月前
株式会社コロナ
加湿装置
2か月前
個人
油ハネ防止カーテン
1か月前
株式会社コロナ
空調装置
1か月前
個人
住宅換気空調システム
3か月前
株式会社コロナ
空気調和機
3か月前
個人
太陽光パネル傾斜装置
1か月前
株式会社コロナ
風呂給湯機
2か月前
株式会社コロナ
貯湯式給湯機
2か月前
株式会社コロナ
暖房システム
2か月前
株式会社コロナ
温水暖房装置
1か月前
個人
シンプルクーラー
1か月前
株式会社コロナ
直圧式給湯機
3か月前
株式会社コロナ
貯湯式給湯機
2か月前
三菱電機株式会社
換気扇
7日前
株式会社コロナ
輻射式冷房装置
3か月前
三菱電機株式会社
換気扇
1か月前
ホーコス株式会社
換気扇取付枠
2か月前
三菱電機株式会社
換気扇
1か月前
三菱電機株式会社
換気扇
1か月前
株式会社ノーリツ
温水装置
1か月前
株式会社トヨトミ
固体燃料燃焼器
14日前
株式会社パロマ
ガスコンロ
1か月前
株式会社パロマ
ガスコンロ
1か月前
個人
籾殻(そば殻)燃焼ストーブ
3か月前
株式会社ツインバード
加熱調理器
2か月前
続きを見る
他の特許を見る