TOP
|
特許
|
意匠
|
商標
特許ウォッチ
Twitter
他の特許を見る
公開番号
2025170955
公報種別
公開特許公報(A)
公開日
2025-11-20
出願番号
2024075827
出願日
2024-05-08
発明の名称
煙突管理システム
出願人
フジモリ産業株式会社
代理人
弁理士法人湧泉特許事務所
主分類
E04H
12/28 20060101AFI20251113BHJP(建築物)
要約
【課題】煙突の変状を早期に発見して劣化損傷が軽度なうちに対処を促すことができる煙突管理システムを提供する。
【解決手段】煙突管理システム9は、煙突3又は煙突3の周辺に設けられ、煙突3の健全度と相関する物理量を検知する物理量検知手段10と、物理量検知手段10の検知情報に基づいて健全度を解析する解析部22aを含む情報処理手段20と、解析部22aによる解析結果を含む解析情報を報知する報知手段30とを備えている。
【選択図】 図1
特許請求の範囲
【請求項1】
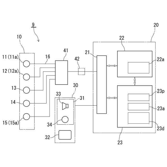
煙突又は煙突の周辺に設けられ、前記煙突の健全度と相関する物理量を検知する物理量検知手段と、
前記物理量検知手段の検知情報に基づいて前記健全度を解析する解析部を含む情報処理手段と、
前記解析部による解析結果を含む解析情報を報知する報知手段と、
を備えたことを特徴とする煙突管理システム。
続きを表示(約 430 文字)
【請求項2】
前記物理量検知手段が、振動センサ、温度センサ、濃度センサ、漏水センサのうち少なくとも1つを含む請求項1に記載の煙突管理システム。
【請求項3】
前記振動センサが、加速度センサ又は音圧センサを含む請求項2に記載の煙突管理システム。
【請求項4】
前記温度センサ又は前記濃度センサが、前記煙突を囲む吹き抜けシャフトの頂部の開放口又は該開放口の周辺に設けられている請求項2に記載の煙突管理システム。
【請求項5】
前記漏水センサが、漏水検知帯を含む請求項2に記載の煙突管理システム。
【請求項6】
前記情報処理手段が、前記検知情報を蓄積するデータロガーを含む請求項1~5の何れか1項に記載の煙突管理システム。
【請求項7】
前記物理量検知手段には前記検知情報を前記情報処理手段へ伝送する伝送部が接続されている請求項1~5の何れか1項に記載の煙突管理システム。
発明の詳細な説明
【技術分野】
【0001】
本発明は、煙突を管理するシステムに関し、特に商業ビルなどの建物に設置された煙突に適した管理システムに関する。
続きを表示(約 1,400 文字)
【背景技術】
【0002】
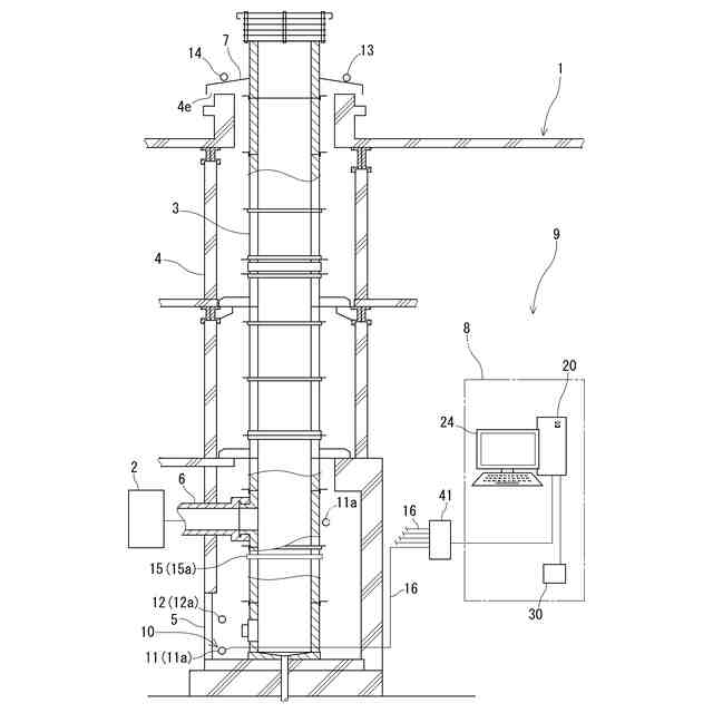
一般に、ボイラーや発電機等の排ガス発生を伴う設備が有る建物には、排ガスを放出するための煙突が設けられている。例えば、建物内に吹き抜けシャフトが設けられ、該吹き抜けシャフト内に煙突が収容されている(特許文献1等参照)。
【0003】
特許文献2には、煙突内にカメラ付きの点検装置を吊り降ろして、煙突の内周部を点検するシステムが開示されている。
【先行技術文献】
【特許文献】
【0004】
特開2023-102085号公報
特開2015-224447号公報
【発明の概要】
【発明が解決しようとする課題】
【0005】
煙突は長期間にわたって点検及び補修されずに供用されると劣化損傷が進む。その結果、例えば煙突の壁材の一部が剥がれ落ちたり、煙突の中途部から漏煙したり、漏水したり、煙突の周辺部材が焼損したりすることがあった。一方、特に建物内の煙突は目立たないために、劣化損傷が深刻な状況になるまで気付かないことがあった。
本発明は、かかる事情に鑑み、煙突の異常、劣化、損傷等の変状を早期に発見して変状が軽度なうちに対処を促すことができる煙突管理システムを提供することを目的とする。
【課題を解決するための手段】
【0006】
前記課題を解決するため、本発明は、煙突管理システムであって、
煙突又は煙突の周辺に設けられ、前記煙突の健全度と相関する物理量を検知する物理量検知手段と、
前記物理量検知手段の検知情報に基づいて前記健全度を解析する解析部を含む情報処理手段と、
前記解析部による解析結果を含む解析情報を報知する報知手段と、
を備えたことを特徴とする。
【0007】
好ましくは、前記物理量検知手段が、振動センサ、温度センサ、濃度センサ、漏水センサのうち少なくとも1つを含む。
好ましくは、前記振動センサが、加速度センサ又は音圧センサを含む。
好ましくは、前記温度センサ又は前記濃度センサが、前記煙突を囲む吹き抜けシャフトの頂部の開放口又は該開放口の周辺に設けられている。
好ましくは、前記漏水センサが、漏水検知帯を含む。
【0008】
好ましくは、前記情報処理手段が、前記検知情報を蓄積するデータロガーを含む。
好ましくは、前記物理量検知手段には前記検知情報を前記情報処理手段へ伝送する伝送部が接続されている。
好ましくは、前記報知手段は、前記解析部による解析結果に応じて作動する発報手段又は前記解析部による解析情報を表示する表示手段を含む。
【発明の効果】
【0009】
本発明によれば、煙突の変状を早期に発見でき、変状が軽度なうちに適切な対処を促すことができる。
【図面の簡単な説明】
【0010】
図1は、本発明の一実施形態に係る煙突管理システムが構築された煙突を含む建物の正面断面図である。
図2は、前記管理システムのブロック図である。
図3は、前記管理システムの動作を説明したフローチャートである。
【発明を実施するための形態】
(【0011】以降は省略されています)
この特許をJ-PlatPat(特許庁公式サイト)で参照する
関連特許
フジモリ産業株式会社
煙突
1か月前
フジモリ産業株式会社
滅菌容器蓋
1か月前
フジモリ産業株式会社
煙突管理システム
14日前
フジモリ産業株式会社
空調接続構造及び接続方法
今日
個人
接合構造
1か月前
個人
屋台
2か月前
個人
タッチミー
1か月前
個人
野良猫ハウス
3か月前
個人
転落防止用手摺
2か月前
個人
安心補助てすり
1か月前
個人
フェンス
3か月前
個人
地下型マンション
5か月前
個人
ベンリナアングル
1か月前
個人
居住車両用駐車場
3か月前
ニチハ株式会社
建築板
3か月前
個人
筋交自動設定装置
2か月前
積水樹脂株式会社
柵体
2か月前
個人
熱抵抗多層断熱建材
3か月前
株式会社タナクロ
テント
5か月前
個人
鋼管結合資材
5か月前
個人
柵
3か月前
個人
補強部材
3か月前
株式会社シンケン
住宅
1か月前
成友建設株式会社
建物
3か月前
個人
身体用シェルター
2か月前
個人
循環流水式屋根融雪装置
5か月前
個人
身体用シェルター
2か月前
鹿島建設株式会社
壁体
3か月前
個人
防災建築物
1か月前
イワブチ株式会社
組立柱
2か月前
三協立山株式会社
構造体
2か月前
三協立山株式会社
構造体
2か月前
三協立山株式会社
構造体
2か月前
三協立山株式会社
構造体
2か月前
三協立山株式会社
構造体
2か月前
三協立山株式会社
構造体
2か月前
続きを見る
他の特許を見る